GM Service Manual Online
For 1990-2009 cars only

Removal Procedure


    Object Number: 244994  Size: SH
  1. Remove the headlining trim finish panel. Refer to Headlining Trim Panel Replacement in Interior Trim.
  2. Remove the following components from the vehicle:
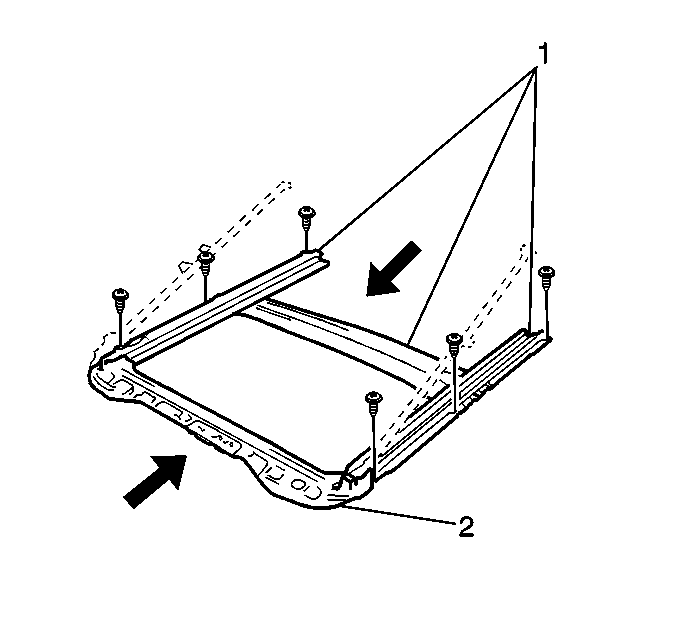
  3. • The 2 screws (2) from each side of the sunroof window
    • The sunroof window (1)

    Object Number: 244914  Size: SH
  4. Remove the following components from the sunroof housing:
  5. • The 2 screws
    • The sunroof air deflector (1)

    Object Number: 244969  Size: SH
  6. Disconnect the sunroof control module and sunroof actuator electrical connectors.
  7. Important: Remove the sunroof actuator with the motor in the fully closed position.

  8. Remove the following components from the vehicle:
  9. • The 3 bolts (1)
    • The sunroof actuator (4)

    Object Number: 328739  Size: MH

    Important: If the sunroof window and the sunroof actuator full close position are not matched, the sunroof window will not operate properly.

  10. Remove the following components from the sunroof actuator (3):
  11. • The screw
    • The cam plate cover (2)
  12. Turn the actuator drive gear (1) to align the point marks.
  13. Install the cam plate cover (2) to the sunroof motor. Secure the cover with 1 screw.

  14. Object Number: 244904  Size: SH
  15. Loosen the 4 sunroof housing drain hose clamps.
  16. Remove the 4 sunroof housing drain hoses (2) from the sunroof housing (1).

  17. Object Number: 395047  Size: SH
  18. Remove the following components from the vehicle:
  19. • The 2 plastic retainers (2) which secure each of the side rail roof panel insulators
    • The 2 side rail roof panel insulators (1)
  20. Remove the dome lamp wiring harness from the 2 hangers on the sunroof housing.

  21. Object Number: 244933  Size: SH
  22. Remove the following components from the vehicle:
  23. • The 8 bolts
    • The 4 brackets (1)
    • The 6 nuts
    • The sunroof housing (2)

    Object Number: 395022  Size: SH
  24. Remove the following components from the sunroof housing:
  25. • The screw (2) from each stop (1)
    • The 2 sunroof sunshade stops
    • The sunroof sunshade

    Object Number: 395024  Size: SH
  26. Remove the sunroof housing rear support (1) by sliding the support from the sunroof housing (2).

  27. Object Number: 244960  Size: SH
  28. Remove the 2 screws which secure each sunroof guide block (1) to the sunroof housing (2).

  29. Object Number: 244895  Size: SH
  30. Remove the following components from the sunroof housing (2):
  31. • The 6 screws
    • The sunroof housing front support (1)
    • The sunroof guide blocks

    Object Number: 244937  Size: SH
  32. Slide each drive cable bracket (1) forward, with the actuator cable attached, out of the sunroof housing (2) guide rails.

Installation Procedure


    Object Number: 395042  Size: SH
  1. Slide each drive cable bracket (1) rearward, with the actuator cable attached, into the sunroof housing (2) guide rails. Make sure the outer guide pins are inserted into the housing guide rail slots.

  2. Object Number: 244929  Size: SH
  3. Install the sunroof guide blocks to the housing.
  4. Install the sunroof housing front support (1) to the sunroof housing (2). Secure the support with the 6 screws.

  5. Object Number: 244960  Size: SH
  6. Install the 2 screws which secure each sunroof guide block (1) to the sunroof housing (2).

  7. Object Number: 395046  Size: SH
  8. Install the sunroof housing rear support (1) by sliding the support into the sunroof housing (2).

  9. Object Number: 395022  Size: SH
  10. Install the sunroof sunshade to the sunroof housing. Secure the sunshade with the following components:
  11. • The 2 sunroof sunshade stops
    • The screw (2) which secures each stop (1)

    Object Number: 244933  Size: SH
  12. Install the sunroof housing (2) to the vehicle. Secure the housing with the 6 nuts.
  13. Notice: Use the correct fastener in the correct location. Replacement fasteners must be the correct part number for that application. Fasteners requiring replacement or fasteners requiring the use of thread locking compound or sealant are identified in the service procedure. Do not use paints, lubricants, or corrosion inhibitors on fasteners or fastener joint surfaces unless specified. These coatings affect fastener torque and joint clamping force and may damage the fastener. Use the correct tightening sequence and specifications when installing fasteners in order to avoid damage to parts and systems.

  14. Install the 4 brackets (1) which secure the housing. Secure the brackets with the 8 bolts.
  15. Tighten
    Tighten the sunroof housing nuts and bolts to 20 N·m (15 lb ft).


    Object Number: 395047  Size: SH
  16. Install the dome lamp wiring harness to the 2 hangers on the sunroof housing.
  17. Install the 2 side rail roof panel insulators (1) to roof panel. Secure each of the insulators with 2 plastic retainers (2).

  18. Object Number: 244904  Size: SH
  19. Install the 4 sunroof housing drain hoses to the sunroof housing (1). Secure each drain hose (2) with the hose clamp.

  20. Object Number: 244969  Size: SH
  21. Install the sunroof actuator (4) to the roof panel. Secure the actuator with the 3 bolts (1).
  22. Tighten
    Tighten the sunroof actuator bolts to 5.4 N·m (48 lb in).

  23. Connect the sunroof actuator and sunroof control module electrical connectors.

  24. Object Number: 244914  Size: SH
  25. Install the sunroof air deflector (1) to the sunroof housing. Secure the deflector with the 2 screws.

  26. Object Number: 244994  Size: SH
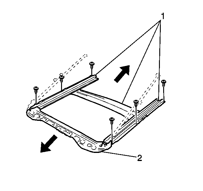
  27. Install the sunroof window (1) to the vehicle. Secure the window with 2 screws (2) at each side. Do not tighten fully.
  28. Adjust the sunroof window as necessary. Refer to Sunroof Window Height and Opening Fit Adjustment .
  29. Install the headlining trim finish panel. Refer to Headlining Trim Panel Replacement in Interior Trim.