GM Service Manual Online
For 1990-2009 cars only
Makes
🢒
Chevrolet
🢒
2001
🢒
Prizm
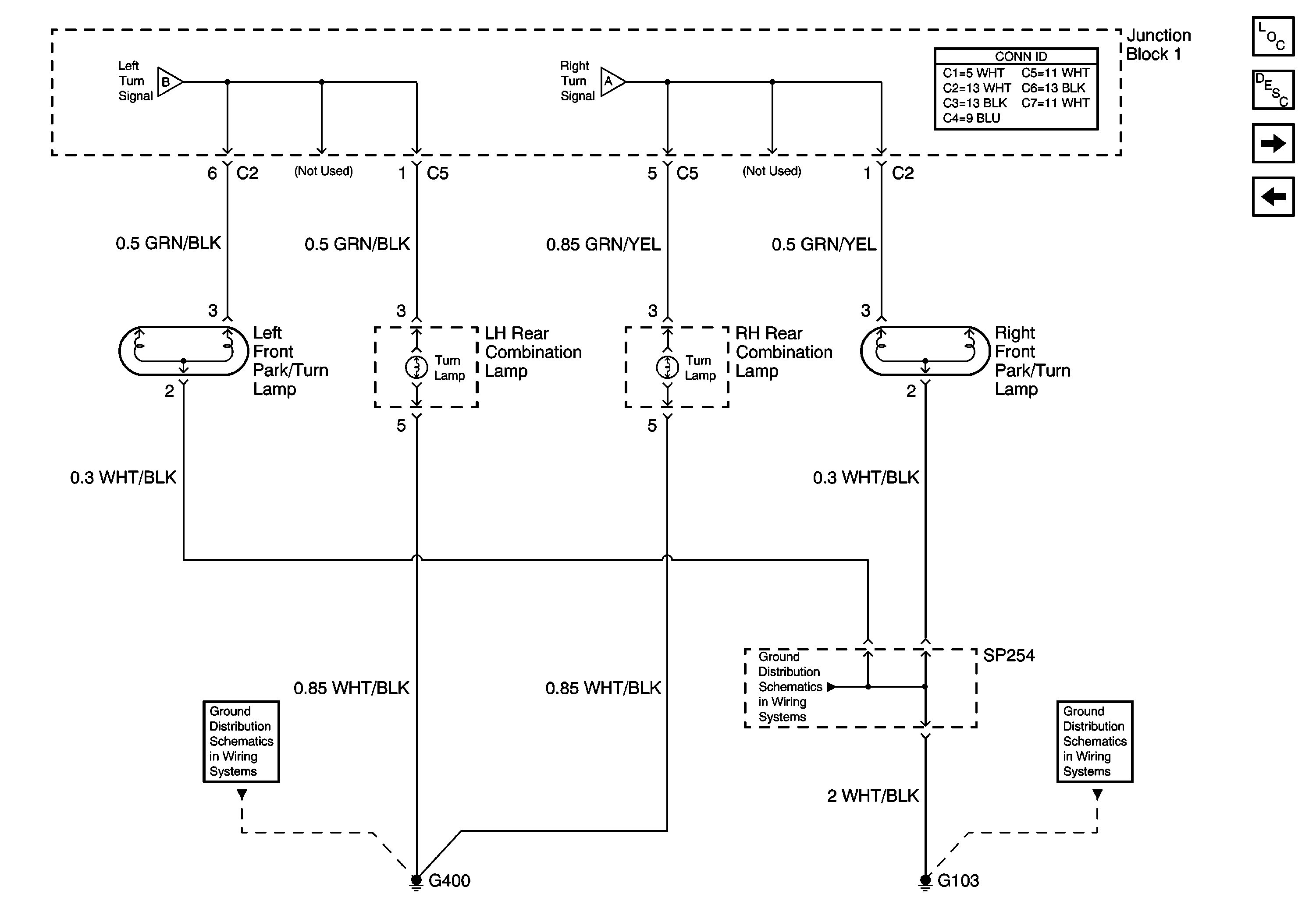
🢒 Left Front Park/Turn Lamp, and LH Rear Combination Lamp
Left Front Park/Turn Lamp, and LH Rear Combination Lamp
Left Front Park/Turn Lamp, and LH Rear Combination Lamp
Master Electrical Component List
Exterior Lighting Systems Description and Operation
Cruise Control Module, Shift Lock Control Module, and Stoplamp Switch
Hazard Switch
G100, G101, G102, G103, and G104
SP 254 and SP261
G300, G301, G400, and SP451
Hazard Switch
Hazard Switch