GM Service Manual Online
For 1990-2009 cars only

Tools Required

J 43178 Fuel Line Quick Connect Separator

Removal Procedure


    Object Number: 621681  Size: SH
  1. Remove the 2 fasteners.
  2. Remove the 2 plastic retainers.
  3. Remove the engine cover (1) from the engine.
  4. Relieve the fuel pressure. Refer to Fuel Pressure Relief .
  5. Remove the quick connect coupling cover.

  6. Object Number: 236747  Size: SH
  7. Disconnect the coupling for the fuel feed hose from the fuel feed pipe of the fuel rail using the J 43178 . Use a shop towel in order to catch any remaining fuel that may leak. Refer to Metal Collar Quick Connect Fitting Service .

  8. Object Number: 623829  Size: SH
  9. Remove the fastener (1) from the throttle valve (TV) cable bracket.
  10. Slide the TV cable and the bracket away from the fuel rail assembly.
  11. Disconnect the electrical connectors from the fuel injectors (4).

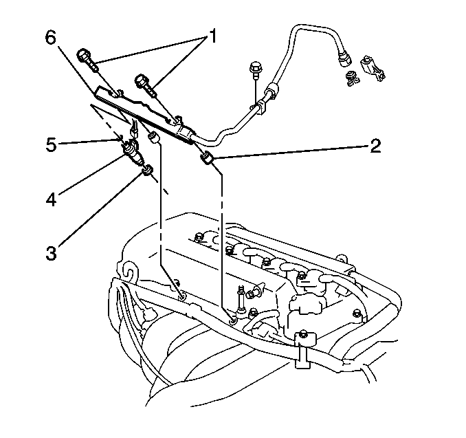
  12. Object Number: 621678  Size: SH
  13. Remove the fasteners (1) from the fuel rail (6).
  14. Remove the fuel rail (6) and the spacers (2) from the engine.
  15. Remove the fuel injectors (4) with the O-rings (5) and with the grommets (3).

Installation Procedures


    Object Number: 621678  Size: SH
  1. Install new O-rings (5) and new grommets (3) on the fuel injectors (4).
  2. Apply clean engine oil to the O-rings (5) and to the grommets (3).
  3. Install the fuel injectors (4) into the fuel rail.
  4. Install the fuel rail (6) and the spacers (2) onto the engine.
  5. Notice: Use the correct fastener in the correct location. Replacement fasteners must be the correct part number for that application. Fasteners requiring replacement or fasteners requiring the use of thread locking compound or sealant are identified in the service procedure. Do not use paints, lubricants, or corrosion inhibitors on fasteners or fastener joint surfaces unless specified. These coatings affect fastener torque and joint clamping force and may damage the fastener. Use the correct tightening sequence and specifications when installing fasteners in order to avoid damage to parts and systems.

  6. Secure the fuel rail to the engine with the 2 fasteners (1).
  7. Tighten
    Tighten the fasteners to 18.5 N·m (13 lb ft).


    Object Number: 623829  Size: SH
  8. Install the TV cable and the bracket to the engine with the fastener (1).
  9. Tighten
    Tighten the fastener to 8.8 N·m (77 lb in).


    Object Number: 624247  Size: SH
  10. Connect the quick-connect fitting (1) for the fuel feed hose to the fuel feed pipe (2) of the fuel rail. Refer to Metal Collar Quick Connect Fitting Service .
  11. Install the quick connect coupling cover.
  12. Connect the negative battery cable.
  13. Turn ON the ignition in order to pressurize the fuel system.
  14. Turn OFF the ignition.
  15. Inspect for fuel leaks.
  16. Repair any fuel leaks as necessary.

  17. Object Number: 621681  Size: SH
  18. Install the engine cover (1).
  19. Secure the engine cover (1) with the 2 fasteners.
  20. Tighten
    Tighten the two fasteners to 8.8 N·m (77 lb in).

  21. Install the 2 plastic retainers.