GM Service Manual Online
For 1990-2009 cars only

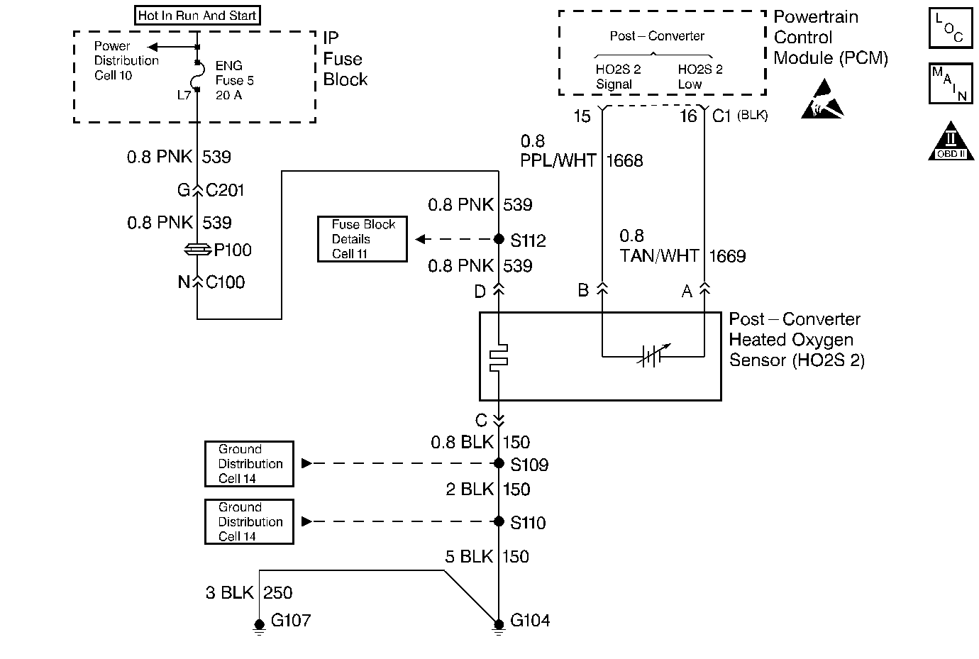
Object Number: 29972  Size: MF
Handling ESD Sensitive Parts Notice
Engine Controls Components
Pre and Post Oxygen Sensors
OBD II Symbol Description Notice

Circuit Description

The PCM has the ability to monitor this process by using a rear Heated Oxygen Sensor (HO2S 2). The rear HO2S 2, located in the exhaust stream past the catalytic converter, produces an output signal relative to the oxygen storage capacity of the catalytic converter. The PCM then calculates the ability of the catalytic converter to convert the exhaust emissions effectively. Whenever the catalytic converter is functioning properly, the rear HO2S 2 signal will be far less active than the signal produced by the front Oxygen Sensor 1(O2S 1).

Conditions for Setting the DTC

    • The Throttle Position (TP) angle is between 5 % and 51 % (auto).
    • The Throttle Position (TP) angle is between 10 % and 51 % (manual).
    • The Air Fuel (A/F) Ratio is between 14.5:1 and 14.7:1.
    • The engine coolant temperature is greater than 40° C (158° F).
    • The vehicle is in a Closed Loop.
    • The rear HO2S 2 remains greater than 1042 mV 75 seconds
    • The engine run time is greater than 30 seconds
    • When one or more of the following DTCs are not set P0107, P0108, P0112, P0113, P0117, P0118, P0121, P0122, P0123, P0300-P0304, P0506, P0507, P01406, P1441.

Action Taken When the DTC Sets

    • The Malfunction Indicator Lamp (MIL) illuminates after 2 consecutive ignition cycles in which the diagnostic runs with the fault active.
    • The PCM records the operating conditions at the time the diagnostic fails. The Freeze Frame and Failure Records buffers stores this information.
    • A history DTC is stored.

Conditions for Clearing the MIL/DTC

    • The malfunction indicator lamp (MIL) will turn OFF after 3 consecutive ignition cycles in which the diagnostic runs without a fault.
    • A history DTC will clear after 40 consecutive warm up cycles without a fault.
    • Use a scan tool to clear the DTCs.

Diagnostic Aids

Whenever the oxygen sensor pigtail wiring, connector or terminal are damaged, the entire oxygen sensor assembly must be replaced. Do not attempt to repair the wiring, connector or terminals. In order for the sensor to function properly, the O2S must have a clean air reference. This clean air reference is obtained by way of the oxygen sensor wires. Any attempt to repair the wires, connectors or terminals could result in the obstruction of the air reference and degrade the performance of the oxygen sensor.

Check for the following conditions:

    • A rich exhaust - An overly rich exhaust may load the catalytic converter causing high rear HO2S 2 signal voltages.
    • A silicone contamination - A silicone contamination of the rear HO2S 2 may cause a false rich condition. A powdery white deposit on the rear HO2S 2 will indicate this condition.
    • A faulty HO2S 2 - Whenever the rear HO2S 2 is internally shorted, the rear HO2S 2 voltage displayed on a scan tool will be over 1.0 volt. Disconnect the rear HO2S 2 . Jumper the rear HO2S low circuit to the engine ground. Whenever the rear HO2S 2 voltage goes from 100 mV to around 450 mV, replace the rear HO2S 2.
    • An intermittent test - Observe the rear HO2S 2 on a scan tool while moving the related connectors and wiring harness with the key ON. Whenever the fault is induced, the rear HO2S 2 display will change. This may help isolate the location of the malfunction.
    • A damaged harness - Inspect the PCM harness for a short to voltage in the rear HO2S 2 low circuit.

Test Description

The numbers below refer to the step numbers on the diagnostic table.

  1. The Powertrain OBD System Check prompts the technician to complete some basic checks and store the Freeze Frame Data and the Failure records on the scan tool if applicable. This creates an electronic copy of the data taken when the fault occurred. This information on the scan tool can be referred to later.

  2. This step determines if DTC P0138 is the result of a hard fault or an intermittent condition.

  3. Disconnecting the rear HO2S 2 and jumpering the rear HO2S 2 low circuit and the rear HO2S 2 high circuit to a ground should cause the scan tool to display the rear HO2S 2 voltage below 0.2 volt (200 mV). When the signal voltage remains high, then the PCM is faulty.

  4. Before replacing the PCM, check terminals for improper mating, broken locks, or physical damage to the wiring harness. Reprogram the replacement PCM. Refer to the latest Techline information for programming procedures.

Step

Action

Value(s)

Yes

No

1

Was the Powertrain On-Board Diagnostic System Check performed?

--

Go to Step 2

Go to Powertrain On Board Diagnostic (OBD) System Check

2

  1. Turn the ignition ON leaving the engine OFF.
  2. Install a scan tool.

Does the scan tool display indicate the HO2S 2 sensor voltage above the specified value?

1042 mV (1.042 V)

Go to Step 4

Go to Step 3

3

  1. Turn the ignition ON leaving the engine OFF.
  2. Review the Freeze Frame data.
  3. Make a note of the parameters.
  4. Operate the vehicle within the Freeze Frame conditions and conditions for setting the DTC as noted.

Is the HO2S 2 voltage above the specified value?

1042 mV (1.042V)

Go to Step 4

Go to Step 9

4

  1. Turn the ignition OFF.
  2. Disconnect the HO2S 2 electrical connector.
  3. Disconnect the PCM electrical connectors.
  4. With a DVM connected to a ground, probe the HO2S 2 high signal circuit.

Does the DVM indicate a voltage of the specified value?

0 V (± 0.5)

Go to Step 5

Go to Step 6

5

  1. Reconnect the PCM electrical connectors.
  2. Turn the ignition ON leaving the engine OFF.
  3. Jumper the high and low circuits at the HO2S 2 electrical connector (PCM side) to a ground.

Does the scan tool indicate HO2S 2 voltage below the specified value?

100 mV (0.10 V)

Go to Step 7

Go to Step 8

6

Repair the short to voltage in the HO2S 2 high circuit. Refer to Wiring Repairs in Engine Electrical.

Is the action complete?

--

Go to Step 9

--

7

Replace the HO2S 2. Refer to Heated Oxygen Sensor Replacement .

Is the action complete?

--

Go to Step 9

--

8

Replace the PCM. Refer to Powertrain Control Module Replacement/Programming .

Is the action complete?

--

Go to Step 9

--

9

  1. Using the scan tool, clear the DTCs.
  2. Start the Engine.
  3. Allow the engine to idle until the engine reaches the specified temperature.
  4. Operate the vehicle within the conditions for setting this DTC as specified in the supporting text.

Does the scan tool indicate that this diagnostic ran and passed?

90°-95° C

Go to Step 10

Go to Step 2

10

Check if any additional DTCs are set.

Are any DTCs displayed that have not been diagnosed?

--

Go to the Applicable DTC Table

System OK