GM Service Manual Online
For 1990-2009 cars only

Object Number: 30061  Size: SF
Handling ESD Sensitive Parts Notice
Engine Controls Components
IAC Valve, Shift Indicator Lamp, and PNP Switch
OBD II Symbol Description Notice

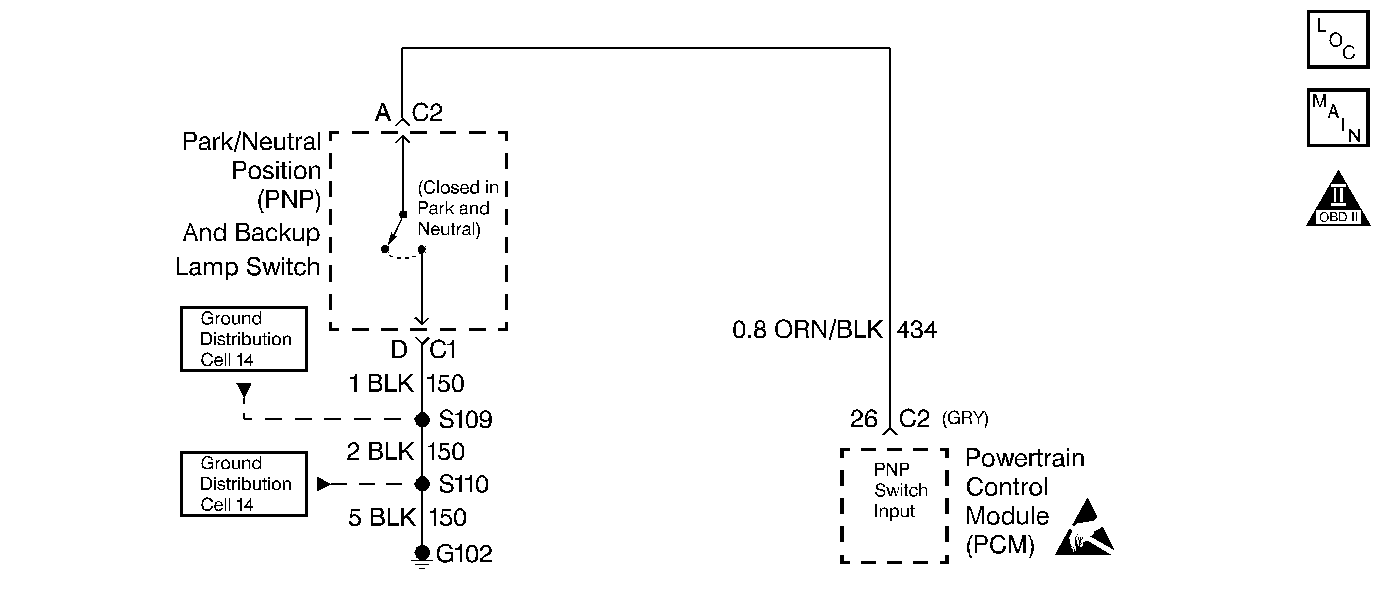
Circuit Description

The PCM supplies ignition voltage to the Park/Neutral Position(PNP) switch through the signal circuit. The contacts inside the switch open whenever the voltage is greater than 1 V. The Transmission Range position (TR) switch contacts should remain closed whenever the transmission is in park or neutral. The contacts will open whenever in the drive and reverse ranges.

Conditions for Setting the DTC

    • The Engine Speed is between 1600 and 2800 RPM.
    • The TP Sensor is between 7 and 26%.
    • The vehicle speed is greater than 40 MPH.
    • The PNP switch shows P/N without change since startup.
    • One or more of the following DTCs are not set P0121, P0122, P0123, P0335, P0502, or P0503.

or

    • The PNP switch shows P/N regardless of range selected.
    • The above condition is present for 27 seconds.

Action Taken When the DTC Sets

    • The Malfunction Indicator Lamp (MIL) illuminates after 2 consecutive ignition cycles in which the diagnostic runs with the fault active.
    • The PCM records the operating conditions at the time the diagnostic fails. The Freeze Frame and Failure Records buffers stores this information.
    • A history DTC is stored.

Conditions for Clearing the MIL/DTC

    • The malfunction indicator lamp (MIL) will turn OFF after 3 consecutive ignition cycles in which the diagnostic runs without a fault.
    • A history DTC will clear after 40 consecutive warm up cycles without a fault.
    • Use a scan tool to clear the DTCs.

Diagnostic Aids

    • An intermittent problem may be caused by a poor connection, rubbed through wire insulation, or a wire that is broken inside the insulation.
    • Any circuitry, that is suspected as causing the intermittent complaint, should be thoroughly checked for the following conditions:
       - Backed out terminals
       - Improper mating of the terminals
       - Broken locks
       - Improperly formed or damaged terminals
       - Poor terminal to wiring connections
       - Physical damage to the wiring harness

Test Description

The numbers below refer to the step numbers on the diagnostic table.

  1. The Powertrain OBD System Check prompts the Technician to complete some basic checks and store the Freeze Frame Data and the Failure Records on the scan tool if applicable. This creates an electronic copy of the data taken when the fault occurs. Refer to this information on the scan tool later.

  2. Before replacing the PCM, check the terminals for improper mating, broken locks, or physical damage to the wiring harness. Replacement PCM's must be reprogrammed. Refer to the latest Techline information for programming procedures.

Step

Action

Value(s)

Yes

No

1

Was the Powertrain On-Board Diagnostic (OBD) System Check performed?

--

Go to Step 2

Go to Powertrain On Board Diagnostic (OBD) System Check

2

  1. Shift the transaxle/tranmission into Park.
  2. Install a scan tool.

Does the scan tool display the specified value?

P-N

Go to Step 3

Go to Step 5

3

Shift the transaxle/transmission into Drive.

Does the scan tool display the specified value?

R-D-L

System OK, refer to Diagnostic Aids

Go to Step 4

4

Disconnect the Park Neutral Position (PNP) switch.

Does the scan tool display the specified value?

R-D-L

Go to Step 11

Go to Step 9

5

  1. Disconnect the PNP switch electrical connector.
  2. Use a fused jumper.
  3. Jumper terminal A to the ground circuit at the harness.

Does the scan tool display the specified value?

P-N

Go to Step 11

Go to Step 6

6

Use a fused jumper in order to jumper the PNP switch input circuit to an external ground.

Does the scan tool display the specified value?

P-N

Go to Step 7

Go to Step 8

7

Repair the open in the ground circuit. Refer to Wiring Repairs in Engine Electrical.

Is the action complete?

--

Go to Step 13

--

8

  1. Check the PNP switch input circuit for an open or short.
  2. Repair if necessary. Refer to Wiring Repairs in Engine Electrical.

Was a problem found?

--

Go to Step 13

Go to Step 12

9

  1. Check the PNP switch input circuit for a short to ground.
  2. Repair if necessary. Refer to Wiring Repairs in Engine Electrical.

Was a problem found?

--

Go to Step 13

Go to Step 10

10

Replace the PCM.

Is the action complete?

--

Go to Step 13

--

11

  1. Check the adjustment on the PNP switch.
  2. Adjust if necessary.

Was a problem found?

--

Go to Step 13

Go to Step 12

12

Replace the Park Neutral Position (PNP) switch.

Is the action complete?

--

Go to Step 13

--

13

  1. Using the scan tool, clear the DTCs.
  2. Start the Engine.
  3. Allow the engine to idle until the engine reaches the specified temperature.
  4. Operate the vehicle within the conditions for setting this DTC as specified in the supporting text.

Does the scan tool indicate that this diagnostic ran and passed?

90°-95° C

Go to Step 14

Go to Step 2

14

Check if any additional DTCs are set.

Are any DTCs displayed that have not been diagnosed?

--

Go to the Applicable DTC Table

System OK