GM Service Manual Online
For 1990-2009 cars only

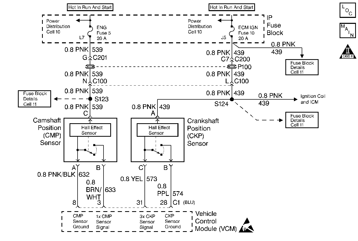
Object Number: 31366  Size: MF
Handling ESD Sensitive Parts Notice
Engine Controls Components
CMP, CKP, ICM, and the Ignition Coil
OBD II Symbol Description Notice

Circuit Description

The Crankshaft Position (CKP) sensor sends a reference signal to the Vehicle Control Module (VCM) in order to indicate the crankshaft position and the RPM so that the VCM can determine when to pulse the ignition coil, the fuel injectors, and the control ignition timing. This is a type D DTC.

Conditions for Setting the DTC

The following conditions will set the DTC:

    • The Crankshaft Position sensor signal is missing for at least 0.5 seconds.
    • The engine cranking and the VCM receives 4 or more CAM Shaft Position signals without a Crankshaft Position sensor signal.

Action Taken When the DTC Sets

The VCM stores the DTC in History if the VCM detects an intermittent problem.

Conditions for Clearing the MIL/DTC

A history DTC will clear if no fault conditions have been detected for 40 warm-up cycles (the coolant temperature has risen 40°F from the start-up coolant temperature and the engine coolant temperature exceeds 160°F during that same ignition cycle) or the scan tool clearing feature has been used.

Diagnostic Aids

A poor connection, rubbed through wire insulation, or a wire that is broken inside the insulation may cause an intermittent.

Throroughly check any circuitry that is suspected of causing the intermittent complaint. Check for the following conditions:

    • Backed out terminals
    • Improper mating
    • Broken locks
    • Improperly formed or damaged terminals
    • Poor terminal to wiring connections or
    • Physical damage to the wiring harness

Refer to Intermittent Conditions .

Test Description

The numbers below refer to the step numbers on the diagnostic table.

  1. This step determines if the VCM is receiving the Crankshaft Position sensor pulses.

  2. This step checks the ignition feed circuit to the Crankshaft Position sensor.

  3. This step checks the Crankshaft Position sensor low circuit.

  4. This step checks the Crankshaft Position Sensor.

Step

Action

Value(s)

Yes

No

1

Important:  Before clearing the DTCs, use the scan tool to record the Freeze Frame and the Failure Records for reference. This data will be lost when the Clear Info function is used.

Was the Powertrain On-Board Diagnostic (OBD) System Check performed?

--

Go to Step 2

Go to Powertrain On Board Diagnostic (OBD) System Check

2

Does the vehicle start and continue to run?

--

Go to Diagnostic Aids

Go to Step 3

3

  1. Disconnect the Crankshaft Position (CKP) sensor.
  2. Connect a test light to ground.
  3. Turn the ignition ON.
  4. Probe the Crankshaft Position sensor ignition feed circuit at the engine side of the CKP sensor harness connector.

Is the test light ON?

--

Go to Step 4

Go to Step 6

4

Connect the test light between the CKP sensor ignition feed and the CKP sensor Low circuit.

Is the test light ON?

--

Go to Step 5

Go to Step 7

5

  1. Turn off the ignition.
  2. Install the gray jumpers from the connector Tester Kit J 35616 between the engine harness connector and the CKP sensor ignition feed and ground circuits.
  3. Install a DVM set to the duty cycle position (select the AC volt position then press the Hz button twice to display % duty cycle) between the CKP sensor (3x) signal circuit (sensor side) and the CKP sensor Low circuit.
  4. Crank the engine.

Is the duty cycle within the specified range?

40 %-60 %

Go to Step 8

Go to Step 9

6

Repair the open or short to ground in the CKP sensor ignition feed circuit. Refer to Wiring Repairs in Engine Electrical.

Is the action complete?

--

Go to Step 13

--

7

Check the CKP sensor Low circuit for an open.

Was the problem found?

--

Go to Step 11

Go to Step 12

8

Check for an open or short to ground in the CKP sensor (3X) signal circuit.

Was a problem found?

--

Go to Step 11

Go to Step 12

9

  1. Remove the crankshaft position sensor.
  2. Inspect the crankshaft position sensor reluctor wheel for damage replace if necessary (Refer to Engine Mechanical).

Is the reluctor wheel damaged?

--

Go to Step 13

Go to Step 10

10

Replace the CKP sensor. Refer to Crankshaft Position (CKP) Sensor Replacement .

Is the action complete?

--

Go to Step 13

--

11

Repair as necessary.

Is the action complete?

--

Go to Step 13

--

12

Replace the VCM.

Important: If the VCM is faulty, reprogram the VCM. Refer to VCM Replacement/Programming .

Is the action complete?

--

Go to Step 13

--

13

  1. Using the scan tool, select DTC, Clear Info.
  2. Start engine and idle at normal operating temperature.
  3. Select DTC Specific, then enter the DTC number which was set.
  4. Operate vehicle within the conditions for setting this DTC as specified in the supporting text.

Does the scan tool indicate that this diagnostic ran and passed?

--

Go to Step 14

Go to Step 2

14

Using the scan tool, select Capture Info and Review Info.

Are any DTCs displayed that have not been diagnosed?

--

Go to The Applicable DTC Table

System OK