GM Service Manual Online
For 1990-2009 cars only

DTC P0753 1-2 Shift Solenoid Circuit Electrical 2.2L

Table 1: Shift Solenoid Valve State and Gear Ratio 4L60-E
Table 2: DTC P0753 1-2 Shift Solenoid Valve (1-2 SS Valve) -- Electrical

Object Number: 42340  Size: MF
Automatic Transmission Components 2.2L
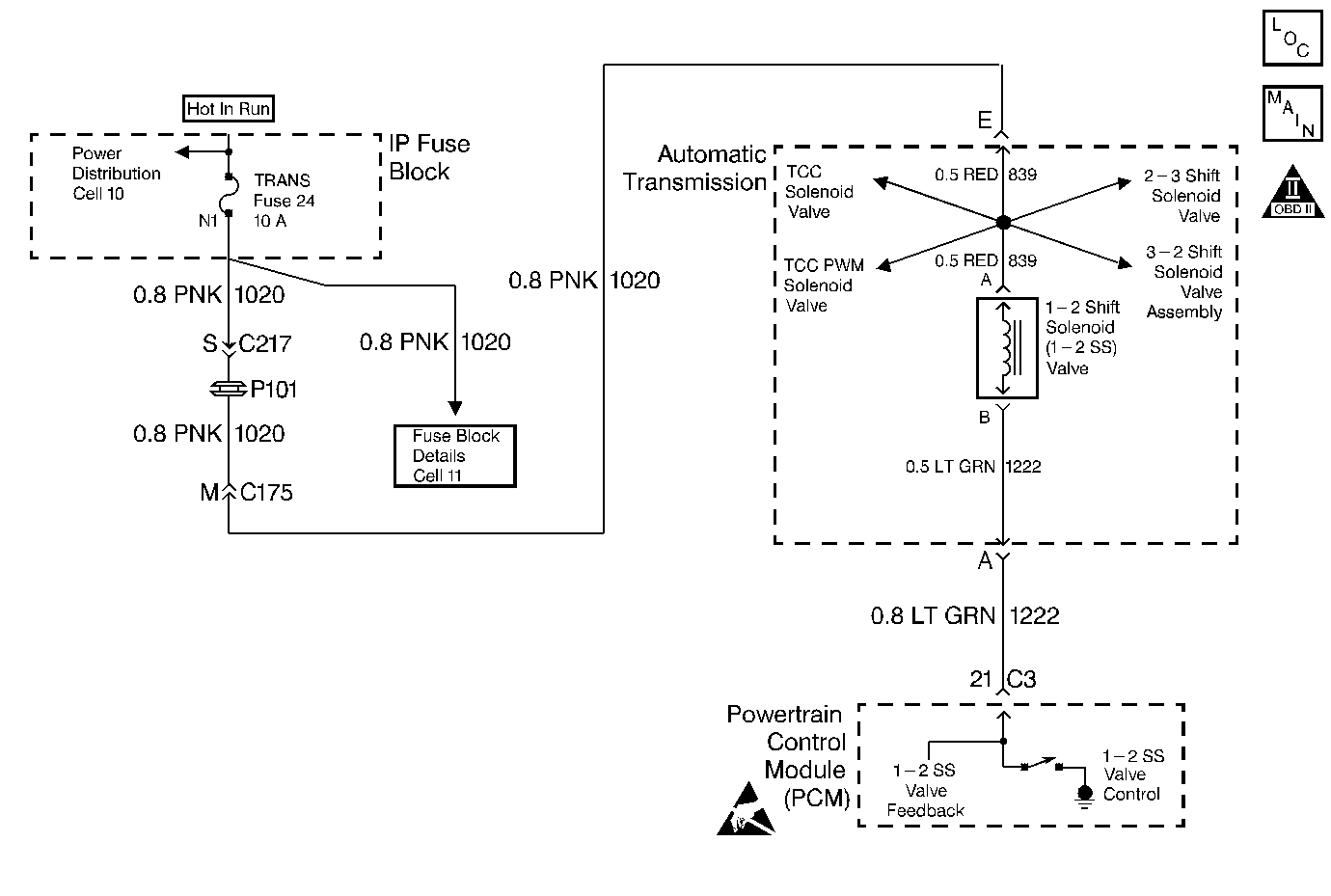
Automatic Transmission Controls Schematics 2.2L
OBD II Symbol Description Notice
Handling ESD Sensitive Parts Notice

Circuit Description

The 1-2 Shift Solenoid Valve (1-2 SS Valve) controls the fluid flow acting on the 1-2 and 3-4 shift valves. The 1-2 SS Valve is a normally-open exhaust valve that is used with the 2-3 Shift Solenoid Valve in order to allow four different shifting combinations. The solenoid attaches to the control valve body within the transmission. The 1-2 SS Valve receives ignition voltage through circuit 1020. The PCM controls the solenoid by providing the ground path on circuit 1222.

When the PCM detects a continuous open or short to ground in the 1-2 SS Valve circuit or the 1-2 SS Valve, then DTC P0753 sets. DTC P0753 is a type A DTC.

Conditions for Setting the DTC

    • The system voltage is 10-17 volts.
    • The engine is running.
    • All of the above conditions are met for 5 seconds, and either of the following fail conditions occurs for 5 seconds:
       - The PCM commands the solenoid ON and the voltage remains high (B+).
       - The PCM commands the solenoid OFF and the voltage remains low (0 volts).

Action Taken When the DTC Sets

    • The PCM commands maximum line pressure.
    • The PCM freezes shifts adapts from being updated.
    • The PCM illuminates the Malfunction Indicator Lamp (MIL).

Conditions for Clearing the MIL/DTC

    • The PCM turns OFF the MIL after three consecutive ignition cycles without a failure reported.
    • A scan tool can clear the DTC from the PCM history. The PCM clears the DTC from the PCM history if the vehicle completes 40 warm-up cycles without a failure reported.
    • The PCM cancels the DTC default actions when the fault no longer exists and the ignition is OFF long enough in order to power down the PCM.

Diagnostic Aids

    • Inspect the wiring for poor electrical connections at the PCM. Inspect the wiring for poor electrical connections at the transmission 20-way connector. Look for the following conditions:
       - A bent terminal
       - A backed out terminal
       - A damaged terminal
       - Poor terminal tension
       - A chafed wire
       - A broken wire inside the insulation
    • When diagnosing for an intermittent short or open condition, massage the wiring harness while watching the test equipment for a change.
    • An open ignition feed circuit can cause multiple DTCs to set.

Shift Solenoid Valve State and Gear Ratio 4L60-E

Gear

1-2 Shift Solenoid

2-3 Shift Solenoid

Gear Ratio

1

ON

ON

3.059:1

2

OFF

ON

1.625:1

3

OFF

OFF

1.000:1

4

ON

OFF

0.696:1

Test Description

The numbers below refer to the step numbers on the diagnostic chart.

  1. This step tests the function of the 1-2 SS Valve and the Automatic Transmission Wiring Harness Assembly.

  2. This step tests for power to the 1-2 SS Valve from the ignition through the fuse.

  3. This step measures the resistance of the component.

DTC P0753 1-2 Shift Solenoid Valve (1-2 SS Valve) -- Electrical

Step

Action

Value(s)

Yes

No

1

Was the Powertrain On-Board Diagnostic (OBD) System Check performed?

--

Go to Step 2

Go to Powertrain On Board Diagnostic (OBD) System Check

2

  1. Install the scan tool (tech 1) ®.
  2. With the engine OFF, turn the ignition switch to the RUN position.
  3. Important: Before clearing the DTCs, use the scan tool in order to record the Freeze Frame and Failure Records for reference. The Clear Info function will erase the data.

  4. Record the DTC Freeze Frame and Failure Records.

Are DTCs P0758, P1860, P1864, and P1886 also set?

--

Go to Step 3

Go to Step 4

3

  1. Inspect the TRANS fuse.
  2. If the fuse is open, inspect the following components for short to ground.
  3. Refer to Electrical Diagnosis, Section 8.

    • Circuit 1020
    • The solenoid
    • The Automatic Transmission Wiring Harness Assembly
  4. Repair the circuit, the solenoid, and the harness if necessary.

Did you find and correct a problem?

--

Go to Step 19

--

4

Command the 1-2 SS Valve ON and OFF three times while listening to the bottom of the transmission pan (a stethoscope may be necessary).

Does the solenoid click when commanded?

--

Go to Diagnostic Aids

Go to Step 5

5

  1. Turn the ignition OFF.
  2. Disconnect the transmission 20-way connector (additional DTCs will set).
  3. Install the J 39775 Jumper Harness on the engine harness connector .
  4. With the engine OFF, turn the ignition switch to the RUN position.
  5. Connect a test lamp from J 39775 Jumper Harness connector cavity E to ground.

Is the test lamp ON?

--

Go to Step 6

Go to Step 7

6

  1. Install a test lamp from J 39775 Jumper Harness connector cavity E to cavity A.
  2. Command the 1-2 SS Valve ON, and OFF three times.

Is the test lamp ON when the 1-2 SS Valve is commanded ON, and OFF when commanded OFF?

--

Go to Step 13

Go to Step 8

7

Repair the open or short to ground in ignition feed circuit 1020 to the 1-2 SS Valve.

Refer to Electrical Diagnosis, Section 8.

Did you find and correct a problem?

--

Go to Step 19

--

8

Monitor the test lamp status.

Was the test lamp OFF at all times?

--

Go to Step 9

Go to Step 10

9

  1. Inspect circuit 1222 for an open.
  2. Repair the circuit if necessary.

Refer to Electrical Diagnosis, Section 8.

Did you find a problem?

--

Go to Step 19

Go to Step 12

10

Was the test lamp ON at all times?

--

Go to Step 11

--

11

  1. Inspect circuit 1222 for a short to ground.
  2. Repair the circuit if necessary.

Refer to Electrical Diagnosis, Section 8.

Did you find a problem?

--

Go to Step 19

Go to Step 12

12

Replace the PCM.

Refer to Powertrain Control Module Replacement/Programming , Section 6.

Is the replacement complete?

--

Go to Step 19

--

13

  1. Turn the ignition OFF.
  2. Install the J 39775 Jumper Harness on the (Connector End View ) 20-way connector.
  3. With the J 39200 DVOM and J 35616-A Connector Test Adapter Kit, measure the resistance between terminals A and E.

Is the resistance within the range indicated?

19-31ohms

Go to Step 15

Go to Step 14

14

  1. Disconnect the Automatic Transmission Wiring Harness Assembly from the 1-2 SS Valve.
  2. Measure the resistance of the 1-2 SS Valve.

Is the resistance within the range indicated?

19-31ohms

Go to Step 17

Go to Step 18

15

Using J 39200 DVOM, measure the resistance between terminals A and E and ground.

Are both readings greater than the specified value?

250kohms

Go to Diagnostic Aids

Go to Step 16

16

  1. Disconnect the Automatic Transmission Wiring Harness Assembly from the 1-2 SS Valve.
  2. Using the J 39200 DVOM, measure the resistance from the component's terminals to ground.

Are both readings greater than the specified value?

250kohms

Go to Step 17

Go to Step 18

17

Replace the A/T Wiring Harness Assy.

Refer to Automatic Transmission Wiring Harness Assembly Replacement, in On-Vehicle Service.

Is the replacement complete?

--

Go to Step 19

--

18

Replace the 1-2 SS Valve.

Refer to 1-2 Shift Solenoid Valve Replacement, in On-Vehicle Service.

Is the replacement complete?

--

Go to Step 19

--

19

In order to verify your repair, perform the following procedure:

  1. Select DTC.
  2. Select Clear Info.
  3. Operate the vehicle under the following conditions:
  4. • The PCM commands the 1-2 SS Valve ON and the voltage drops to zero.
    • The PCM commands the 1-2 SS Valve OFF and the voltage increases to B+.
    • All conditions are met for 5 seconds.
  5. Select Specific DTC. Enter DTC P0753.

Has the test run and passed?

--

System OK

Begin the diagnosis again. Go to Step 1.

DTC P0753 1-2 Shift Solenoid Circuit Electrical 4.3L

Table 1: Shift Solenoid Valve State and Gear Ratio 4L60-E
Table 2: DTC P0753 1-2 Shift Solenoid Valve (1-2 SS Valve) -- Electrical

Object Number: 42341  Size: MF
Automatic Transmission Components 4.3L
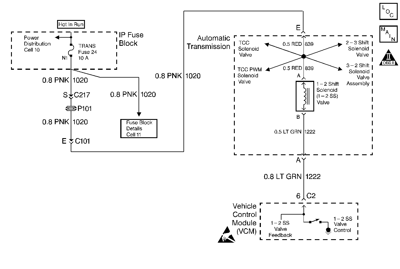
Automatic Transmission Controls Schematics 4.3L
OBD II Symbol Description Notice
Handling ESD Sensitive Parts Notice

Circuit Description

The 1-2 Shift Solenoid Valve (1-2 SS Valve) controls the fluid flow acting on the 1-2 and 3-4 shift valves. The solenoid is a normally-open exhaust valve. With the 2-3 Shift Solenoid Valve (2-3 SS Valve), the 1-2 SS Valve allows four different shifting combinations. The solenoid attaches to the control valve body within the transmission. The 1-2 SS Valve receives ignition voltage through circuit 1020. The VCM controls the solenoid by providing the ground path on circuit 1222.

When the VCM detects a continuous open or short to ground in the 1-2 SS Valve circuit or the 1-2 SS Valve, then DTC P0753 sets. DTC P0753 is a type A DTC.

Conditions for Setting the DTC

    • The system voltage is 10-17 volts.
    • The engine is running.
    • All of the above conditions are met for 5 seconds and either of the following fail conditions occurs for 5 seconds:
       - The VCM commands the solenoid ON and the voltage remains high (B+).
       - The VCM commands the solenoid OFF and the voltage remains low (0 volts).

Action Taken When the DTC Sets

    • The VCM commands maximum line pressure.
    • The VCM freezes shift adapts from being updated.
    • If in hot mode, the TCC engages in 3rd or 4th gear if there is no braking. If in hot mode, the TCC engages in 3rd or 4th gear if there are no downshifts.
    • The VCM inhibits downshifts to 2nd gear over 48 km/h (30 mph).
    • The VCM illuminates the Malfunction Indicator Lamp (MIL).

Conditions for Clearing the MIL/DTC

    • The VCM turns OFF the MIL after three consecutive ignition cycles without a failure reported.
    • A scan tool can clear the DTC from the VCM history. The VCM clears the DTC from the VCM history if the vehicle completes 40 warm-up cycles without a failure reported.
    • The VCM cancels the DTC default actions when the fault no longer exists and the ignition is OFF long enough in order to power down the VCM.

Diagnostic Aids

    • Inspect the wiring for poor electrical connections at the VCM. Inspect the wiring for poor electrical connections at the transmission 20-way connector. Look for the following conditions:
      • A bent terminal
      • A backed out terminal
      • A damaged terminal
      • Poor terminal tension
      • A chafed wire
      • A broken wire inside the insulation
    • When diagnosing for an intermittent short or open condition, massage the wiring harness while watching the test equipment for a change.
    • An open ignition feed circuit can cause multiple DTCs to set.

Shift Solenoid Valve State and Gear Ratio 4L60-E

Gear

1-2 Shift Solenoid

2-3 Shift Solenoid

Gear Ratio

1

ON

ON

3.059:1

2

OFF

ON

1.625:1

3

OFF

OFF

1.000:1

4

ON

OFF

0.696:1

Test Description

The numbers below refer to the step numbers on the diagnostic table.

  1. This step tests the function of the 1-2 SS Valve and the Automatic Transmission Wiring Harness Assembly.

  2. This step tests for power to the 1-2 SS Valve from the ignition through the fuse.

  3. This step tests circuit 1222 from the transmission 20-way connector to the VCM for an open.

  4. This step tests circuit 1222 from the transmission 20-way connector to the VCM for a short to ground.

DTC P0753 1-2 Shift Solenoid Valve (1-2 SS Valve) -- Electrical

Step

Action

Value(s)

Yes

No

1

Was the Powertrain On-Board Diagnostic (OBD) System Check performed?

--

Go to Step 2

Go to Powertrain On Board Diagnostic (OBD) System Check

2

  1. Install the scan tool (tech 1) ®.
  2. With the engine OFF, turn the ignition switch to the RUN position.
  3. Important: Before clearing the DTCs, use the scan tool in order to record the Freeze Frame and Failure Records for reference. The Clear Info function will erase the data.

  4. Record the DTC Freeze Frame and Failure Records.

Were DTCs , P0758, P1860, P1864, and P1886 also set?

--

Go to Step 3

Go to Step 4

3

  1. Inspect the TRANS fuse.
  2. If the fuse is open, inspect the following components for a short to ground.
  3. Refer to Electrical Diagnosis, Section 8.

    • Circuit 1020
    • The solenoid
    • The Automatic Transmission Wiring Harness Assembly
  4. Repair the circuit, the solenoid, and the harness if necessary.

Did you find and correct a problem?

--

Go to Step 18

--

4

Command the 1-2 SS Valve ON and OFF three times while listening to the bottom of the transmission pan (a stethoscope may be necessary).

Did the solenoid click when commanded?

--

Go to Diagnostic Aids

Go to Step 5

5

  1. Turn the ignition OFF.
  2. Disconnect the transmission 20-way connector (additional DTCs will set).
  3. Install the J 39775 Jumper Harness on the engine harness connector .
  4. With the engine OFF, turn the ignition switch to the RUN position.
  5. Connect a test lamp from J 39775 Jumper Harness cavity E to ground.

Is the test lamp ON?

--

Go to Step 7

Go to Step 6

6

Repair the open or short to ground in ignition feed circuit 1020 to the 1-2 SS Valve.

Refer to Electrical Diagnosis, Section 8.

Did you find and correct a problem?

--

Go to Step 18

--

7

  1. Turn the ignition switch OFF.
  2. Disconnect the C2 (red) VCM connector.
  3. Using the J 39200 DVOM and the J 35616-A Connector Test Adapter Kit, measure the resistance between C2-6 and terminal A of the J 39775 Jumper Harness.

Is the resistance measured greater than the specified value?

5ohms

Go to Step 9

Go to Step 8

8

Measure the resistance between C2-6 and a known good ground. Is the resistance measured less than the specified value?

1000ohms

Go to Step 10

Go to Step 12

9

  1. Inspect circuit 1222 for an open.
  2. Repair the circuit if necessary.

Refer to Electrical Diagnosis, Section 8.

Did you find a problem?

--

Go to Step 18

Go to Step 11

10

  1. Inspect circuit 1222 for a short to ground.
  2. Repair the circuit if necessary.

Refer to Electrical Diagnosis, Section 8.

Did you find a problem?

--

Go to Step 18

Go to Step 11

11

Replace the VCM.

Refer to VCM Replacement/Programming , Section 6.

Is the replacement complete?

--

Go to Step 18

--

12

  1. Install the J 39775 Jumper Harness on the (Connector End View ) 20-way connector.
  2. Measure the resistance between terminal A and terminal E.

Is the resistance within the specified range?

19-31ohms

Go to Step 14

Go to Step 13

13

  1. Disconnect the Automatic Transmission Wiring Harness Assembly from the 1-2 SS valve.
  2. Measure the resistance of the 1-2 SS Valve.

Is the resistance within the specified range?

19-31ohms

Go to Step 16

Go to Step 17

14

Measure the resistance between terminals A and E and ground.

Are both readings greater than the specified value?

250kohms

Go to Diagnostic Aids

Go to Step 15

15

  1. Disconnect the Automatic Transmission Wiring Harness Assembly from the 1-2 SS Valve.
  2. Measure the resistance from the component's terminals to ground.

Are both readings greater than the specified value?

250kohms

Go to Step 16

Go to Step 17

16

Replace the A/T Wiring Harness Assy. Refer to Automatic Transmission Wiring Harness Assembly Replacement, in On-Vehicle Service.

Is the replacement complete?

--

Go to Step 18

--

17

Replace the 1-2 SS Valve.

Refer to 1-2 Shift Solenoid Valve Replacement,in On-Vehicle Service.

Is the replacement complete?

--

Go to Step 18

--

18

In order to verify your repair, perform the following procedure:

  1. Select DTC.
  2. Select Clear Info.
  3. Operate the vehicle and ensure the following conditions are met:
  4. • The VCM commands the 1-2 SS Valve ON and the voltage drops to zero.
    • The VCM commands the 1-2 SS Valve OFF and the voltage increases to B+.
    • All conditions are met for 5 seconds.
  5. Select Specific DTC. Enter DTC P0753.

Has the test run and passed?

--

System OK

Begin the diagnosis again. Go to Step 1.