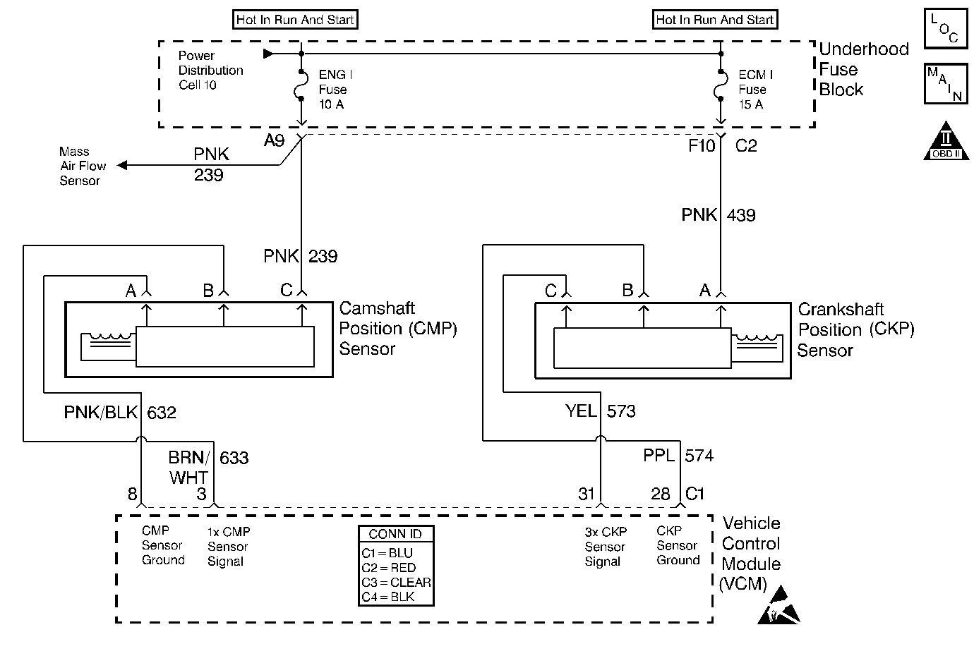
The crankshaft position (CKP) sensor is a sensor designed to detect changes in a magnetic field. The control module supplies the CKP sensor a signal and ground circuits. Ignition voltage is supplied to the sensor by an independent circuit. The CKP sensor produces a magnetic field whenever the ignition is ON. The CKP sensor is mounted near a reluctor wheel that is attached to the crankshaft. When the crankshaft rotates, when the engine is cranking or running, the toothed reluctor wheel changes the magnetic field. The CKP sensor converts each change in the magnetic field into a PULSE. The number of teeth on the reluctor wheel determines how many pulses the CKP sensor detects per crankshaft rotation. The CKP sensor signal is used in order to determine the engine speed, the crankshaft position, and to detect misfire.
If the frequency of the CKP is less than expected by the VCM, this DTC will be set.
| • | The engine speed is less than 4000 RPM. |
| • | The MAF is 5 g/s or more. |
The crankshaft position sensor duty cycle is less than a calibrated percent.
| • | The control module illuminates the malfunction indicator lamp (MIL) if a failure is detected during 2 consecutive key cycles. |
| • | The control module sets the DTC and records the operating conditions at the time the diagnostic failed. The failure information is stored in the scan tool Freeze Frame/Failure Records. |
| • | The control module turns OFF the MIL after 3 consecutive drive trips when the test has run and passed. |
| • | A history DTC will clear if no fault conditions have been detected for 40 warm-up cycles. A warm-up cycle occurs when the coolant temperature has risen 22°C (40°F) from the startup coolant temperature and the engine coolant reaches a temperature that is more than 70°C (158°F) during the same ignition cycle. |
| • | Use a scan tool in order to clear the DTCs. |
Inspect the face of the CKP sensor for metal shavings. This could result in an intermittent DTC P0339.
Check for the following conditions:
| • | A chipped or damaged reluctor wheel |
| • | Incorrect reluctor wheel |
| • | Incorrect alignment of the CKP sensor to reluctor wheel |
| • | Excessive crankshaft end play |
Check for electromagnetic interference.
Refer to Symptoms .
An intermittent may be caused by any of the following conditions:
| • | A poor connection |
| • | Rubbed through wire insulation |
| • | A broken wire inside the insulation |
Thoroughly check any circuitry that is suspected of causing the intermittent complaint. Refer to Intermittents and Poor Connections Diagnosis in Wiring Systems.
If a repair is necessary, refer to Wiring Repairs or Connector Repairs in Wiring Systems.
The numbers below refer to the step numbers on the diagnostic table.
Step | Action | Value(s) | Yes | No |
|---|---|---|---|---|
1 |
Important: Before clearing the DTCs, use the scan tool Capture Info to save the Freeze Frame and Failure Records for reference. The control module's data is deleted once the Clear Info function is used. Did you perform the Powertrain On-Board Diagnostic (OBD) System Check? | -- | ||
Important: The red (positive) lead from the DMM must be connected to the CKP (3X) signal circuit. Is the duty cycle less than the specified value? | 40% | |||
3 | Check the crankshaft position (CKP) sensor and the crankshaft reluctor wheel for damage. Refer to Diagnostic Aids. Did you find a problem? | -- | ||
4 |
Is the action complete? | -- | -- | |
5 |
Important: Inspect the CKP sensor mounting surface to insure the surface is clean and free of debris.
Is the action complete? | -- | -- | |
6 |
Does the scan tool indicate the diagnostic Passed? | -- | ||
7 |
Is the action complete? | -- | -- | |
8 |
Does the scan tool indicate the diagnostic Passed? | -- | ||
9 | Does the scan tool display any additional undiagnosed DTCs? | -- | Go to the applicable DTC table | System OK |