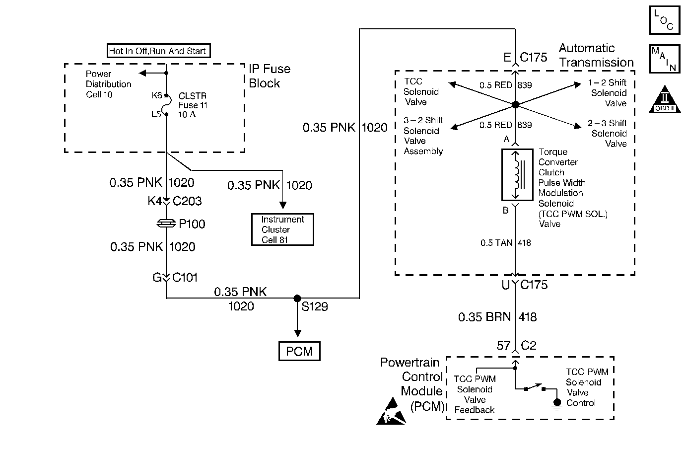
The Torque Converter Clutch Pulse Width Modulation Solenoid Valve (TCC PWM Sol. Valve) controls the fluid acting on the converter clutch valve. The converter clutch valve controls the TCC application and release. The solenoid attaches to the control valve body within the transmission. The solenoid receives ignition voltage through circuit 1020. The Powertrain Control Module (PCM) controls the solenoid by providing a ground path on circuit 418. Current flows through the solenoid coil according to the duty cycle (percentage of ON and OFF time). The TCC PWM Sol. Valve provides a smooth engagement of the torque converter clutch by operating during a duty cycle percent of ON time.
When the PCM detects a continuous open or short to ground in the TCC PWM Sol. Valve circuit or the TCC PWM Sol. Valve, then DTC P1860 sets. DTC P1860 is a type A DTC.
| • | The system voltage is 8-16 volts. |
| • | The engine speed is greater than 450 RPM for 5 seconds. |
| • | Not in fuel cutoff. |
| • | The PCM commands first gear. |
| • | The TCC duty cycle is less than 10% or greater than 90%. |
| • | All of the above conditions are met for 5 seconds and either of the following fail conditions occurs for 5 seconds: |
| - | The PCM commands the solenoid ON (90%) and the voltage input remains high (B+). |
| - | The PCM commands the solenoid OFF (0%) and the voltage input remains low (0 volt). |
| • | The PCM illuminates the Malfunction Indicator Lamp (MIL). |
| • | The PCM inhibits TCC engagement. |
| • | The PCM inhibits 4th gear if the transmission is in hot mode. |
| • | The PCM freezes shift adapts from being updated. |
| • | DTC P1860 stores in PCM history. |
| • | The PCM turns OFF the MIL after three consecutive trips without a failure reported. |
| • | A scan tool can clear the DTC from the PCM history. The PCM clears the DTC from the PCM history if the vehicle completes 40 warm-up cycles without a failure reported. |
| • | The PCM cancels the DTC default actions when the fault no longer exists and the ignition is OFF long enough in order to power down the PCM. |
| • | Inspect the wiring at the PCM, the transmission connector and all other circuit connecting points for the following conditions: |
| - | A bent terminal |
| - | A backed out terminal |
| - | A damaged terminal |
| - | Poor terminal tension |
| - | A chafed wire |
| - | A broken wire inside the insulation |
| - | Moisture intrusion |
| - | Corrosion |
| • | When diagnosing for an intermittent short or open condition, massage the wiring harness while watching the test equipment for a change. |
| • | A faulty ignition switch may set this code. |
The numbers below refer to the step numbers on the diagnostic table.
This step tests for voltage to the solenoid.
This step tests the ability of the PCM and wiring to control the ground circuit.
This step tests the resistance of the TCC PWM Sol. Valve and the Automatic Transmission Wiring Harness Assembly (A/T Wiring Harness Assembly).
Step | Action | Value(s) | Yes | No | ||||||
|---|---|---|---|---|---|---|---|---|---|---|
1 | Was the Powertrain On-Board Diagnostic (OBD) System Check performed? | -- | Go to Powertrain On Board Diagnostic (OBD) System Check in Engine Controls | |||||||
2 |
Important: Before clearing the DTC(s), use the scan tool in order to record the Freeze Frame and Failure Records for reference. Using the Clear Info function will erase the stored Freeze Frame and Failure Records from the PCM. Are DTCs P0740, P0753, P0758 and P0785 also set? | -- | ||||||||
3 |
Refer to General Electrical Diagnosis in Wiring Systems. Did you find a short to ground condition? | -- | ||||||||
Is the test lamp on? | -- | |||||||||
5 | Repair the open or short to ground in ignition feed circuit 1020 (PNK) to the TCC PWM Sol. Valve. Refer to General Electrical Diagnosis in Wiring Systems. Is the repair complete? | -- | -- | |||||||
Does the test lamp turn ON when the TCC PWM Sol. Valve is commanded ON, and OFF when commanded OFF? | -- | |||||||||
7 |
Refer to General Electrical Diagnosis in Wiring Systems. Did you find an open, short to ground or short to power condition? | -- | ||||||||
Is the resistance within the specified range? | 10-15 ohms | |||||||||
9 | Replace the PCM. Refer to Powertrain Control Module Replacement/Programming in Engine Controls. Is the replacement complete? | -- | -- | |||||||
10 |
Is the resistance within the specified range? | 10-15 ohms | ||||||||
11 | Measure the resistance between terminal E and ground, and between terminal U and ground. Are both readings greater than the specified value? | 250 K ohms | Go to Diagnostic Aids | |||||||
12 |
Are both readings greater than the specified value? | 250 K ohms | ||||||||
13 | Replace the A/T Wiring Harness Assembly. Refer to Torque Converter Clutch Pulse Width Modulation Solenoid, Torque Converter Clutch Solenoid, and Wiring Harness Replacement. Is the replacement complete? | -- | -- | |||||||
14 | Replace the TCC PWM Sol. Valve. Refer to Torque Converter Clutch Pulse Width Modulation Solenoid, Torque Converter Clutch Solenoid, and Wiring Harness Replacement. Is the replacement complete? | -- | -- | |||||||
15 | In order to verify your repair, perform the following procedure:
Has the test run and passed? | -- | System OK |
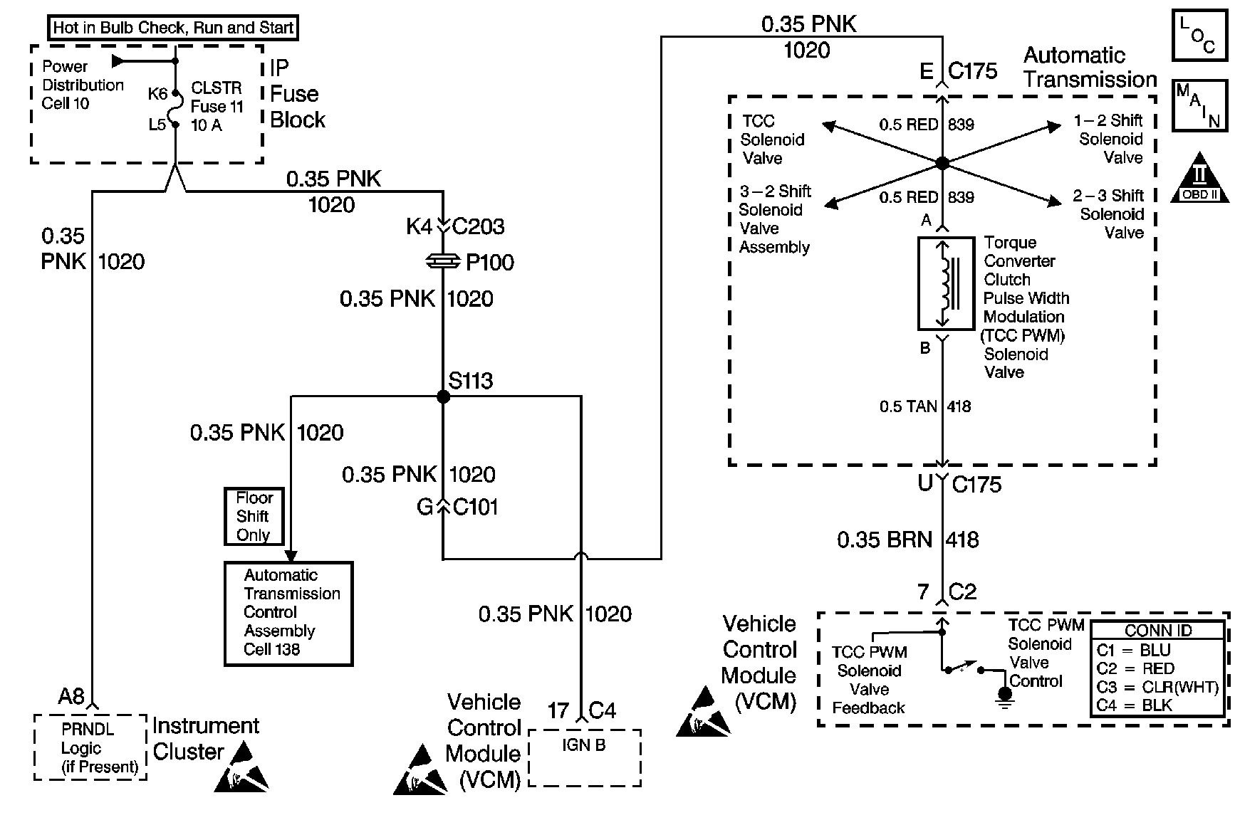
The Torque Converter Clutch Pulse Width Modulation Solenoid Valve (TCC PWM Sol. Valve) controls the fluid acting on the converter clutch valve. The converter clutch valve controls the TCC application and release. The solenoid attaches to the control valve body within the transmission. The solenoid receives ignition voltage through circuit 1020. The Vehicle Control Module (VCM) controls the solenoid by providing a ground path on circuit 418. Current flows through the solenoid coil according to the duty cycle (percentage of ON and OFF time). The TCC PWM Sol. Valve provides a smooth engagement of the TCC by operating during a duty cycle percent of ON time.
When the VCM detects a continuous open or short to ground in the TCC PWM Sol. Valve circuit or the TCC PWM Sol. Valve, then DTC P1860 sets. DTC P1860 is a type A DTC.
| • | The system voltage is 10-16 volts. |
| • | The engine speed is greater than 450 RPM for 5 seconds. |
| • | Not in fuel cutoff. |
| • | The VCM commands first gear. |
| • | The TCC duty cycle is less than 10% or greater than 90%. |
| • | All of the above conditions are met for 5 seconds and either of the following fail conditions occurs for 5 seconds: |
| - | The VCM commands the solenoid ON (90%) and the voltage input remains high (B+). |
| - | The VCM commands the solenoid OFF (0%) and the voltage input remains low (0 volt). |
| • | The VCM illuminates the Malfunction Indicator Lamp (MIL). |
| • | The VCM inhibits TCC engagement. |
| • | The VCM inhibits 4th gear if the transmission is in hot mode. |
| • | The VCM freezes shift adapts from being updated. |
| • | DTC P1860 stores in VCM history. |
| • | The VCM turns OFF the MIL after three consecutive trips without a failure reported. |
| • | A scan tool can clear the DTC from the VCM history. The VCM clears the DTC from the VCM history if the vehicle completes 40 warm-up cycles without a failure reported. |
| • | The VCM cancels the DTC default actions when the fault no longer exists and the ignition is OFF long enough in order to power down the VCM. |
| • | Inspect the wiring at the VCM, the transmission connector and all other circuit connecting points for the following conditions: |
| - | A bent terminal |
| - | A backed out terminal |
| - | A damaged terminal |
| - | Poor terminal tension |
| - | A chafed wire |
| - | A broken wire inside the insulation |
| - | Moisture intrusion |
| - | Corrosion |
| • | When diagnosing for an intermittent short or open condition, massage the wiring harness while watching the test equipment for a change. |
| • | A faulty ignition switch may set this code. |
The numbers below refer to the step numbers on the diagnostic table.
This step tests for voltage to the solenoid.
This step tests the ability of the VCM and wiring to control the ground circuit.
This step tests the resistance of the TCC PWM Sol. Valve and the Automatic Transmission Wiring Harness Assembly (A/T Wiring Harness Assembly).
Step | Action | Value(s) | Yes | No | ||||||
|---|---|---|---|---|---|---|---|---|---|---|
1 | Was the Powertrain On-Board Diagnostic (OBD) System Check performed? | -- | Go to Powertrain On Board Diagnostic (OBD) System Check in Engine Controls | |||||||
2 |
Important: Before clearing the DTC(s), use the scan tool in order to record the Freeze Frame and Failure Records for reference. Using the Clear Info function will erase the stored Freeze Frame and Failure Records from the VCM. Are DTCs P0740, P0753, P0758 and P0785 also set? | -- | ||||||||
3 |
Refer to General Electrical Diagnosis in Wiring Systems. Did you find a short to ground condition? | -- | ||||||||
Is the test lamp on? | -- | |||||||||
5 | Repair the open or short to ground in ignition feed circuit 1020 (PNK) to the TCC PWM Sol. Valve. Refer to General Electrical Diagnosis in Wiring Systems. Is the repair complete? | -- | -- | |||||||
Does the test lamp illuminate when the TCC PWM Sol. Valve is commanded ON, and turn OFF when commanded OFF? | -- | |||||||||
7 |
Refer to General Electrical Diagnosis in Wiring Systems. Did you find an open, short to ground or short to power condition? | -- | ||||||||
Is the resistance within the specified range? | 10-15 ohms | |||||||||
9 | Replace the VCM. Refer to VCM Replacement/Programming in Engine Controls. Is the replacement complete? | -- | -- | |||||||
10 |
Is the resistance within the specified range? | 10-15 ohms | ||||||||
11 | Measure the resistance between terminal E and ground, and between terminal U and ground. Are both readings greater than the specified value? | 250 K ohms | Go to Diagnostic Aids | |||||||
12 |
Are both readings greater than the specified value? | 250 K ohms | ||||||||
13 | Replace the A/T Wiring Harness Assembly. Refer to Torque Converter Clutch Pulse Width Modulation Solenoid, Torque Converter Clutch Solenoid, and Wiring Harness Replacement. Is the replacement complete? | -- | -- | |||||||
14 | Replace the TCC PWM Sol. Valve. Refer to Torque Converter Clutch Pulse Width Modulation Solenoid, Torque Converter Clutch Solenoid, and Wiring Harness Replacement. Is the replacement complete? | -- | -- | |||||||
15 | In order to verify your repair, perform the following procedure:
Has the test run and passed? | -- | System OK |