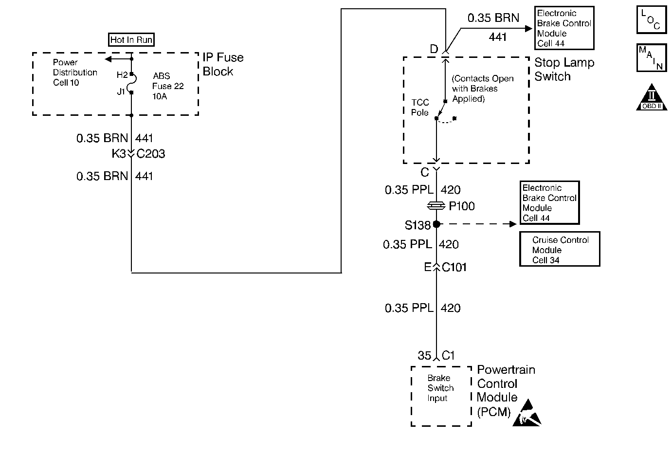
The brake switch indicates brake pedal status to the Powertrain Control Module (PCM). The brake switch is a normally-closed switch that supplies battery voltage on circuit 420 to the PCM. Applying the brake pedal opens the switch, interrupting voltage to the PCM. When the brake pedal is released, the PCM receives a constant voltage signal. If the PCM receives a zero voltage signal at the brake switch input, and the Torque Converter Clutch (TCC) is engaged, the PCM de-energizes the Torque Converter Clutch Solenoid Valve (TCC Sol. Valve). The PCM disregards the brake switch input for TCC scheduling if there is a brake switch circuit fault.
When the PCM detects a closed brake switch circuit (12 volts, high input) during decelerations, then DTC P0724 sets. DTC P0724 is a type D DTC.
| • | No VSS Assy. DTCs P0502 or P0503. |
| • | The PCM detects a closed brake switch circuit (12 volts) without changing for 2 seconds, and the following events occur seven consecutive times: |
| - | The vehicle speed is greater than 32 km/h (20 mph) for 6 seconds; |
| - | then the vehicle speed is 8-32 km/h (5-20 mph) for 4 seconds; |
| - | then the vehicle speed is less than 8 km/h (5 mph). |
| • | The PCM does not illuminate the Malfunction Indicator Lamp (MIL). |
| • | DTC P0724 stores in PCM history. |
| • | A scan tool can clear the DTC from the PCM history. The PCM clears the DTC from the PCM history if the vehicle completes 40 warm-up cycles without a failure reported. |
| • | The PCM cancels the DTC default actions when the fault no longer exists and the ignition is OFF long enough in order to power down the PCM. |
| • | Inspect the wiring at the PCM, the brake switch connector and all other circuit connecting points for the following conditions: |
| - | A bent terminal |
| - | A backed out terminal |
| - | A damaged terminal |
| - | Poor terminal tension |
| - | A chafed wire |
| - | A broken wire inside the insulation |
| - | Moisture intrusion |
| - | Corrosion |
| • | When diagnosing for an intermittent short or open condition, massage the wiring harness while watching the test equipment for a change. |
| • | Ask about the customer's driving habits. Ask about unusual driving conditions (e.g. stop and go, expressway, etc.). |
| • | Inspect the brake switch for proper mounting and adjustment. |
| • | Inspect for ABS DTCs. A faulty ABS condition may contribute to setting DTC P0724. |
The numbers below refer to the step numbers on the diagnostic table.
Step | Action | Value(s) | Yes | No |
|---|---|---|---|---|
1 | Was the Powertrain On-Board Diagnostic (OBD) System Check performed? | -- | ||
Important: Before clearing the DTC(s), use the scan tool in order to record the Failure Records for reference. Using the Clear Info function will erase the stored Failure Records from the PCM. Does the TCC Brake Switch status change from Closed to Open? | -- | |||
3 | Replace the brake switch. Refer to Stoplamp Switch Replacement. Is the replacement complete? | -- | -- | |
4 |
Refer to General Electrical Diagnosis . Did you find a short to B+ condition? | -- | ||
5 | Replace the PCM. Refer to Powertrain Control Module Replacement/Programming . Is the replacement complete? | -- | -- | |
6 | In order to verify your repair, perform the following procedure:
Has the test run and passed? | -- | System OK |
The brake switch indicates brake pedal status to the Vehicle Control Module (VCM). The brake switch is a normally-closed switch that supplies battery voltage on circuit 420 to the VCM. Applying the brake pedal opens the switch, interrupting voltage to the VCM. When the brake pedal is released, the VCM receives a constant voltage signal. If the VCM receives a zero voltage signal at the brake switch input, and the Torque Converter Clutch (TCC) is engaged, the VCM de-energizes the Torque Converter Clutch Solenoid Valve (TCC Sol. Valve). The VCM disregards the brake switch input for TCC scheduling if there is a brake switch circuit fault.
When the VCM detects a closed brake switch circuit (12 volts, high input) during decelerations, then DTC P0724 sets. DTC P0724 is a type D DTC.
| • | No VSS Assy. DTCs P0502 or P0503. |
| • | The VCM detects a closed brake switch circuit (12 volts) without changing for 2 seconds and the following events occur seven consecutive times: |
| - | The vehicle speed is greater than 32 km/h (20 mph) for 6 seconds; |
| - | then the vehicle speed is between 8-32 km/h (5-20 mph) for 4 seconds; |
| - | then the vehicle speed is less than 8 km/h (5 mph). |
| • | The VCM does not illuminate the Malfunction Indicator Lamp (MIL). |
| • | DTC P0724 stores in VCM history. |
| • | A scan tool can clear the DTC from the VCM history. The VCM clears the DTC from the VCM history if the vehicle completes 40 warm-up cycles without a failure reported. |
| • | The VCM cancels the DTC default actions when the fault no longer exists and the ignition is OFF long enough in order to power down the VCM. |
| • | Inspect the wiring at the VCM, the brake switch connector and all other circuit connecting points for the following conditions: |
| - | A bent terminal |
| - | A backed out terminal |
| - | A damaged terminal |
| - | Poor terminal tension |
| - | A chafed wire |
| - | A broken wire inside the insulation |
| - | Moisture intrusion |
| - | Corrosion |
| • | When diagnosing for an intermittent short or open condition, massage the wiring harness while watching the test equipment for a change. |
| • | Ask about the customer's driving habits. Ask about unusual driving conditions (e.g. stop and go, expressway, etc.). |
| • | Inspect the brake switch for proper mounting and adjustment. |
| • | Inspect for ABS DTCs. A faulty ABS condition may contribute to setting DTC P0724. |
The numbers below refer to the step numbers on the diagnostic table.
Step | Action | Value(s) | Yes | No |
|---|---|---|---|---|
1 | Was the Powertrain On-Board Diagnostic (OBD) System Check performed? | -- | ||
Important: Before clearing the DTC(s), use the scan tool in order to record the Failure Records for reference. Using the Clear Info function will erase the stored Failure Records from the VCM. Did the TCC brake switch status change from Closed to Open? | -- | |||
3 | Replace the brake switch. Refer to Stoplamp Switch Replacement. Is the replacement complete? | -- | -- | |
4 |
Refer to General Electrical Diagnosis Procedures. Did you find a short to B+ condition? | -- | ||
5 | Replace the VCM. Refer to VCM Replacement/Programming . Is the replacement complete? | -- | -- | |
6 | In order to verify your repair, perform the following procedure:
Has the test run and passed? | -- | System OK |