GM Service Manual Online
For 1990-2009 cars only

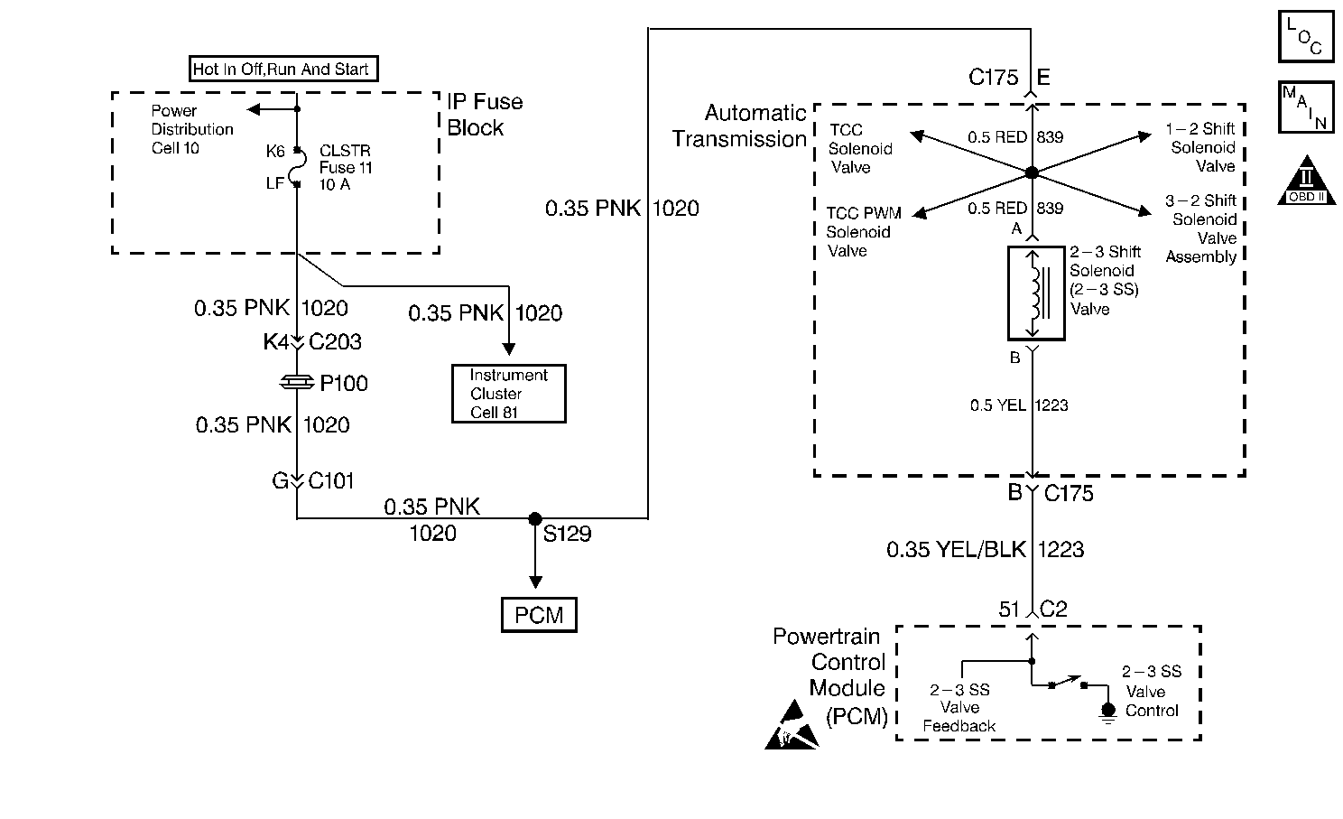
DTC P0758 2-3 Shift Solenoid Circuit Electrical 2.2L


Object Number: 201196  Size: MF
Automatic Transmission Components
Automatic Transmission Controls Schematics
OBD II Symbol Description Notice
Handling ESD Sensitive Parts Notice

Circuit Description

The 2-3 Shift Solenoid Valve (2-3 SS Valve) controls the fluid flow acting on the 2-3 shift valves. The 2-3 SS Valve is a normally-open exhaust valve that is used with the 1-2 Shift Solenoid Valve in order to allow four different shifting combinations. The solenoid attaches to the control valve body within the transmission. The 2-3 SS Valve receives ignition voltage through circuit 1020. The Powertrain Control Module (PCM) controls the solenoid by providing the ground path on circuit 1223.

When the PCM detects a continuous open or short to ground in the 2-3 SS Valve circuit or the 2-3 SS Valve, then DTC P0758 sets. DTC P0758 is a type A DTC.

Conditions for Setting the DTC

    • The system voltage is 8-16 volts.
    • The engine speed is 450 RPM for 5 seconds.
    • Not in fuel cutoff.
    • All of the above conditions are met for 5 seconds and either of the following fail conditions occurs for 5 seconds.
       - The PCM commands the solenoid ON and the voltage input remains high (B+).
       - The PCM commands the solenoid OFF and the voltage input remains low (0 volts).

Action Taken When the DTC Sets

    • The PCM illuminates the Malfunction Indicator Lamp (MIL).
    • The PCM commands third gear only.
    • The PCM commands maximum line pressure.
    • The PCM inhibits TCC engagement.
    • The PCM freezes shift adapts from being updated.
    • DTC P0758 stores in PCM history.

Conditions for Clearing the MIL/DTC

    • The PCM turns OFF the MIL after three consecutive trips without a failure reported.
    • A scan tool can clear the DTC from the PCM history. The PCM clears the DTC from the PCM history if the vehicle completes 40 warm-up cycles without a failure reported.
    • The PCM cancels the DTC default actions when the fault no longer exists and the ignition is OFF long enough in order to power down the PCM.

Diagnostic Aids

    • Inspect the wiring at the PCM, the transmission connector and all other circuit connecting points for the following conditions:
       - A bent terminal
       - A backed out terminal
       - A damaged terminal
       - Poor terminal tension
       - A chafed wire
       - A broken wire inside the insulation
       - Moisture intrusion
       - Corrosion
    • When diagnosing for an intermittent short or open condition, massage the wiring harness while watching the test equipment for a change.
    • Refer to the Shift Solenoid Valve State and Gear Ratio table.
    • A faulty ignition switch may set this code.

Test Description

The numbers below refer to the step numbers on the diagnostic table.

  1. This step tests the function of the 2-3 SS Valve and the Automatic Transmission Wiring Harness Assembly (A/T Wiring Harness Assembly).

  2. This step tests for power to the 2-3 SS Valve from the ignition through the fuse.

  3. This step tests the ability of the PCM and the wiring to control the ground circuit.

  4. This step measures the resistance of the A/T Wiring Harness Assembly and the 2-3 SS Valve.

DTC P0758 2-3 Shift Solenoid Circuit -- Electrical (2.2L)

Step

Action

Value(s)

Yes

No

1

Was the Powertrain On-Board Diagnostic (OBD) System Check performed?

--

Go to Step 2

Go to Powertrain On Board Diagnostic (OBD) System Check in Engine Controls

2

  1. Install the Scan Tool .
  2. With the engine OFF, turn the ignition switch to the RUN position.
  3. Important: Before clearing the DTC(s), use the scan tool in order to record the Freeze Frame and Failure Records for reference. Using the Clear Info function will erase the stored Freeze Frame and Failure Records from the PCM.

  4. Record the DTC Freeze Frame and Failure Records.

Are DTCs P0740, P0753, P0785 and P1860 also set?

--

Go to Step 3

Go to Step 4

3

  1. Inspect the CLSTR fuse.
  2. If the fuse is open, inspect circuit 1020 (PNK), the solenoids, and the A/T Wiring Harness Assembly for a short to ground.
  3. Repair the circuit, the solenoids, and the harness if necessary.

Refer to General Electrical Diagnosis in Wiring Systems.

Did you find a short to ground condition?

--

Go to Step 19

Go to Step 5

4

Using the transmission output control function on the scan tool, command the 2-3 SS Valve ON and OFF three times while listening to the bottom of the transmission pan (a stethoscope may be necessary).

Does the solenoid click when commanded?

--

Go to Diagnostic Aids

Go to Step 5

5

  1. Turn the ignition OFF.
  2. Disconnect the transmission 20-way connector (additional DTCs will set).
  3. Install the J 39775 Jumper Harness on the engine side of the 20-way connector.
  4. With the engine OFF, turn the ignition switch to the RUN position.
  5. Connect a test lamp from J 39775 Jumper Harness cavity E to ground.

Is the test light ON?

--

Go to Step 6

Go to Step 7

6

  1. Install a test lamp from cavity E to cavity B of J 39775 Jumper Harness.
  2. Using the transmission output control function on the scan tool, command the 2-3 SS Valve ON and OFF three times.

Is the test lamp ON when the 2-3 SS Valve is commanded ON and OFF when commanded OFF?

--

Go to Step 13

Go to Step 8

7

Repair the open or short to ground in ignition feed circuit 1020 (PNK) to the 2-3 SS Valve.

Refer to General Electrical Diagnosis in Wiring Systems.

Did you find and correct an open or short to ground condition?

--

Go to Step 19

--

8

Monitor the test lamp status.

Was the test lamp OFF at all times?

--

Go to Step 9

Go to Step 10

9

  1. Inspect circuit 1223 (YEL/BLK) of the engine wiring harness for an open or short to power.
  2. Repair the circuit if necessary.

Refer to General Electrical Diagnosis in Wiring Systems.

Did you find an open or short to power condition?

--

Go to Step 19

Go to Step 12

10

Was the test lamp ON at all times?

--

Go to Step 11

--

11

  1. Inspect circuit 1223 (YEL/BLK) of the engine wiring harness for a short to ground.
  2. Repair the circuit if necessary.

Refer to General Electrical Diagnosis in Wiring Systems.

Did you find a short to ground condition?

--

Go to Step 19

Go to Step 12

12

Replace the PCM.

Refer to Powertrain Control Module Replacement/Programming in Engine Controls.

Is the replacement complete?

--

Go to Step 19

--

13

  1. Turn the ignition OFF.
  2. Install the J 39775 Jumper Harness on the transmission side of the 20-way connector.
  3. With J 39200 Digital Multimeter (DMM) and J 35616-A Connector Test Adapter Kit, measure the resistance between terminals B and E.

Is the resistance within the specified range?

19-31 ohms

Go to Step 15

Go to Step 14

14

  1. Disconnect the A/T Wiring Harness Assembly from the 2-3 SS Valve.
  2. Measure the resistance of the 2-3 SS Valve.

Is the resistance within the specified range?

19-31 ohms

Go to Step 17

Go to Step 18

15

Using J 39200 DMM, measure the resistance between terminals B and E and ground.

Are both readings greater than the specified value?

250 K ohms

Go to Diagnostic Aids

Go to Step 16

16

  1. Disconnect the A/T Wiring Harness Assembly from the 2-3 SS Valve.
  2. Using J 39200 DMM, measure the resistance from the component's terminals to ground.

Are both readings greater than the value shown?

250 K ohms

Go to Step 17

Go to Step 18

17

Replace the A/T Wiring Harness Assembly.

Refer to Torque Converter Clutch Pulse Width Modulation Solenoid, Torque Converter Clutch Solenoid, and Wiring Harness Replacement.

Is the replacement complete?

--

Go to Step 19

--

18

Replace the 2-3 SS Valve.

Refer to Control and Shift Solenoids Replacement .

Is the replacement complete?

--

Go to Step 19

--

19

In order to verify your repair, perform the following procedure:

  1. Select DTC.
  2. Select Clear Info.
  3. Drive the vehicle in D4 and ensure that the following conditions are met:
  4. • The PCM commands the 2-3 SS Valve ON and the voltage input drops to zero.
    • The PCM commands the 2-3 SS Valve OFF and the voltage input increases to B+.
    • All conditions are met for 5 seconds.
  5. Select Specific DTC. Enter DTC P0758.

Has the test run and passed?

--

System OK

Go to Step 1

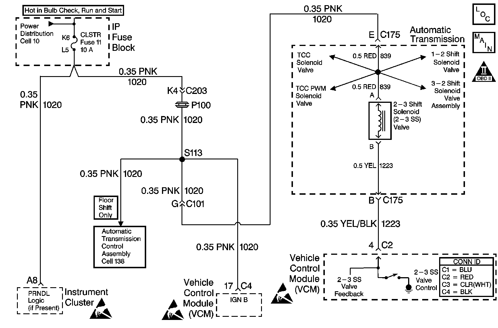
DTC P0758 2-3 Shift Solenoid Circuit Electrical 4.3L


Object Number: 201206  Size: MF
Automatic Transmission Components
Automatic Transmission Controls Schematics
OBD II Symbol Description Notice
Handling ESD Sensitive Parts Notice
Handling ESD Sensitive Parts Notice
Handling ESD Sensitive Parts Notice

Circuit Description

The 2-3 Shift Solenoid Valve (2-3 SS Valve) controls the fluid flow acting on the 2-3 shift valves. The solenoid is a normally-open exhaust valve. With the 1-2 Shift Solenoid Valve (1-2 SS Valve), the 2-3 SS Valve allows four different shifting combinations. The solenoid attaches to the control valve body within the transmission. The 2-3 SS Valve receives ignition voltage through circuit 1020. The Vehicle Control Module (VCM) controls the solenoid by providing the ground path on circuit 1223.

When the VCM detects a continuous open or short to ground in the 2-3 SS Valve circuit or the 2-3 SS Valve, then DTC P0758 sets. DTC P0758 is a type A DTC.

Conditions for Setting the DTC

    • The system voltage is 10-16 volts.
    • The engine speed is greater than 450 RPM for 5 seconds.
    • Not in fuel cutoff.
    • All of the above conditions are met for 5 seconds and either of the following fail conditions occurs for 5 seconds:
       - The VCM commands the solenoid ON and the voltage input remains high (B+).
       - The VCM commands the solenoid OFF and the voltage input remains low (0 volts).

Action Taken When the DTC Sets

    • The VCM illuminates the Malfunction Indicator Lamp (MIL).
    • The VCM commands third gear only.
    • The VCM commands maximum line pressure.
    • The VCM inhibits TCC engagement.
    • The VCM freezes shift adapts from being updated.
    • DTC P0758 stores in VCM history.

Conditions for Clearing the MIL/DTC

    • The VCM turns OFF the MIL after three consecutive trips without a failure reported.
    • A scan tool can clear the DTC from the VCM history. The VCM clears the DTC from the VCM history if the vehicle completes 40 warm-up cycles without a failure reported.
    • The VCM cancels the DTC default actions when the fault no longer exists and the ignition is OFF long enough in order to power down the VCM.

Diagnostic Aids

    • Inspect the wiring at the VCM, the transmission connector and all other circuit connecting points for the following conditions:
       - A bent terminal
       - A backed out terminal
       - A damaged terminal
       - Poor terminal tension
       - A chafed wire
       - A broken wire inside the insulation
       - Moisture intrusion
       - Corrosion
    • When diagnosing for an intermittent short or open condition, massage the wiring harness while watching the test equipment for a change.
    • Refer to the Shift Solenoid Valve State and Gear Ratio table.
    • A faulty ignition switch may set this code.

Test Description

The numbers below refer to the step numbers on the diagnostic table.

  1. This step tests the function of the 2-3 SS Valve and the Automatic Transmission Wiring Harness Assembly (A/T Wiring Harness Assembly).

  2. This step tests for power to the 2-3 SS Valve from the ignition through the fuse.

  3. This step tests the ability of the VCM and of the wiring to control the ground circuit.

  4. This step measures the resistance of the A/T Wiring Harness Assembly and of the 2-3 SS Valve.

DTC P0758 2-3 Shift Solenoid Circuit -- Electrical (4.3L)

Step

Action

Value(s)

Yes

No

1

Was the Powertrain On-Board Diagnostic (OBD) System Check performed?

--

Go to Step 2

Go to Powertrain On Board Diagnostic (OBD) System Check in Engine Controls

2

  1. Install the Scan Tool .
  2. With the engine OFF, turn the ignition switch to the RUN position.
  3. Important: Before clearing the DTC(s), use the scan tool in order to record the Freeze Frame and Failure Records for reference. Using the Clear Info function will erase the stored Freeze Frame and Failure Records from the VCM.

  4. Record the DTC Freeze Frame and Failure Records, then clear the DTC(s).

Are DTCs P0740, P0753, P0785 and P1860 also set?

--

Go to Step 3

Go to Step 4

3

  1. Inspect the CLSTR fuse.
  2. If the fuse is open, inspect the following components for a short to ground.
  3. Refer to General Electrical Diagnosis in Wiring Systems.

    • Circuit 1020 (PNK)
    • The solenoids
    • The A/T Wiring Harness Assembly
  4. Repair the circuit, the solenoids, and the harness if necessary.

Did you find a short to ground condition?

--

Go to Step 16

Go to Step 5

4

Using the transmission output control function on the scan tool, command the 2-3 SS Valve ON and OFF three times while listening to the bottom of the transmission pan (a stethoscope may be necessary).

Did the solenoid click when commanded?

--

Go to Diagnostic Aids

Go to Step 5

5

  1. Turn the ignition OFF.
  2. Disconnect the transmission 20-way connector (additional DTCs will set).
  3. Install the J 39775 Jumper Harness on the engine side of the 20-way connector .
  4. With the engine OFF, turn the ignition switch to the RUN position.
  5. Connect a test lamp from J 39775 Jumper Harness cavity E to ground.

Is the test lamp ON?

--

Go to Step 7

Go to Step 6

6

Repair the open or short to ground in ignition feed circuit 1020 (PNK) to the 2-3 SS Valve.

Refer to General Electrical Diagnosis in Wiring Systems.

Did you find and correct an open or short to ground condition?

--

Go to Step 16

--

7

  1. Install a test lamp between cavity E and cavity B of the J 39775 Jumper Harness.
  2. Using the transmission output control function, command the 2-3 SS Valve ON and OFF three times.

Does the test lamp illuminate when you command the shift solenoid ON, and does the test lamp turn off when you command the shift solenoid OFF?

--

Go to Step 10

Go to Step 8

8

  1. Inspect circuit 1223 (YEL/BLK) of the engine wiring harness for an open, short to ground or short to power.
  2. Repair the circuit if necessary.

Refer to General Electrical Diagnosis in Wiring Systems.

Did you find an open, short to ground or short to power condition?

--

Go to Step 16

Go to Step 9

9

Replace the VCM.

Refer to VCM Replacement/Programming in Engine Controls.

Is the replacement complete?

--

Go to Step 16

--

10

  1. Install the J 39775 Jumper Harness on the transmission side of the 20-way connector.
  2. With the J 39200 DMM and J 35616-A Connector Test Adapter Kit, measure the resistance between terminal B and terminal E.

Is the resistance within the specified range?

19-31 ohms

Go to Step 12

Go to Step 11

11

  1. Disconnect the A/T Wiring Harness Assembly from the 2-3 SS valve.
  2. Measure the resistance of the 2-3 SS Valve.

Is the resistance within the specified range?

19-31 ohms

Go to Step 14

Go to Step 15

12

Measure the resistance between terminals B and E and ground.

Are both readings greater than the specified value?

250 K ohms

Go to Diagnostic Aids

Go to Step 13

13

  1. Disconnect the A/T Wiring Harness Assembly from the 2-3 SS Valve.
  2. Measure the resistance from the component's terminals to ground.

Are both readings greater than the specified value?

250 K ohms

Go to Step 14

Go to Step 15

14

Replace the A/T Wiring Harness Assembly.

Refer to Torque Converter Clutch Pulse Width Modulation Solenoid, Torque Converter Clutch Solenoid, and Wiring Harness Replacement.

Is the replacement complete?

--

Go to Step 16

--

15

Replace the 2-3 SS Valve.

Refer to Control and Shift Solenoids Replacement .

Is the replacement complete?

--

Go to Step 16

--

16

In order to verify your repair, perform the following procedure:

  1. Select DTC.
  2. Select Clear Info.
  3. Drive the vehicle in D4 and ensure the following conditions are met:
  4. • The VCM commands the 2-3 SS Valve ON and the voltage input drops to zero.
    • The VCM commands the 2-3 SS Valve OFF and the voltage input increases to B+.
    • All conditions are met for 5 seconds.
  5. Select Specific DTC. Enter DTC P0758.

Has the test run and passed?

--

System OK

Go to Step 1