Vacuum Supply (RPO C68)
Mode
| Port 1
| Port 2
| Port 3
| Port 4
| Port 5
| Port 6
| See Remarks
|
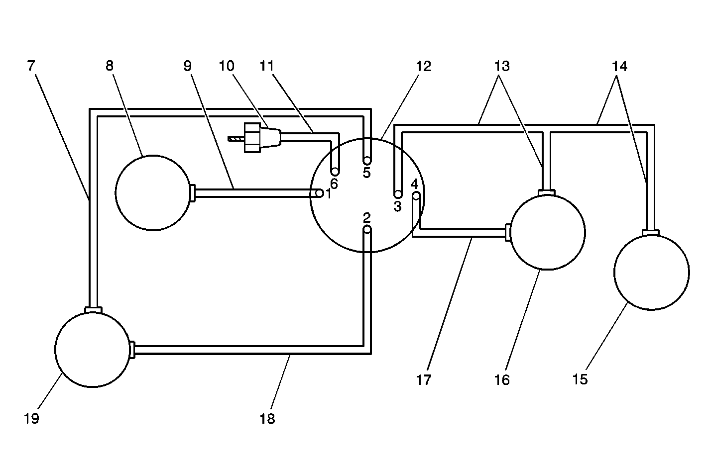
DEFINITION: This table shows the state of the vacuum supply
at the vacuum ports shown in the Vacuum Routing Diagram for each operating
mode. The port numbers are located on the bottom of the vacuum electrical
solenoid.
|
OFF/AUTO
| VAC
| VENT
| VAC
| VENT
| VENT
| VAC
| A, B
|
AUTO
| --
| --
| --
| --
| --
| --
| C
|
PANEL
| VENT
| VAC
| VENT
| VENT
| --
| VAC
| D
|
BI-LEV
| VENT
| VENT
| VAC
| VENT
| --
| VAC
| D
|
LOWER
| VAC
| VENT
| VAC
| VENT
| --
| VAC
| D
|
BLEND
| VAC
| VENT
| VENT
| VENT
| VENT
| VAC
| --
|
DEF
| VAC
| VENT
| VENT
| VAC
| VENT
| VAC
| --
|
A. The mode switch is in the
AUTO position and the blower motor switch is in the OFF position.
|
B. When the mode switch is in a manual override position
and the blower motor switch is in the OFF position, the vacuum supply will
be the same as the manual mode of operation.
|
C. The mode switch and the blower motor switch are in the AUTO position. The
Electronic Climate Control (ECC) Module will range between PANEL, BI-LEVEL
and LOWER modes.
|
D. The vacuum supply to port
five is controlled by the recirculate air button. Vacuum is supplied to port
five when the LED is ON.
|
NOTE: No source vacuum, insufficient
source vacuum, or an improperly routed vacuum supply will cause air delivery
to be improper. Refer to
Air Delivery Improper
in HVAC Systems - Automatic for proper diagnosis.
|