GM Service Manual Online
For 1990-2009 cars only
Makes
🢒
Chevrolet
🢒
2000
🢒
S10 Pickup - 2WD
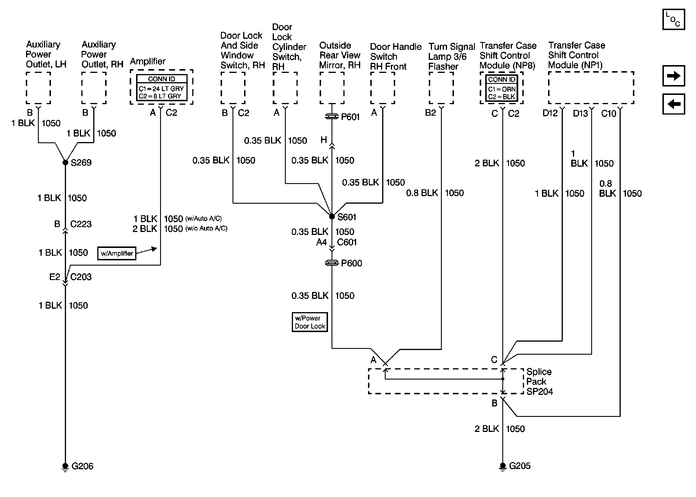
🢒 Cell 14: G205 and G206 (Utility)
Cell 14: G205 and G206 (Utility)
Cell 14: G205 and G206 (Utility)
Entertainment Connector End Views
Transfer Case Control Connector End Views
Power and Grounding Components
Cell 14: G206 (Except Base Pickup)
Cell 14: G203 and G204 (Envoy)