GM Service Manual Online
For 1990-2009 cars only
Makes
🢒
Chevrolet
🢒
2000
🢒
S10 Pickup - 2WD
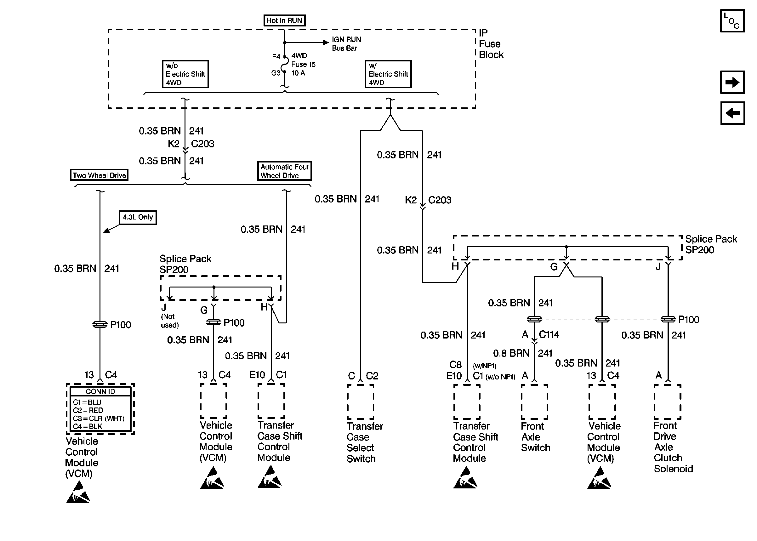
🢒 Cell 10: 4WD Fuse (4.3L)
Cell 10: 4WD Fuse (4.3L)
Cell 10: 4WD Fuse (4.3L)
Power and Grounding Components
Cell 10: HVAC and CRUISE Fuses
Cell 10: HVAC I Fuse
VCM Connector End Views
Handling ESD Sensitive Parts Notice
Handling ESD Sensitive Parts Notice
Handling ESD Sensitive Parts Notice
Handling ESD Sensitive Parts Notice
Handling ESD Sensitive Parts Notice
Cell 10: Ign RUN And START Buss Bar