GM Service Manual Online
For 1990-2009 cars only
Makes
🢒
Chevrolet
🢒
2000
🢒
S10 Pickup - 2WD
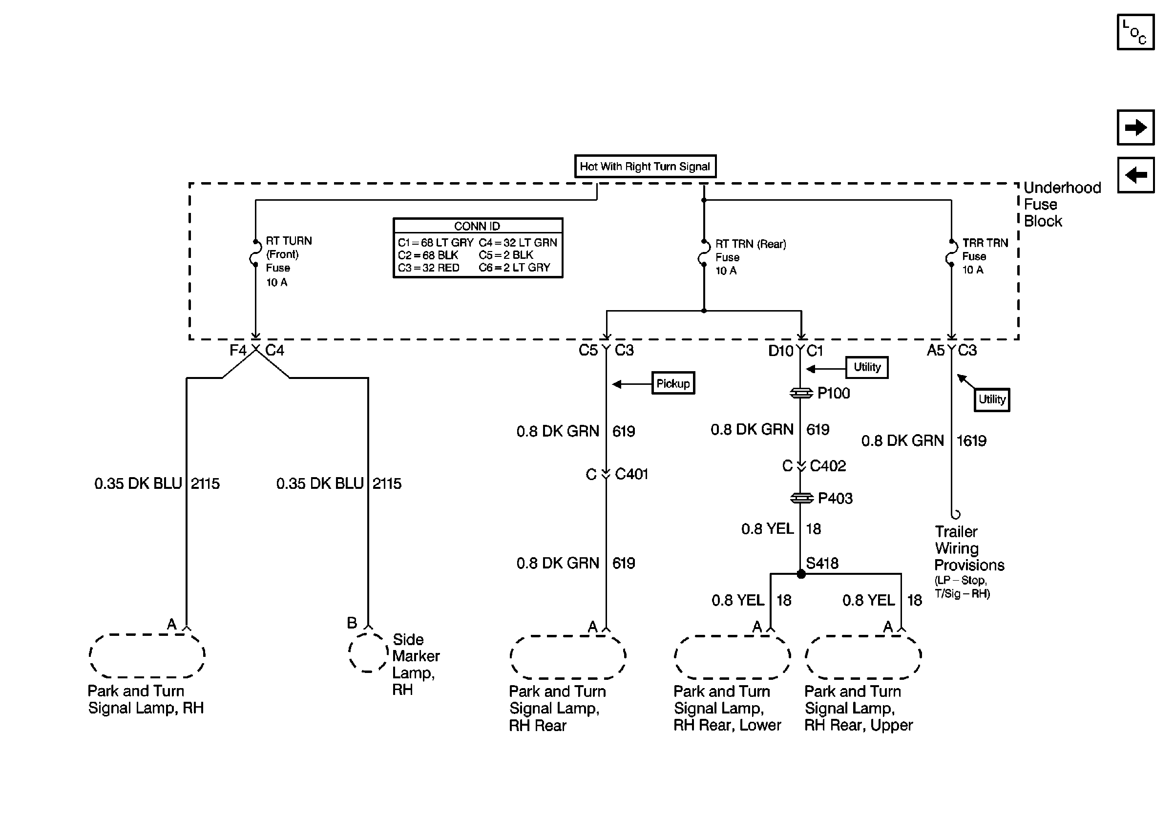
🢒 Cell 10: RT TURN, RT TRN and TRR TRN Fuses
Cell 10: RT TURN, RT TRN and TRR TRN Fuses
Cell 10: RT TURN, RT TRN and TRR TRN Fuses
Power and Grounding Connector End Views
Power and Grounding Components
Cell 10: LT TURN, LT TRN and TRL TRN Fuses
Cell 10: VECHMSL, TRCHMSL Fuses and High Mount Stop Lamp Relay