GM Service Manual Online
For 1990-2009 cars only
Makes
🢒
Chevrolet
🢒
2000
🢒
S10 Pickup - 2WD
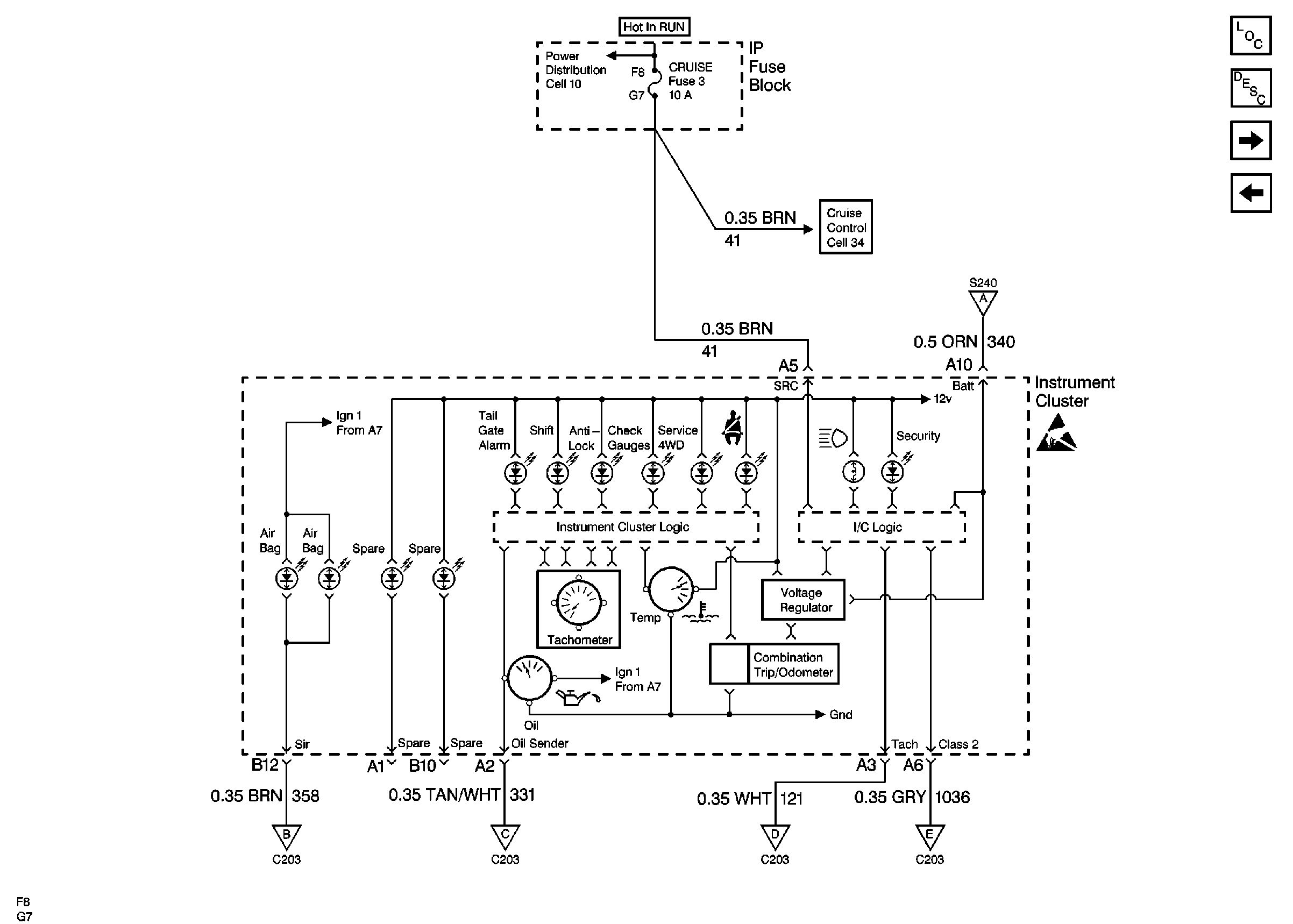
🢒 Cell 81: CRUISE Fuse and Instrument Cluster
Cell 81: CRUISE Fuse and Instrument Cluster
Cell 81: CRUISE Fuse and Instrument Cluster
Cell 10: HVAC and CRUISE Fuses
Cell 34: CRUISE Fuse, Multifunction Switch and Cruise Control Module
Cell 81: RDO BATT Fuse, Power
Instrument Cluster Components
Instrument Cluster Circuit Description
Cell 81: ILLUM, CLSTR and GAUGES Fuses and Instrument Cluster
Cell 81: RDO BATT Fuse, Power
Handling ESD Sensitive Parts Notice
Cell 81: SDM, Engine Oil Pressure Gauge Sensor, PCM/VCM and DLC
Cell 81: SDM, Engine Oil Pressure Gauge Sensor, PCM/VCM and DLC
Cell 81: SDM, Engine Oil Pressure Gauge Sensor, PCM/VCM and DLC
Cell 81: SDM, Engine Oil Pressure Gauge Sensor, PCM/VCM and DLC