GM Service Manual Online
For 1990-2009 cars only
Makes
🢒
Chevrolet
🢒
2000
🢒
S10 Pickup - 2WD
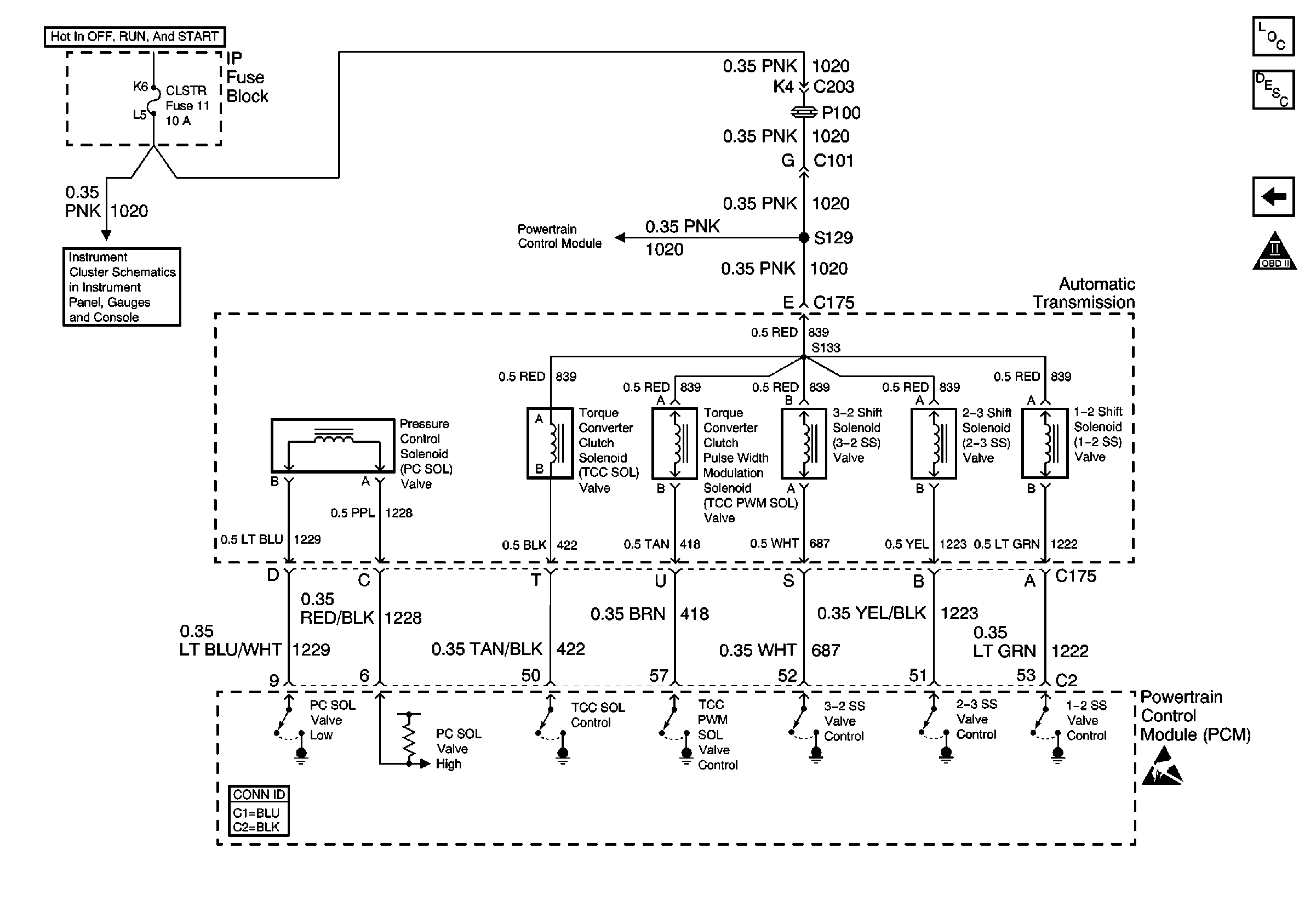
🢒 Automatic Transmission Valve Controls
Automatic Transmission Valve Controls
Automatic Transmission Valve Controls
Engine Controls Components
Powertrain Control Module Description
Automatic Transmission Switch Inputs
OBD II Symbol Description Notice
Power
Power, Grounding, Generator and MIL
Powertrain Control Module Connector End Views
Handling ESD Sensitive Parts Notice