GM Service Manual Online
For 1990-2009 cars only
Makes
🢒
Chevrolet
🢒
2000
🢒
S10 Pickup - 2WD
🢒 Speed Sensors
Speed Sensors
Speed Sensors
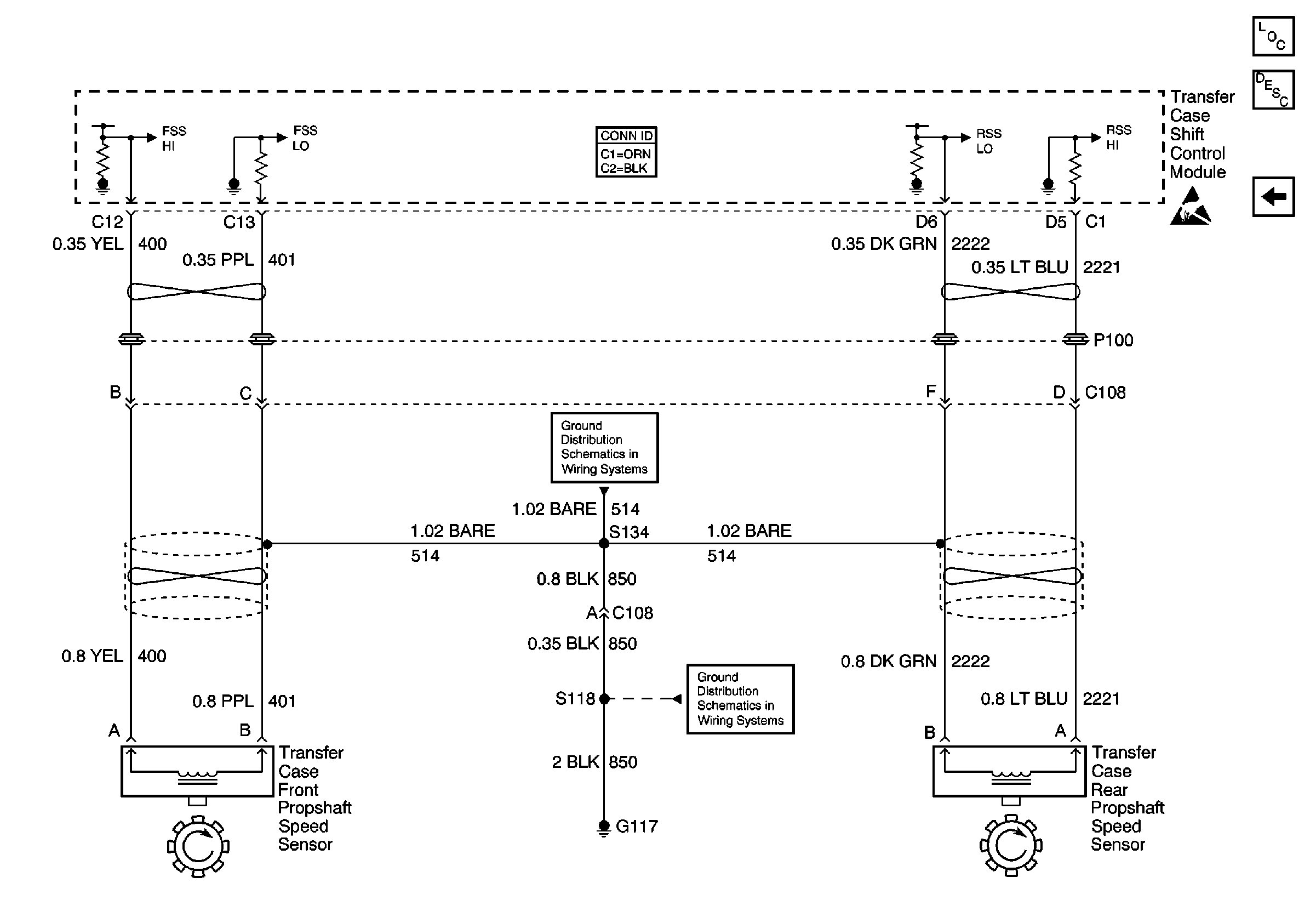
Transfer Case Control Components
Transfer Case Circuit Description
Power and Ground
Transfer Case Control Connector End Views
Handling ESD Sensitive Parts Notice
G104 and G117
G104 and G117