GM Service Manual Online
For 1990-2009 cars only
Makes
🢒
Chevrolet
🢒
2000
🢒
S10 Pickup - 2WD
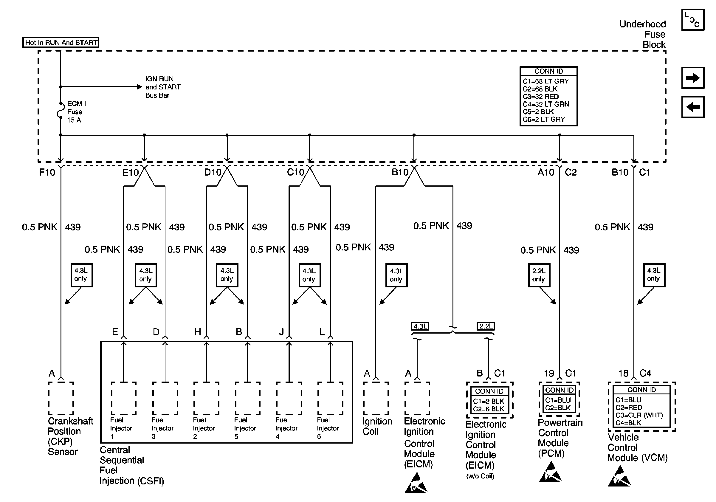
🢒 ECM I Fuse
ECM I Fuse
ECM I Fuse
Power and Grounding Components
Power Seats, Power Windows Circuit Breakers and RAP Relay
ENG I and OXYSEN Fuses
Ign RUN and START Bus Bar
Power and Grounding Connector End Views
Handling ESD Sensitive Parts Notice
Engine Controls Connector End Views
Engine Controls Connector End Views
Handling ESD Sensitive Parts Notice
Engine Controls Connector End Views
Handling ESD Sensitive Parts Notice