GM Service Manual Online
For 1990-2009 cars only
Makes
🢒
Chevrolet
🢒
2000
🢒
S10 Pickup - 2WD
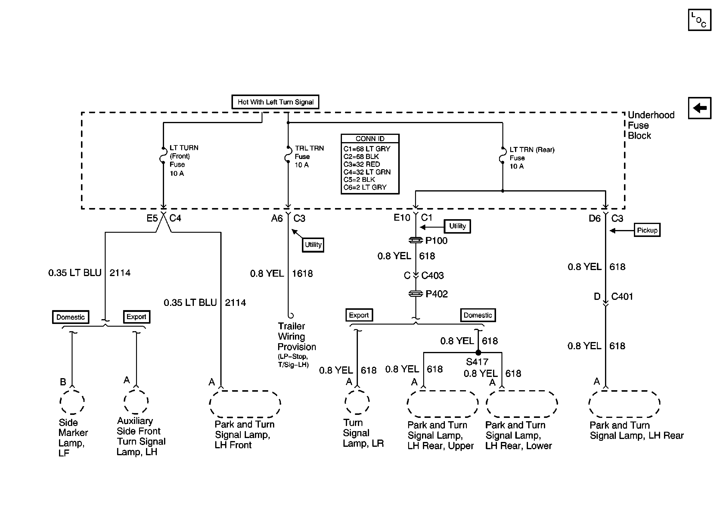
🢒 LT TURN, LT TRN and TRL TRN Fuses
LT TURN, LT TRN and TRL TRN Fuses
LT TURN, LT TRN and TRL TRN Fuses
Power and Grounding Components
RT TURN, RT TRN and TRR TRN Fuses
Stop, Turn and Hazard Bus Bar
Power and Grounding Connector End Views