GM Service Manual Online
For 1990-2009 cars only
Makes
🢒
Chevrolet
🢒
2000
🢒
S10 Pickup - 2WD
🢒 BCM (Chevy/GMC)
BCM (Chevy/GMC)
BCM (Chevy/GMC)
Entertainment Components
Radio/Audio System Circuit Description
Speakers (Regular Cab and Extended Cab w/ 3rd Door - Chevy/GMC)
Power and Ground (Chevy/GMC)
Body Control System Connector End Views
Handling ESD Sensitive Parts Notice
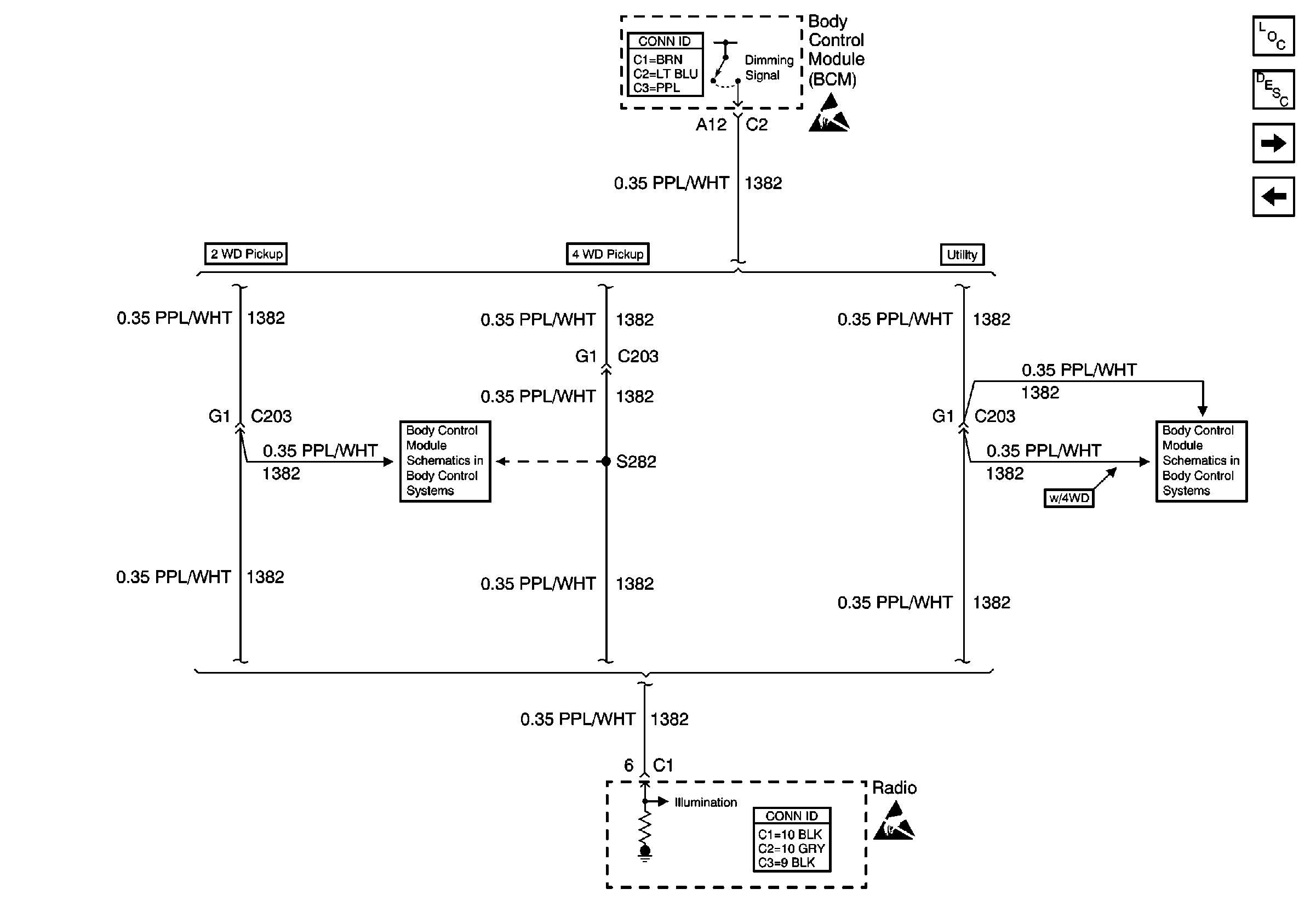
PCM/VCM, Data Link Connector (DLC) and Dimming Signal
PCM/VCM, Data Link Connector (DLC) and Dimming Signal
Entertainment Connector End Views
Handling ESD Sensitive Parts Notice