GM Service Manual Online
For 1990-2009 cars only
Makes
🢒
Chevrolet
🢒
2000
🢒
S10 Pickup - 2WD
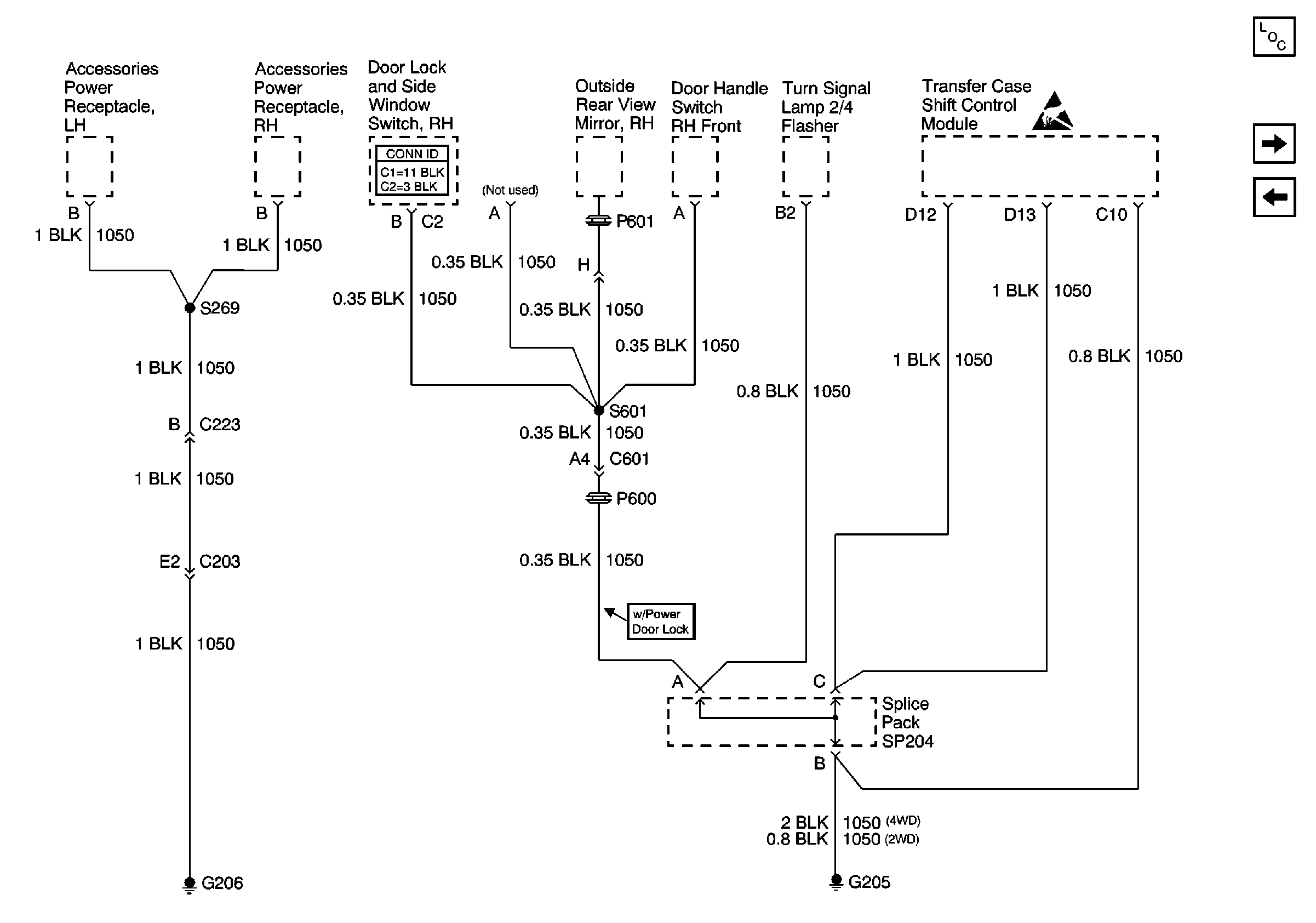
🢒 G205 and G206
G205 and G206
G205 and G206
Power and Grounding Components
G402, G422 and G475
G203 and G204
Power Door Systems Connector End Views
Handling ESD Sensitive Parts Notice