GM Service Manual Online
For 1990-2009 cars only
Makes
🢒
Chevrolet
🢒
2000
🢒
S10 Pickup - 2WD
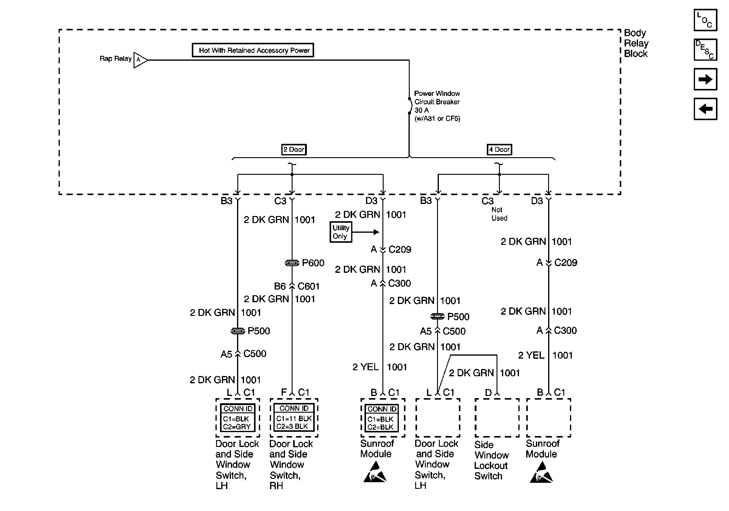
🢒 Door Lock and Side Window Switches
Door Lock and Side Window Switches
Door Lock and Side Window Switches
Retained Accessory Power (RAP) Components
Retained Accessory Power (RAP) Circuit Description
RDO IGN and STR WHL RDO IGN Fuses
RAP Relay and Ignition and Start Switch
RAP Relay and Ignition and Start Switch
Power Door Systems Connector End Views
Power Door Systems Connector End Views
Power Roof Systems Connector End Views
Handling ESD Sensitive Parts Notice
Handling ESD Sensitive Parts Notice