GM Service Manual Online
For 1990-2009 cars only

Object Number: 603249  Size: MF
Theft Deterrent System Components
Theft Deterrent System Schematics
Handling ESD Sensitive Parts Notice
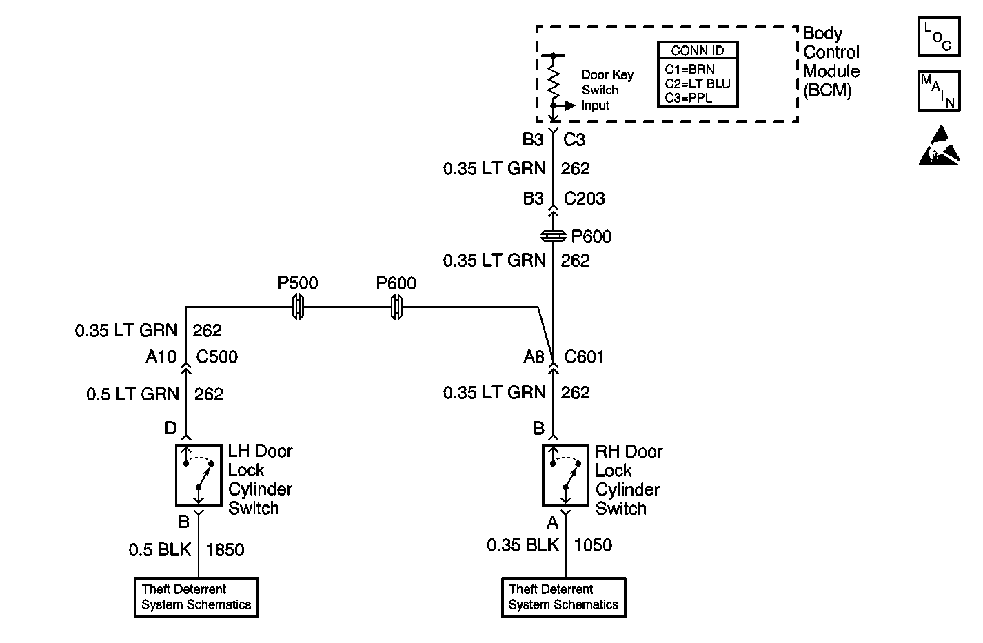
Theft Deterrent System Schematics
Theft Deterrent System Schematics

Circuit Description

The body control module (BCM) monitors the door key switch circuit for the content theft system. The BCM supplies battery voltage switch circuit. When a key is turned in either the LH or RH door lock cylinder, the door key switch is activated which pulls the door key switch circuit low. When detected by the BCM, it will disarm the content theft system or cancel a CTD alarm.

Conditions for Setting the DTC

    • When the door key switch circuit is shorted to ground for approximately 3 minutes.
    • The system voltage must be between 9.0-16.0 volts.

Action Taken When the DTC Sets

If the short to ground occurs after the vehicle is secured, the content theft system will be disarmed.

If the short to ground occurs before the vehicle is secured, the content theft system will not arm.

Conditions for Clearing the MIL/DTC

    • The current DTC will clear immediately after the short to ground is corrected.
    • A history DTC will clear after 100 consecutive ignition cycles without a fault present.
    • Use a scan tool in order to clear history DTCs immediately.

Step

Action

Value(s)

Yes

No

1

Did you perform the Theft Deterrent Diagnostic System Check?

--

Go to Step 2

Go to Diagnostic System Check - Theft Deterrent

2

  1. Install a scan tool.
  2. Turn ON the ignition, with the engine OFF.
  3. With a scan tool, observe the door key switch parameter in the BCM data list.

Does the scan tool display INACTIVE?

--

Go to Step 3

Go to Step 4

3

  1. Activate either door key switch.
  2. With the scan tool, observe the door key switch parameter.

Does the door key switch parameter change state?

--

Go to Testing for Intermittent Conditions and Poor Connections in Wiring Systems

Go to Step 4

4

  1. Turn OFF the ignition.
  2. Disconnect the LF door jamb switch (mini wedge).
  3. Turn ON the ignition, with the engine OFF.
  4. With a scan tool, observe the door key switch parameter.

Does the scan tool display INACTIVE?

--

Go to Step 8

Go to Step 5

5

  1. Turn OFF the ignition.
  2. Disconnect the RF door jamb switch (mini wedge).
  3. Turn ON the ignition, with the engine OFF.
  4. With a scan tool, observe the door key switch parameter.

Does the scan tool display INACTIVE?

--

Go to Step 9

Go to Step 6

6

Test the signal circuit of the door jamb switch (mini wedge) for a short to ground. Refer to Circuit Testing and Wiring Repairs in Wiring Systems.

Did you find and correct the condition?

--

Go to Step 13

Go to Step 7

7

Inspect for poor connections at the harness connector of the BCM. Refer to Testing for Intermittent Conditions and Poor Connections and Connector Repairs in Wiring Systems.

Did you find and correct the condition?

--

Go to Step 13

Go to Step 10

8

Inspect for poor connections at the harness connector of the LF door jamb switch (mini wedge) . Refer to Testing for Intermittent Conditions and Poor Connections and Connector Repairs in Wiring Systems.

Did you find and correct the condition?

--

Go to Step 13

Go to Step 11

9

Inspect for poor connections at the harness connector of the RF door jamb switch (mini wedge) . Refer to Testing for Intermittent Conditions and Poor Connections and Connector Repairs in Wiring Systems.

Did you find and correct the condition?

--

Go to Step 13

Go to Step 12

10

  1. Replace the BCM. Refer to Body Control Module Replacement in Body Control System.
  2. Program the BCM with the proper calibrations. Refer to Body Control Module (BCM) Programming/RPO Configuration in Body Control System.
  3. Perform the learn procedure.

Did you complete the replacement?

--

Go to Step 13

--

11

Replace the LF door jamb switch (mini wedge).

Did you complete the replacement?

--

Go to Step 13

--

12

Replace the RF door jamb switch (mini wedge).

Did you complete the replacement?

--

Go to Step 13

--

13

  1. Use the scan tool in order to clear the DTCs.
  2. Operate the vehicle within the Conditions for Running the DTC as specified in the supporting text.

Does the DTC reset?

--

Go to Step 2

System OK