GM Service Manual Online
For 1990-2009 cars only

Object Number: 573177  Size: LF
Theft Deterrent System Components
Theft Deterrent System Schematics
Theft Deterrent System Schematic Icons

Circuit Description

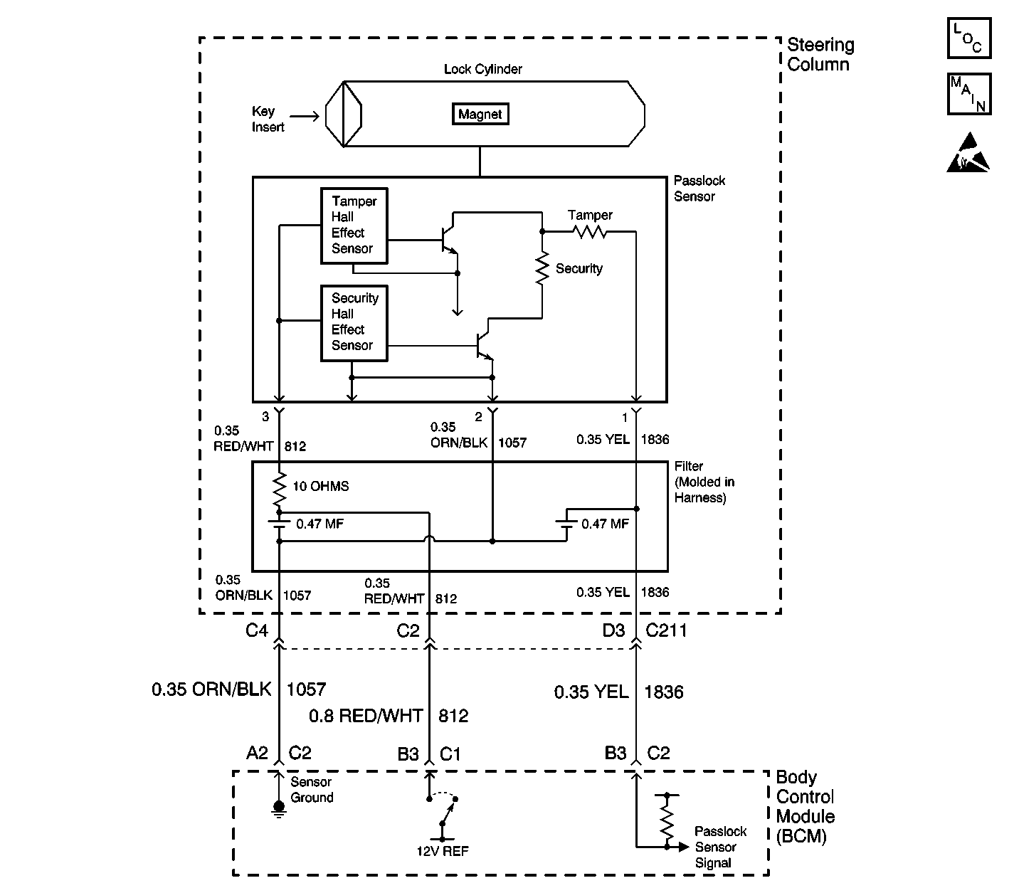
The Passlock™ system is designed in order to prevent vehicle operation if the correct ignition key is not used in order to start the vehicle. The ignition key allows the lock cylinder to turn. Once the lock cylinder turns, the Passlock™ sensor (located inside the ignition switch assembly) sends an analog voltage code to the body control module (BCM). If the BCM receives the correct analog voltage code from the Passlock™ sensor, the BCM sends a class 2 serial data password to the powertrain control module (PCM)/vehicle control module (VCM). This action allows the vehicle to start.

Conditions for Setting the DTC

The Passlock™ power circuit remains low (shorted to ground) for 1 second when the ignition switch is in the RUN position.

Action Taken When the DTC Sets

    • The vehicle does not start if the fault occurs before you start the vehicle. The security telltale will be ON.
    • The vehicle will continue to start if the fault occurs after the vehicle is running. The following conditions will exist:
       - The vehicle will be in the Fail Enable mode.
       - The security telltale will be ON.

Conditions for Clearing the MIL/DTC

    • All current DTC (except B3031) clears after an ignition cycle occurs without the fault recurring.
    • A history DTC clears after 100 concurrent ignition cycles occur without the fault recurring.
    • Use a scan tool in order to clear history and current DTCs.

Diagnostic Aids

    • When the ignition switch is turned from the OFF position to the RUN position, the security telltale will turn ON STEADY amd then turn OFF after 3 seconds.
    • Perform a visual inspection of the wiring.
    • Perform a visual inspection of the connectors.

Test Description

The numbers below refer to the step numbers on the diagnostic table.

  1. Verifies the existence of this current DTC.

  2. Tests for a short to ground in the Passlock™ sensor or the pigtail harness.

  3. Tests for a short to ground in the 12v reference circuit.

Step

Action

Value(s)

Yes

No

1

Did you perform the Theft Deterrent (VTD) Diagnostic System Check?

--

Go to Step 2

Go to Diagnostic System Check - Theft Deterrent

2

  1. Install a scan tool.
  2. Turn ON the ignition, with the engine OFF.
  3. Select the body control module display DTCs function on the scan tool.

Does the scan tool display DTC B2947 as a current DTC?

--

Go to Step 3

Go to Testing for Intermittent Conditions and Poor Connections

3

  1. Disconnect the Passlock ™ sensor connector.
  2. Measure the voltage from the 12v reference circuit to a good ground.

Does the voltage measure within the specified range?

B+

Go to Step 7

Go to Step 4

4

Test the 12v reference circuit for a short to ground. Refer to Circuit Testing and Wiring Repairs in Wiring Systems.

Did you find and correct the condition?

--

Go to Step 10

Go to Step 5

5

Inspect for poor connections at the BCM. Refer to Testing for Intermittent Conditions and Poor Connections and Connector Repairs in Wiring Systems.

Did you find and correct the condition?

--

Go to Step 10

Go to Step 6

6

Important: Perform the set up procedure for the body control module .

Replace the body control module. Refer to Body Control Module Replacement in Body Control Systems.

Did you complete the replacement?

--

Go to Step 10

--

7

Inspect for poor connections at the Passlock ™ sensor. Refer to Testing for Intermittent Conditions and Poor Connections and Connector Repairs in Wiring Systems.

Did you find and correct the condition?

--

Go to Step 10

Go to Step 8

8

Replace the Passlock™ sensor in the electronic column lock module assembly. Use the appropriate procedure from the following list:

    • Tilt Wheel
       - With column shift
             1. Disassemble Electronic Column Lock Module - Disassemble - Off Vehicle
             2. Assemble Electronic Column Lock Module - Assemble - Off Vehicle
       - With floor shift
             1. Disassemble Electronic Column Lock Module - Disassemble - Off Vehicle
             2. Assemble Electronic Column Lock Module - Assemble - Off Vehicle
    • Standard Wheel
       - With column shift
             1. Disassemble Electronic Column Lock Module - Disassemble - Off Vehicle
             2. Assemble Electronic Column Lock Module - Assemble - Off Vehicle
       - With floor shift
             1. Disassemble Electronic Column Lock Module - Disassemble - Off Vehicle
             2. Assemble Electronic Column Lock Module - Assemble - Off Vehicle

Did you complete the replacement?

--

Go to Step 9

--

9

Perform one of the following Passlock™ learn procedures:

    •  PASSLOCK Reprogramming Seed and Key (10 minutes).
    •  PASSLOCK Reprogramming Auto Learn (30 minutes).

Is the repair complete?

--

Go to Step 10

--

10

  1. Use the scan tool in order to clear the DTCs.
  2. Turn OFF the ignition
  3. Turn ON the ignition, with the engine OFF.
  4. Select the body control module display DTCs function on the scan tool.

Does the DTC reset?

--

Go to Step 3

System OK