GM Service Manual Online
For 1990-2009 cars only

DTC P0758 2-3 Shift Solenoid Circuit Electrical 2.2L


Object Number: 548685  Size: MF
Automatic Transmission Components
Automatic Transmission Controls Schematics
OBD II Symbol Description Notice
Handling ESD Sensitive Parts Notice

Circuit Description

The 2-3 shift solenoid (SS) valve controls the fluid flow acting on the 2-3 shift valves. The 2-3 SS valve is a normally-open exhaust valve that is used with the 1-2 SS valve in order to allow four different shifting combinations. The solenoid attaches to the control valve body within the transmission. The 2-3 SS valve receives ignition voltage through circuit 1020. The powertrain control module (PCM) controls the solenoid by providing the ground path on circuit 1223.

When the PCM detects a continuous open or short to ground in the 2-3 SS valve circuit or the 2-3 SS valve, then DTC P0758 sets. DTC P0758 is a type A DTC.

Conditions for Running the DTC

The system voltage is 10-18 volts.

Conditions for Setting the DTC

DTC P0758 sets if one of the following conditions occurs for 5 seconds:

Condition 1

The PCM commands the solenoid ON and the voltage feedback remains high (B+).

Condition 2

The PCM commands the solenoid OFF and the voltage feedback remains low (0 volts).

Action Taken When the DTC Sets

    • The PCM illuminates the malfunction indicator lamp (MIL).
    • The PCM commands third gear only.
    • The PCM commands maximum line pressure.
    • The PCM inhibits TCC engagement.
    • The PCM freezes shift adapts from being updated.
    • The PCM records the operating conditions when the Conditions for Setting the DTC are met. The PCM stores this information as Freeze Frame and Failure Records.
    • The PCM stores DTC P0758 in PCM history.

Conditions for Clearing the MIL/DTC

    • The PCM turns OFF the MIL during the third consecutive trip in which the diagnostic test runs and passes.
    • A scan tool can clear the MIL/DTC.
    • The PCM clears the DTC from PCM history if the vehicle completes 40 warm-up cycles without an emission-related diagnostic fault occurring.
    • The PCM cancels the DTC default actions when the fault no longer exists and/or the ignition switch is OFF long enough in order to power down the PCM.

Diagnostic Aids

    • Inspect the connectors at the PCM, the 2-3 SS valve and all other circuit connecting points for an intermittent condition. Refer to Testing for Intermittent Conditions and Poor Connections in Wiring Systems.
    • Inspect the circuit wiring for an intermittent condition. Refer to Testing for Electrical Intermittents in Wiring Systems.
    • Refer to the Shift Solenoid Valve State and Gear Ratio table.
    • A faulty ignition switch may set this code.

Test Description

The numbers below refer to the step numbers on the diagnostic table.

  1. This step tests the function of the 2-3 SS valve and the automatic transmission (AT) wiring harness assembly.

  2. This step tests for power to the 2-3 SS valve from the ignition through the fuse.

  3. This step tests the ability of the PCM and the wiring to control the ground circuit.

  4. This step measures the resistance of the AT wiring harness assembly and the 2-3 SS valve.

DTC P0758 2-3 SS Circuit Electrical (2.2L)

Step

Action

Value(s)

Yes

No

1

Did you perform the Powertrain Diagnostic System Check?

--

Go to Step 2

Go to Powertrain On Board Diagnostic (OBD) System Check (2.2L) in Engine Controls

2

  1. Install the a Scan Tool .
  2. Turn ON the ignition, with the engine OFF.
  3. Important: Before clearing the DTC, use the Scan Tool in order to record the Freeze Frame and Failure Records. Using the Clear Info function erases the Freeze Frame and Failure Records from the PCM.

  4. Record the DTC Freeze Frame and Failure Records.
  5. Clear the DTC.

Are any of the following DTCs also set?

    • P0740
    • P0753
    • P0785
    • P1860

--

Go to Step 3

Go to Step 4

3

Inspect the CLSTR fuse for an open.

Refer to General Electrical Diagnosis in Wiring Systems.

Is the fuse open?

--

Go to Step 12

Go to Step 5

4

Use the Scan Tool in order to command the 2-3 SS valve ON and OFF three times while listening to the bottom of the transmission pan (a stethoscope may be necessary).

Does the solenoid click when commanded?

--

Go to Diagnostic Aids

Go to Step 5

5

  1. Turn OFF the ignition.
  2. Disconnect the AT inline 20-way connector (additional DTCs may set).
  3. Install the J 44152 jumper harness (20 pins) on the engine side of the AT inline 20-way connector.
  4. Turn ON the ignition, with the engine OFF.
  5. Using the J 35616 connector test adapter kit, connect a test lamp from terminal E of the J 44152 to ground.
  6. Refer to Automatic Transmission Inline Harness Connector End View .

Does the test lamp illuminate?

--

Go to Step 6

Go to Step 15

6

  1. Connect a test lamp between terminal E and terminal B of the J 44152 .
  2. Refer to Automatic Transmission Inline Harness Connector End View .

  3. Use the Scan Tool in order to command the 2-3 SS valve ON and OFF three times.

Does the test lamp turn ON and OFF with each command?

--

Go to Step 8

Go to Step 7

7

Is the test lamp always ON?

--

Go to Step 16

Go to Step 17

8

  1. Install the J 44152 on the transmission side of the AT inline 20-way connector.
  2. Using the J 39200 DMM and J 35616 , measure the resistance between terminal B and terminal E of the J 44152 .
  3. Refer to Automatic Transmission Inline Harness Connector End View .

Does the resistance measure within the specified range?

19-31 ohms

Go to Step 9

Go to Step 10

9

Measure the resistance from terminal B to ground, and from terminal E to ground.

Do both readings measure greater than the specified value?

250 K ohms

Go to Diagnostic Aids

Go to Step 11

10

  1. Disconnect the AT wiring harness assembly from the 2-3 SS valve.
  2. Measure the resistance of the 2-3 SS valve.

Does the resistance measure within the specified range?

19-31 ohms

Go to Step 18

Go to Step 19

11

  1. Disconnect the AT wiring harness assembly from the 2-3 SS valve.
  2. Measure the resistance from the component's terminals to ground.

Do both readings measure greater than the specified value?

250 K ohms

Go to Step 18

Go to Step 19

12

Important: The condition that affects this circuit may exist in other connecting branches of the circuit. Refer to Power Distribution Schematics in Wiring Systems for complete circuit distribution.

Test the power feed circuit (CKT 1020) of the 2-3 SS valve for a short to ground between the IP fuse block and the AT inline 20-way connector.

Refer to Circuit Testing and Wiring Repairs in Wiring Systems.

Did you find and correct the condition?

--

Go to Step 21

Go to Step 13

13

Important: The condition that affects this circuit may exist in other connecting branches of the circuit. Refer to Power Distribution Schematics in Wiring Systems for complete circuit distribution.

Test the power feed circuit (CKT 839) of the 2-3 SS valve for a short to ground between the AT inline 20-way connector and the 2-3 SS valve.

Refer to Circuit Testing in Wiring Systems.

Did you find a short to ground condition?

--

Go to Step 18

Go to Step 14

14

  1. Test each solenoid for a short to ground.
  2. Replace the faulty solenoid as necessary.

Did you complete the replacement?

--

Go to Step 21

--

15

Important: The condition that affects this circuit may exist in other connecting branches of the circuit. Refer to Power Distribution Schematics in Wiring Systems for complete circuit distribution.

Test the power feed circuit (CKT 1020) of the 2-3 SS valve for an open.

Refer to Circuit Testing and Wiring Repairs in Wiring Systems.

Did you find and correct the condition?

--

Go to Step 21

--

16

Test the control circuit (CKT 1223) of the 2-3 SS valve for a short to ground between the PCM connector C2 and the AT inline 20-way connector.

Refer to Circuit Testing and Wiring Repairs in Wiring Systems.

Did you find and correct the condition?

--

Go to Step 21

Go to Step 20

17

Test the control circuit (CKT 1223) of the 2-3 SS valve for an open or short to power between the PCM connector C2 and the AT inline 20-way connector.

Refer to Circuit Testing and Wiring Repairs in Wiring Systems.

Did you find and correct the condition?

--

Go to Step 21

Go to Step 20

18

Replace the AT wiring harness assembly.

Refer to Valve Body .

Did you complete the replacement?

--

Go to Step 21

--

19

Replace the 2-3 SS valve.

Refer to Valve Body .

Did you complete the replacement?

--

Go to Step 21

--

20

Replace the PCM.

Refer to Powertrain Control Module Replacement/Programming in Engine Controls.

Did you complete the replacement?

--

Go to Step 21

--

21

Perform the following procedure in order to verify the repair:

  1. Select DTC.
  2. Select Clear Info.
  3. Drive the vehicle in D4 range and ensure that the following conditions are met:
  4. • The PCM commands the 2-3 SS valve ON and the voltage feedback drops to zero.
    • The PCM commands the 2-3 SS valve OFF and the voltage feedback increases to B+.
    • All conditions are met for 5 seconds.
  5. Select Specific DTC.
  6. Enter DTC P0758.

Has the test run and passed?

--

System OK

Go to Step 1

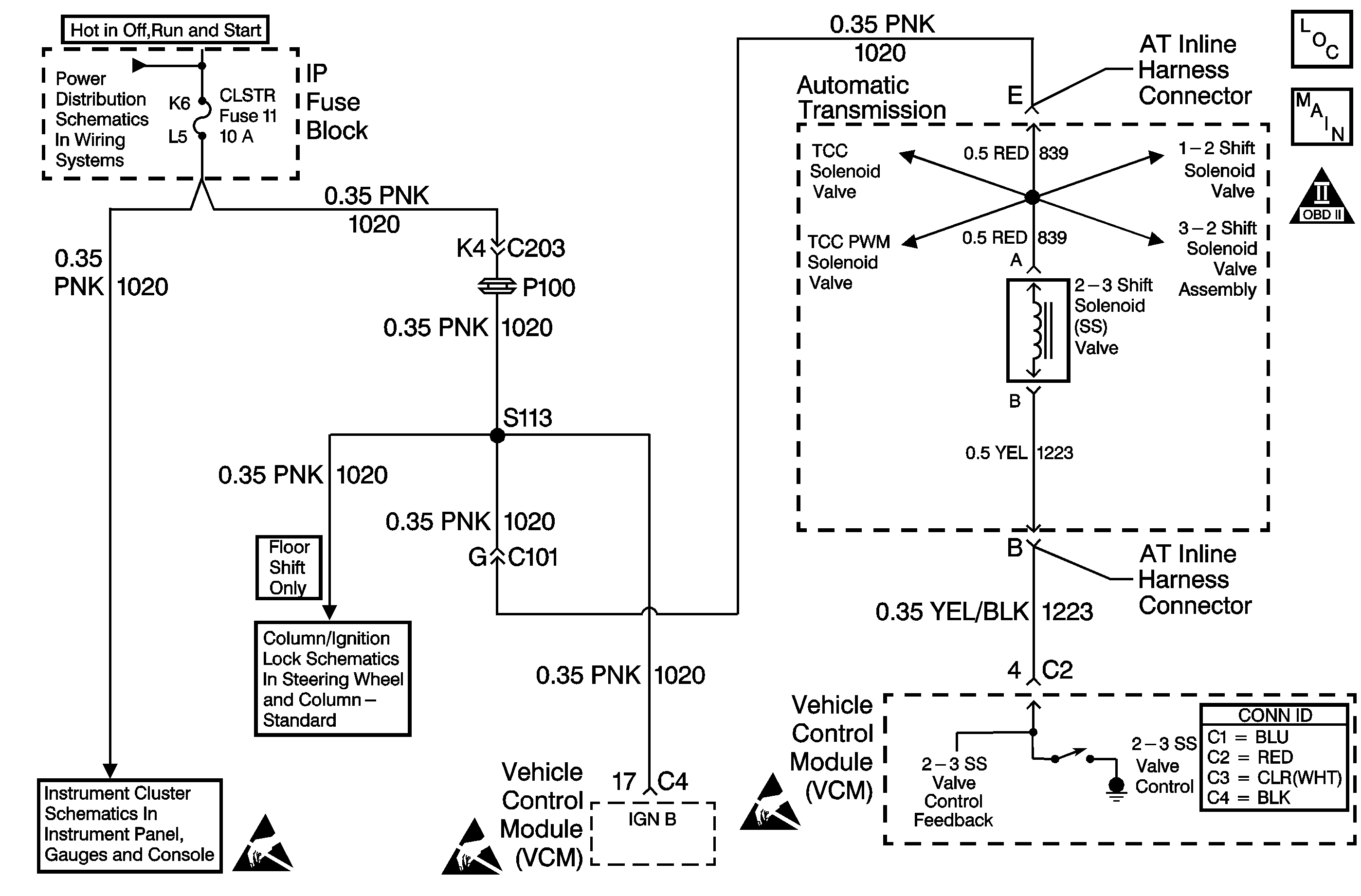
DTC P0758 2-3 Shift Solenoid Circuit Electrical 4.3L


Object Number: 548757  Size: MF
Automatic Transmission Components
Automatic Transmission Controls Schematics
OBD II Symbol Description Notice
Handling ESD Sensitive Parts Notice
Handling ESD Sensitive Parts Notice
Handling ESD Sensitive Parts Notice

Circuit Description

The 2-3 shift solenoid (SS) valve controls the fluid flow acting on the 2-3 shift valves. The solenoid is a normally-open exhaust valve. With the 1-2 SS valve, the 2-3 SS valve allows four different shifting combinations. The solenoid attaches to the control valve body within the transmission. The 2-3 SS valve receives ignition voltage through circuit 1020. The vehicle control module (VCM) controls the solenoid by providing the ground path on circuit 1223.

When the VCM detects a continuous open, short to ground or short to power in the 2-3 SS valve circuit, then DTC P0758 sets. DTC P0758 is a type A DTC.

Conditions for Running the DTC

    • The system voltage is 10-19 volts.
    • The engine speed is greater than 450 RPM for 5 seconds.
    • The engine is not in fuel cutoff.

Conditions for Setting the DTC

DTC P0758 sets if one of the following conditions occurs for 5 seconds:

Condition 1

The VCM commands the solenoid ON and the voltage feedback remains high (B+).

Condition 2

The VCM commands the solenoid OFF and the voltage feedback remains low (0 volts).

Action Taken When the DTC Sets

    • The VCM illuminates the malfunction indicator lamp (MIL).
    • The VCM commands third gear only.
    • The VCM commands maximum line pressure.
    • The VCM inhibits TCC engagement.
    • The VCM freezes shift adapts from being updated.
    • The VCM records the operating conditions when the Conditions for Setting the DTC are met. The VCM stores this information as Freeze Frame and Failure Records.
    • The VCM stores DTC P0758 in VCM history.

Conditions for Clearing the MIL/DTC

    • The VCM turns OFF the MIL during the third consecutive trip in which the diagnostic test runs and passes.
    • A scan tool can clear the MIL/DTC.
    • The VCM clears the DTC from VCM history if the vehicle completes 40 warm-up cycles without an emission-related diagnostic fault occurring.
    • The VCM cancels the DTC default actions when the fault no longer exists and/or the ignition switch is OFF long enough in order to power down the VCM.

Diagnostic Aids

    • Inspect the connectors at the VCM, the 2-3 SS valve and all other circuit connecting points for an intermittent condition. Refer to Testing for Intermittent Conditions and Poor Connections in Wiring Systems.
    • Inspect the circuit wiring for an intermittent condition. Refer to Testing for Electrical Intermittents in Wiring Systems.
    • Refer to the Shift Solenoid Valve State and Gear Ratio table.
    • A faulty ignition switch may set this code.

Test Description

The numbers below refer to the step numbers on the diagnostic table.

  1. This step tests the function of the 2-3 SS valve and the automatic transmission (AT) wiring harness assembly.

  2. This step tests for power to the 2-3 SS valve from the ignition through the fuse.

  3. This step tests the ability of the VCM and of the wiring to control the ground circuit.

  4. This step measures the resistance of the AT wiring harness assembly and of the 2-3 SS valve.

DTC P0758 2-3 Shift Solenoid Circuit -- Electrical (4.3L)

Step

Action

Value(s)

Yes

No

1

Did you perform the Powertrain Diagnostic System Check?

--

Go to Step 2

Go to Powertrain On Board Diagnostic (OBD) System Check (4.3L) in Engine Controls

2

  1. Install a Scan Tool .
  2. Turn ON the ignition, with the engine OFF.
  3. Important: Before clearing the DTC, use the Scan Tool in order to record the Freeze Frame and Failure Records. Using the Clear Info function erases the Freeze Frame and Failure Records from the VCM.

  4. Record the DTC Freeze Frame and Failure Records.
  5. Clear the DTC.

Are any of the following DTCs also set?

    • P0740
    • P0753
    • P0785
    • P1860

--

Go to Step 3

Go to Step 4

3

Inspect the CLSTR fuse for an open.

Refer to General Electrical Diagnosis in Wiring Systems.

Is the fuse open?

--

Go to Step 12

Go to Step 5

4

Use the Scan Tool in order to command the 2-3 SS valve ON and OFF three times while listening to the bottom of the transmission pan (a stethoscope may be necessary).

Does the solenoid click when commanded?

--

Go to Diagnostic Aids

Go to Step 5

5

  1. Turn OFF the ignition.
  2. Disconnect the AT inline 20-way connector (additional DTCs may set).
  3. Install the J 44152 jumper harness (20 pins) on the engine side of the AT inline 20-way connector.
  4. Turn ON the ignition, with the engine OFF.
  5. Using the J 35616 connector test adapter kit, connect a test lamp from terminal E of the J 44152 to ground.
  6. Refer to Automatic Transmission Inline Harness Connector End View .

Does the test lamp illuminate?

--

Go to Step 6

Go to Step 15

6

  1. Connect a test lamp between terminal E and terminal B of the J 44152 .
  2. Refer to Automatic Transmission Inline Harness Connector End View .

  3. Use the Scan Tool in order to command the 2-3 SS valve ON and OFF three times.

Does the test lamp turn ON and OFF with each command?

--

Go to Step 8

Go to Step 7

7

Is the test lamp always ON?

--

Go to Step 16

Go to Step 17

8

  1. Install the J 44152 on the transmission side of the AT inline 20-way connector.
  2. Using the J 39200 digital multimeter (DMM) and J 35616 connector test adapter kit, measure the resistance between terminal B and terminal E of the J 44152 .
  3. Refer to Automatic Transmission Inline Harness Connector End View .

Does the resistance measure within the specified range?

19-31 ohms

Go to Step 9

Go to Step 10

9

Measure the resistance from terminal B to ground, and from terminal E to ground.

Do both readings measure greater than the specified value?

250 K ohms

Go to Diagnostic Aids

Go to Step 11

10

  1. Disconnect the AT wiring harness assembly from the 2-3 SS valve.
  2. Measure the resistance of the 2-3 SS valve.

Does the resistance measure within the specified range?

19-31 ohms

Go to Step 18

Go to Step 19

11

  1. Disconnect the AT wiring harness assembly from the 2-3 SS valve.
  2. Measure the resistance from the component's terminals to ground.

Do both readings measure greater than the specified value?

250 K ohms

Go to Step 18

Go to Step 19

12

Important: The condition that affects this circuit may exist in other connecting branches of the circuit. Refer to Power Distribution Schematics in Wiring Systems for complete circuit distribution.

Test the power feed circuit (CKT 1020) of the 2-3 SS valve for a short to ground between the IP fuse block and the AT inline 20-way connector.

Refer to Circuit Testing and Wiring Repairs in Wiring Systems.

Did you find and correct the condition?

--

Go to Step 21

Go to Step 13

13

Important: The condition that affects this circuit may exist in other connecting branches of the circuit. Refer to Power Distribution Schematics in Wiring Systems for complete circuit distribution.

Test the power feed circuit (CKT 839) of the 2-3 SS valve for a short to ground between the AT inline 20-way connector and the 2-3 SS valve.

Refer to Circuit Testing in Wiring Systems.

Did you find a short to ground condition?

--

Go to Step 18

Go to Step 14

14

  1. Test each solenoid for a short to ground.
  2. Replace the faulty solenoid as necessary.

Did you complete the replacement?

--

Go to Step 21

--

15

Important: The condition that affects this circuit may exist in other connecting branches of the circuit. Refer to Power Distribution Schematics in Wiring Systems for complete circuit distribution.

Test the power feed circuit (CKT 1020) of the 2-3 SS valve for an open.

Refer to Circuit Testing and Wiring Repairs in Wiring Systems.

Did you find and correct the condition?

--

Go to Step 21

--

16

Test the control circuit (CKT 1223) of the 2-3 SS valve for a short to ground between the VCM connector C2 and the AT inline 20-way connector.

Refer to Circuit Testing and Wiring Repairs in Wiring Systems.

Did you find and correct the condition?

--

Go to Step 21

Go to Step 20

17

Test the control circuit (CKT 1223) of the 2-3 SS valve for an open or short to power between the VCM connector C2 and the AT inline 20-way connector.

Refer to Circuit Testing and Wiring Repairs in Wiring Systems.

Did you find and correct the condition?

--

Go to Step 21

Go to Step 20

18

Replace the AT wiring harness assembly.

Refer to Valve Body .

Did you complete the replacement?

--

Go to Step 21

--

19

Replace the 2-3 SS valve.

Refer to Valve Body .

Did you complete the replacement?

--

Go to Step 21

--

20

Replace the VCM.

Refer to VCM Replacement/Programming (4.3L) in Engine Controls.

Did you complete the replacement?

--

Go to Step 21

--

21

Perform the following procedure in order to verify the repair:

  1. Select DTC.
  2. Select Clear Info.
  3. Drive the vehicle in D4 and ensure the following conditions are met:
  4. • The VCM commands the 2-3 SS valve ON and the voltage feedback drops to zero.
    • The VCM commands the 2-3 SS valve OFF and the voltage feedback increases to B+.
    • All conditions are met for 5 seconds.
  5. Select Specific DTC.
  6. Enter DTC P0758.

Has the test run and passed?

--

System OK

Go to Step 1