GM Service Manual Online
For 1990-2009 cars only

Removal Procedure

    Caution: Unless directed otherwise, the ignition and start switch must be in the OFF or LOCK position, and all electrical loads must be OFF before servicing any electrical component. Disconnect the negative battery cable to prevent an electrical spark should a tool or equipment come in contact with an exposed electrical terminal. Failure to follow these precautions may result in personal injury and/or damage to the vehicle or its components.

  1. Disconnect the negative battery cable.
  2. Notice: The pickup truck fuel filler pipe contains screens. In order to prevent damage to the screens, do not drain the fuel through the fuel tank filler pipe.

  3. Drain the fuel tank. Refer to Fuel Tank Draining .
  4. Caution: To avoid any vehicle damage, serious personal injury or death when major components are removed from the vehicle and the vehicle is supported by a hoist, support the vehicle with jack stands at the opposite end from which the components are being removed and strap the vehicle to the hoist.

  5. Raise the vehicle and suitably support.

  6. Object Number: 57074  Size: SH
  7. Remove the fuel tank shield (1).
  8. With aid of an assistant, support the fuel tank and disconnect the two fuel tank retaining straps (2).
  9. Disconnect the fuel sender electrical connector.

  10. Object Number: 638796  Size: SH
  11. Disconnect the fuel tank pressure (FTP) sensor electrical connector.
  12. Remove the hoses from the fuel sender.
  13. Remove the filler, vent and vapor pipes.

  14. Object Number: 57075  Size: SH
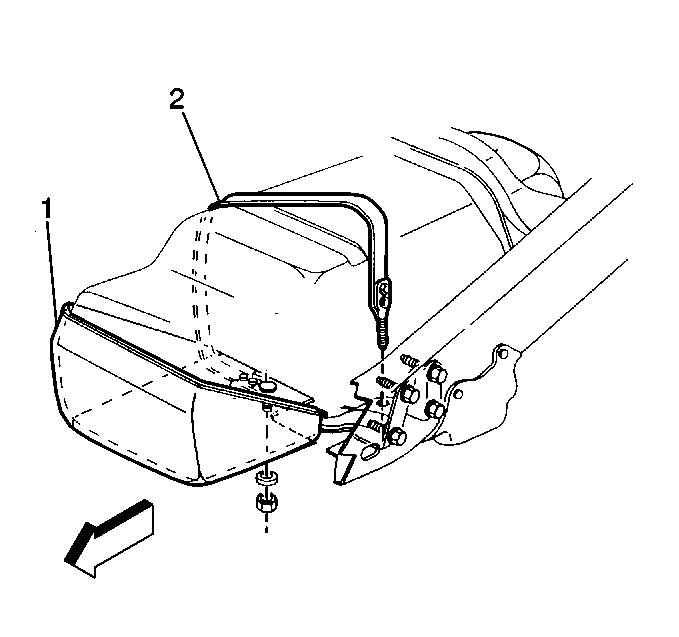
  15. Remove the fuel tank (2) from vehicle.
  16. Remove the sound insulators (1).

Installation Procedure

Important: Inspect all connectors for dirt and burrs. Clean or replace components/assemblies as required. Fuel line O-rings for cuts, nicks, swelling or distortion. Replace if necessary.


    Object Number: 57075  Size: SH
  1. Install the sound insulators (1).
  2. With the aid of an assistant, install the fuel tank (2) to the body.
  3. Caution: Always apply a few drops of clean engine oil to the male pipe ends before connecting the fuel pipe fittings in order to reduce the risk of fire and personal injury. This will ensure proper reconnection and prevent a possible fuel leak. During normal operation, the O-rings located in the female connector will swell and may prevent proper reconnection if not lubricated.

  4. Install the hoses to filler, vent and vapor pipes.

  5. Object Number: 638796  Size: SH
  6. Connect the FTP sensor electrical connector.
  7. Connect the fuel tank sender electrical connector.

  8. Object Number: 57074  Size: SH

    Notice: Use the correct fastener in the correct location. Replacement fasteners must be the correct part number for that application. Fasteners requiring replacement or fasteners requiring the use of thread locking compound or sealant are identified in the service procedure. Do not use paints, lubricants, or corrosion inhibitors on fasteners or fastener joint surfaces unless specified. These coatings affect fastener torque and joint clamping force and may damage the fastener. Use the correct tightening sequence and specifications when installing fasteners in order to avoid damage to parts and systems.

  9. Install the fuel tank retaining straps (2).
  10. Tighten
    Tighten the bolts to 45 N·m (33 lb ft).

  11. Install the fuel tank shield (1).
  12. Lower the vehicle.
  13. Refill the fuel tank.
  14. Reconnect the negative battery cable.
  15. Inspect for fuel leaks through the following steps:
  16. 11.1. Turn ON the ignition for 2 seconds.
    11.2. Turn OFF the ignition for 10 seconds.
    11.3. Turn ON the ignition.
    11.4. Inspect for fuel leaks.