GM Service Manual Online
For 1990-2009 cars only
Makes
🢒
Chevrolet
🢒
2001
🢒
S10 Pickup - 2WD
🢒
Engine
🢒
Engine Controls - 2.2L (L43)
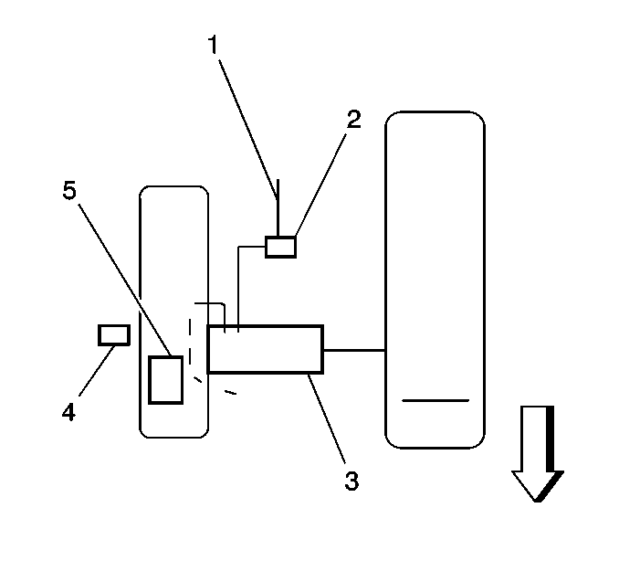
🢒 Emission Hose Routing Diagram
Figure
1:
(1)
To Rear Mounted EVAP Canister
(2)
EVAP Canister Purge Solenoid Valve
(3)
Throttle Body
(4)
Service Port
(5)
MAP Sensor
Figure
2:
EVAP System Overview
(1)
EVAP Canister Purge Solenoid
(2)
EVAP Canister
(3)
Fuel Fill Neck/Fill Cap
(4)
Rollover Valve/Fuel Tank Pressure (FTP) Sensor
(5)
Fuel Tank
(6)
EVAP Canister Vent Solenoid
(7)
Vent Hose/Pipe
(8)
EVAP Vapor Pipe
(9)
EVAP Purge Pipe
(10)
EVAP Service Port