GM Service Manual Online
For 1990-2009 cars only
Figure 1:

Air Injection (AIR) Fuse Block


Object Number: 401623  Size: MF
(1)C117
(2)Splice S105
(3)AIR Fuse Block
(4)AIR Jumper Harness
Figure 2:

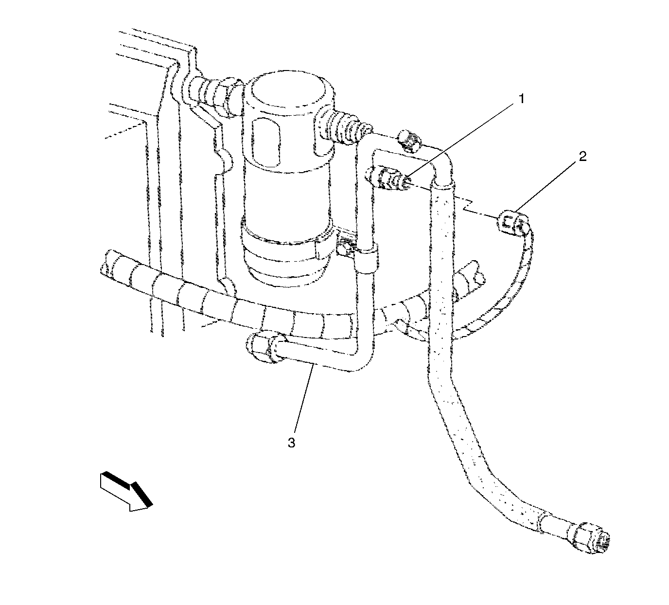
Secondary Air Injection (AIR) Pump, Shut Off Valve, and Solenoid Valve


Object Number: 573049  Size: MF
(1)Wiring Harness
(2)Secondary Air Injection (AIR) Pump
(3)AIR Shut-Off Valve
(4)AIR Solenoid Valve
(5)Radiator Support
Figure 3:

Battery MegaFuse and Air Injection (AIR) Jumper Harness


Object Number: 401632  Size: MF
(1)Radiator Support
(2)AIR Jumper Harness
(3)Battery MegaFuse
(4)Fuse Holder
(5)G100
(6)G112
(7)Battery Positive Cable
Figure 4:

A/C Compressor


Object Number: 217376  Size: LF
(1)A/C Compressor
(2)Diode
(3)A/C Compressor (Right Hand Side)
(4)A/C Clutch Connector
Figure 5:

A/C Refrigerant Pressure Sensor


Object Number: 217381  Size: LF
(1)A/C Refrigerant Pressure Sensor
(2)A/C Refrigerant Pressure Sensor Connector
(3)A/C Evaporative Tube
Figure 6:

Crankshaft Position (CKP) Sensor, Camshaft Position (CMP) Sensor, and Knock Sensor (KS)


Object Number: 217386  Size: SF
(1)Camshaft Position (CMP) Sensor
(2)Crankshaft Position (CKP) Sensor
(3)Knock Sensor (KS)
Figure 7:

Ignition Control Module (ICM) and Fuel Injectors


Object Number: 217391  Size: LF
(1)Manifold Absolute Pressure (MAP) Sensor
(2)Ignition Control Module (ICM)
(3)Fuel Injectors
Figure 8:

LH Upper Engine


Object Number: 407800  Size: LF
(1)Idle Air Control (IAC) Valve
(2)Throttle Body
(3)Engine Coolant Temperature (ECT) Sensor
(4)Intake Manifold
(5)Throttle Position (TP) Sensor
(6)Manifold Absolute Pressure (MAP) Sensor
Figure 9:

Evaporative Emission (EVAP) Canister Purge Solenoid


Object Number: 407802  Size: MF
(1)Fuel Injector
(2)Evaporative Emission (EVAP) Canister Purge Solenoid
(3)Ignition Control Module (ICM)
Figure 10:

Heated Oxygen Sensor (HO2S) Bank 1 Sensor 2


Object Number: 217420  Size: MF
(1)Heated Oxygen Sensor (HO2S) Bank 1 Sensor 2
(2)TWC Catalyst
Figure 11:

Evaporative Emission (EVAP) Canister Vent Solenoid and Canister (4-Door Utility and Pickup)


Object Number: 235181  Size: LF
(1)Evaporative Emission (EVAP) Canister Vent Solenoid
(2)Crossmember
(3)EVAP Canister
(4)Fuel Tank
(5)Fuel Pump and Sender Assembly
Figure 12:

Fuel Pump and Sender Assembly


Object Number: 217720  Size: SF
(1)Fuel Pump and Sender Assembly
(2)Fuel Tank Pressure (FTP) Sensor
Figure 13:

Intake Air Temperature (IAT) Sensor


Object Number: 217423  Size: MF
(1)Intake Air Temperature (IAT) Sensor
Figure 14:

Oxygen Sensor (O2S) Bank 1 Sensor 1


Object Number: 217426  Size: MF
(1)Exhaust Manifold
(2)Oxygen Sensor (O2S) Bank 1 Sensor 1
Figure 15:

Powertrain Control Module (PCM) Connectors


Object Number: 217430  Size: LF
(1)Powertrain Control Module (PCM)
(2)Powertrain Control Module (PCM) Connector C1 (Blue)
(3)Powertrain Control Module (PCM) Connector C2 (Black)
Figure 16:

Park/Neutral Position (PNP) Switch


Object Number: 217433  Size: LF
(1)Park/Neutral Position (PNP) Switch