GM Service Manual Online
For 1990-2009 cars only

Tools Required

J 39400-A Halogen Leak Detector

Important: The A/C refrigerant filter, ACDelco P/N 15-1697 must be installed to the A/C evaporator tube between the condenser and evaporator. The installation of this A/C refrigerant filter eliminates the need for flushing.

  1. Remove the PCM. Refer to Powertrain Control Module Replacement in Engine Controls - 4.3 L or Powertrain Control Module Replacement in Engine Controls - 2.2 L.
  2. Remove the engine coolant reservoir. Refer to Coolant Recovery Reservoir Replacement in Engine Cooling.
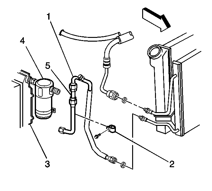
  3. Loosen the accumulator nut at the evaporator.

  4. Object Number: 719837  Size: SH
  5. Reposition the accumulator (4) in order to gain access to the evaporator tube (1).
  6. Measure 100 mm (4 in) from the bend after the high side access port and mark the location.
  7. Measure 50.8 mm (2 in) from the mark on the evaporator tube (1) from the previous step.
  8. Important: Do not allow metal burrs to enter the tube during cutting or when removing the burrs.

  9. Using a tubing cutter, cut the marked section of the evaporator tube (1).
  10. Remove the burrs from the evaporator tube (1).

  11. Object Number: 718864  Size: SH
  12. Remove the nuts (4), the ferrules (3), and the O-rings (2) from the A/C refrigerant filter (1).
  13. Important: DO NOT install the O-rings (2) in this step.

  14. Push the nuts (4), and the ferrules (3) over each of the evaporator tube halves.
  15. Install the ferrules (3) with the small end toward the nut (4).
  16. Install the A/C refrigerant filter (1) to the evaporator tube with the flow arrow pointing towards the evaporator.
  17. Notice: Use the correct fastener in the correct location. Replacement fasteners must be the correct part number for that application. Fasteners requiring replacement or fasteners requiring the use of thread locking compound or sealant are identified in the service procedure. Do not use paints, lubricants, or corrosion inhibitors on fasteners or fastener joint surfaces unless specified. These coatings affect fastener torque and joint clamping force and may damage the fastener. Use the correct tightening sequence and specifications when installing fasteners in order to avoid damage to parts and systems.

  18. Install the nuts (4) to the A/C refrigerant filter (1).
  19. Tighten
    Tighten the nuts to 15 N·m (11 lb ft).

  20. Remove the nuts (4) from the A/C refrigerant filter (1).
  21. Coat the O-ring seals (3) with 525 viscosity refrigerant oil.
  22. Install the O-rings (3) to the evaporator tube.
  23. Install the nuts (4) to the A/C refrigerant filter (1).
  24. Tighten
    Tighten the nuts to 15 N·m (11 lb ft).


    Object Number: 719837  Size: SH
  25. Install accumulator (4) to the evaporator (3).
  26. Tighten the accumulator nut at the evaporator.
  27. Tighten
    Tighten the nut to 15 N·m (11 lb ft).

  28. Position the accumulator bracket 60 mm (2.36 in) toward the high side access port.
  29. Evacuate and recharge the A/C system. Refer to Refrigerant Recovery and Recharging .
  30. Leak test the fittings component using the J 39400-A .
  31. Install the engine coolant reservoir. Refer to Coolant Recovery Reservoir Replacement in Engine Cooling.
  32. Install the PCM. Refer to Powertrain Control Module Replacement or Powertrain Control Module Replacement in Engine Controls.