GM Service Manual Online
For 1990-2009 cars only

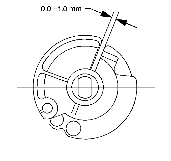
Cruise Control Cable Adjustment 2.2 L


    Object Number: 393015  Size: SH
  1. With a small flat-bladed tool, carefully pry up on the cruise control cable adjuster to the unlocked position.
  2. The toggle lever is natural in color in order to provide a visual aid.


    Object Number: 296592  Size: SH
  3. Adjust the length of the cruise control cable until there is a clearance of 0.0-1.0 mm (0.0-0.04 in) between the cruise control cable and the accelerator cable throttle lever cams.
  4. Carefully squeeze the cruise control cable adjuster down to the locked position.

Cruise Control Cable Adjustment 4.3 L

The cruise control cable lash should be automatically set within 0.0-1.0 mm (0.0-0.04 in) when the cable is installed. If an adjustment is necessary, use the following procedure:

  1. Squeeze the tangs at the top of the cruise control adjuster in order to unlock the cable adjuster plunger.
  2. Allow the throddle lever to return to the idle position.
  3. Push the cable adjuster plunger into the locked position. Ensure that the white paint area is no longer visible.