GM Service Manual Online
For 1990-2009 cars only
Makes
🢒
Chevrolet
🢒
1998
🢒
S10 Pickup - 4WD
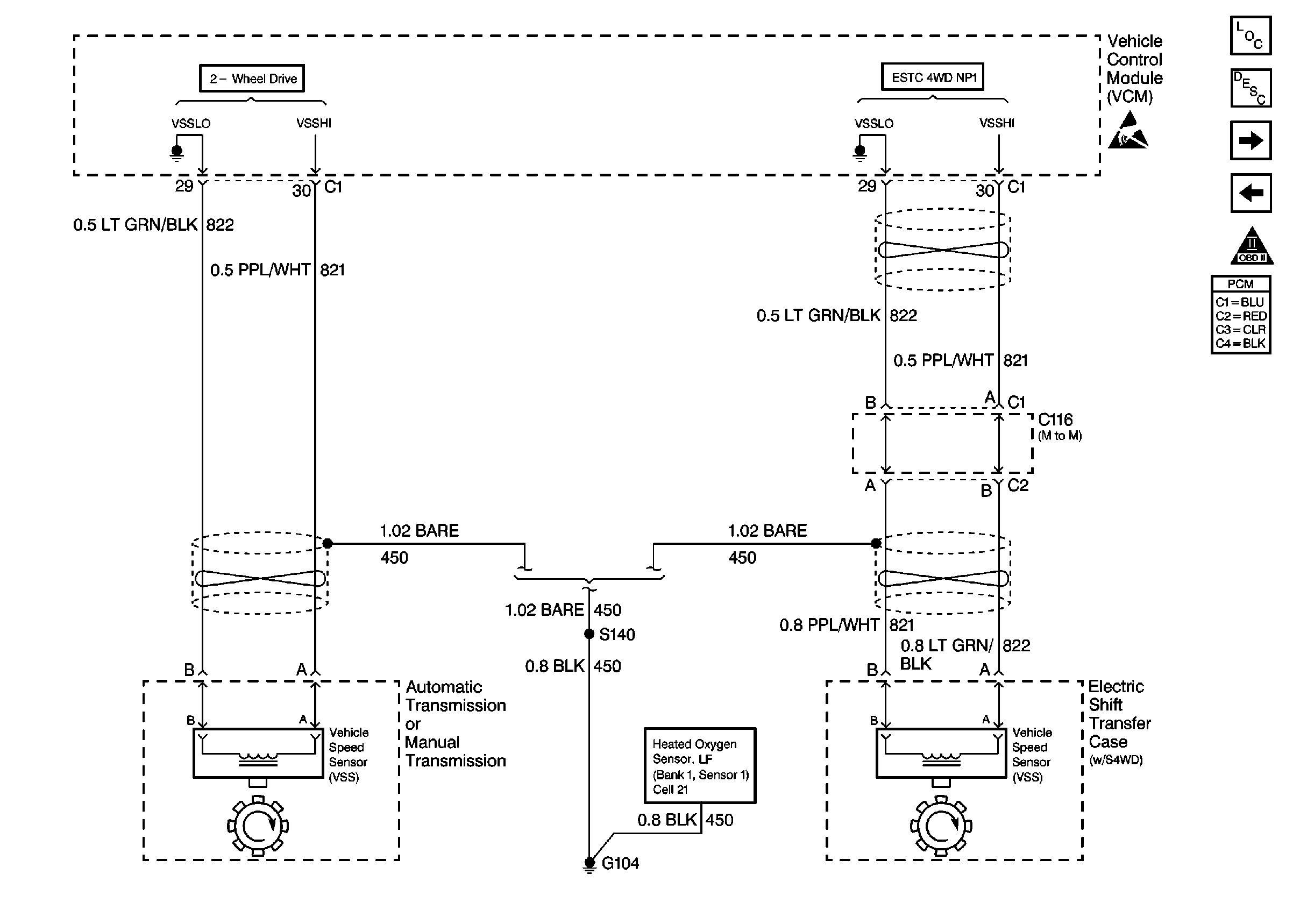
🢒 Vehicle Speed Sensor W/ 2WD Or Electric Shift 4WD
Vehicle Speed Sensor W/ 2WD Or Electric Shift 4WD
Vehicle Speed Sensor W/ 2WD Or Electric Shift 4WD
Heated Oxygen Sensors
Handling Electrostatic Discharge Sensitive Parts Notice
Engine Controls Components
Vehicle Control Module Description
Vehicle Speed Sensor W/ Auto 4WD
Electric Shift 4WD Inputs
OBD II Symbol Description Notice