GM Service Manual Online
For 1990-2009 cars only

Product Safety - Fuel-Fired Heater Fill Pipe Ground Strap Mis-Routed

Subject:00050 -- Fuel-Fired Heater Fill Pipe Ground Strap Mis-Routed

Models:1997-1998 Chevrolet S10E (Electric) Pickup Trucks



Condition

General Motors has decided that a defect which relates to motor vehicle safety exists in certain 1997-1998 Chevrolet S10E (electric) pickup trucks. Some of these vehicles exhibit a condition in which the fuel-fired heater fill pipe ground strap contacts the rear passenger side brake pipe. This may wear off the corrosion protection on the brake pipe, leading to premature corrosion and eventual loss of brake pipe integrity. When brake pipe integrity is lost, brake fluid leakage can occur. If this occurred when minimum stopping distance was required, it could result in a vehicle crash.

Correction

Dealers are to relocate the ground strap attachment, inspect the brake pipe for wear, and replace if necessary.

Vehicles Involved

Involved are certain 1997-1998 Chevrolet S10E (electric) pickup trucks built within these VIN breakpoints:

Year

Division

Model

Plant

From

Through

1997

Chevrolet

S10E

Shreveport

V8154854

V8209178

1998

Chevrolet

S10E

Shreveport

W8100399

W8161166

Important: Dealers should confirm vehicle eligibility through GMVIS (GM Vehicle Inquiry System) before beginning campaign repairs. [Not all vehicles within the above breakpoints may be involved.]

Involved vehicles have been identified by Vehicle Identification Number. Computer listings containing the complete Vehicle Identification Number, customer name and address data have been prepared, and are being furnished to involved dealers with the campaign bulletin. The customer name and address data furnished will enable dealers to follow-up with customers involved in this campaign. Any dealer not receiving a computer listing with the campaign bulletin has no involved vehicles currently assigned.

These dealer listings may contain customer names and addresses obtained from Motor Vehicle Registration Records. The use of such motor vehicle registration data for any other purpose is a violation of law in several states/provinces/countries. Accordingly, you are urged to limit the use of this listing to the follow-up necessary to complete this campaign.

Parts Information

Parts required to complete this campaign are to be obtained from General Motors Service Parts Operations (GMSPO). Please refer to your "involved vehicles listing" before ordering parts. Normal orders should be placed on a DRO = Daily Replenishment Order. In an emergency situation, parts should be ordered on a CSO = Customer Special Order.

Part Number

Description

Qty/ Vehicle

11504585

Screw, Hex

1

11501869

Washer

1

12548430

Tubing, Brake (16' Roll)

6" (if required)

15724652

Nut, Front Brake Pipe

4 (if required)

15979290

Fitting

2 (if required)

12377967

Fluid, Hyd Brake Dot-3 Delco Supreme II

1

Important: It is estimated that only 10% of involved vehicles will require brake pipe replacement. Please order parts accordingly.

Service Procedure

  1. Raise and suitably support the vehicle.
  2. Important: In addition to the ground strap from the fuel tank filler neck, 1997 model vehicles will have a ground wire from a chassis wiring harness that is secured to the frame with the same fastener. On these vehicles, both the ground wire and the strap will be relocated and be retained with the same new fastener.

  3. Locate the screw that secures the fuel tank filler neck ground strap and the chassis wiring harness ground wire to the upper surface of the left frame rail, forward of the rear wheel well opening.
  4. Remove and discard the screw and washer that secures the ground strap to the frame rail.
  5. Utilizing a mirror, visually inspect the brake pipe in the area where the ground strap was routed for any orange rust, which would indicate a contact condition existed between the ground strap and the brake pipe.
  6.  - If there is NO contact (no orange rust), proceed to Step 6.
     - If there IS contact (orange rust present), proceed to Step 5.

    Figure 1


    Object Number: 761359  Size: SF

    Important: The replaced section of brake pipe must extend a minimum of 1-1/4 inches before and after the center point of the rusted area.

  7. Replace the section of the brake pipe (Figure 1) that exhibits the contact area (orange rust) and bleed the brake system following the applicable Service Manual procedures.
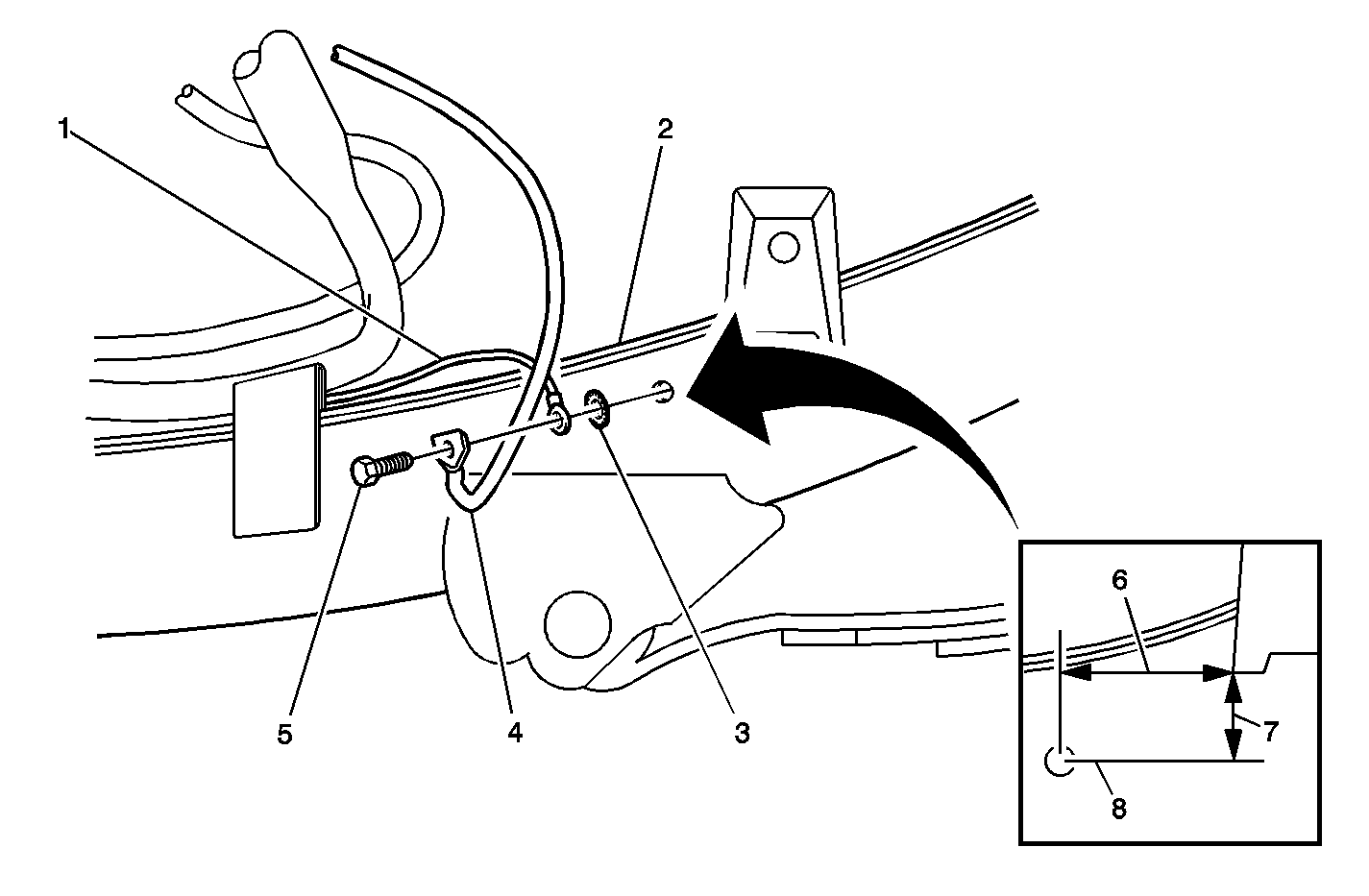
  8. Figure 2


    Object Number: 761360  Size: MF
  9. Locate a point 25mm (1 in) down (7) and 50mm (2 in) forward (6) of the frame bracket's lower front corner (Figure 2).
  10. Utilizing an L-size drill bit, at the point located in the previous step, drill a hole (8) through the frame rail.
  11. Insert the screw (5) through the fuel filler neck ground strap terminal (4), chassis harness ground wire terminal (1), and the washer (3).
  12. With the terminals oriented as shown in Figure 2, install and tighten the screw (5).
  13. Tighten
    Tighten the screw to 15 N·m (11 lb ft).

  14. Lower the vehicle.
  15. Install the GM Campaign Identification Label.

Campaign Identification Label

Place a Campaign Identification Label on each vehicle corrected in accordance with the instructions outlined in this Product Campaign Bulletin. Each label provides a space to include the campaign number and the five (5) digit dealer code of the dealer performing the campaign service. This information may be inserted with a typewriter or a ball point pen.

Put the Campaign Identification Label on a clean and dry surface of the radiator core support in an area that will be visible to people servicing the vehicle. When installing the Campaign Identification Label, be sure to pull the tab to allow the adhesion of the clear protective covering. Additional Campaign Identification Labels for US dealers can be obtained from Dealer Support Material by calling 1-888-549-6152 (Monday-Friday, 8:00 am to 5:00 pm EST). Ask for Item Number S-1015 when ordering.

Claim Information

Submit a Product Campaign Claim with the information indicated below:

Repair Performed

Part Count

Part No.

Parts Allow

CC-FC

Labor Op

Labor Hours*

Net Item***

Relocate Ground Strap

2

--

**

MA-96

V0529

0.3

N/A

Replace Brake Pipe and Relocate Ground Strap

9

--

**

MA-96

V0543

0.6

$0.58

* -- For Campaign Administrative Allowance, add 0.1 hours to the "Labor Hours".

** -- The "Parts Allowance" should be the sum total of the current GMSPO Dealer net price plus applicable Mark-Up for the screw, washer, and if necessary, nuts and fittings needed to complete the repair.

*** -- The amount identified in the "Net Item" column should represent the sum total of the Current GMSPO net price plus applicable Mark-Up for 6 inches of brake pipe needed to perform the required repairs.

Refer to the General Motors WINS Claims Processing Manual for details on Product Campaign Claim Submission.

Customer Notification

Customers will be notified of this campaign on their vehicles by General Motors (see copy of customer letter included with this bulletin).

Dealer Campaign Responsibility

The US National Traffic and Motor Vehicle Safety Act provides that each vehicle which is subject to a recall campaign of this type must be adequately repaired within a reasonable time after the customer has tendered it for repair. A failure to repair within sixty days after tender of a vehicle is prima facie evidence of failure to repair within a reasonable time. If the condition is not adequately repaired within a reasonable time, the customer may be entitled to an identical or reasonably equivalent vehicle at no charge or to a refund of the purchase price less a reasonable allowance for depreciation. To avoid having to provide these burdensome remedies, every effort must be made to promptly schedule an appointment with each customer and to repair their vehicle as soon as possible. In the recall campaign notification letters, customers are told how to contact the US National Highway Traffic Safety Administration if the campaign is not completed within a reasonable time.

All unsold new vehicles in dealers' possession and subject to this campaign MUST be held and inspected/repaired per the service procedure of this campaign bulletin BEFORE customers take possession of these vehicles.

Dealers are to service all vehicles subject to this campaign at no charge to customers, regardless of mileage, age of vehicle, or ownership, from this time forward.

Customers who have recently purchased vehicles sold from your vehicle inventory, and for which there is no customer information indicated on the dealer listing, are to be contacted by the dealer. Arrangements are to be made to make the required correction according to the instructions contained in this bulletin. This could be done by mailing to such customers a copy of the customer letter accompanying this bulletin. Campaign follow-up cards should not be used for this purpose, since the customer may not as yet have received the notification letter.

In summary, whenever a vehicle subject to this campaign enters your vehicle inventory, or is in your dealership for service in the future, please take the steps necessary to be sure the campaign correction has been made before selling or releasing the vehicle.

June, 2000

Dear Chevrolet Customer:

This notice is sent to you in accordance with the requirements of the National Traffic and Motor Vehicle Safety Act.

Reason For This Recall

General Motors has decided that a defect which relates to motor vehicle safety exists in certain 1997-1998 Chevrolet S10E (electric) pickup trucks. Some of these vehicles exhibit a condition in which the fuel-fired heater fill pipe ground strap contacts the rear passenger side brake pipe. This may wear off the corrosion protection on the brake pipe, leading to premature corrosion and eventual loss of brake pipe integrity. When brake pipe integrity is lost, brake fluid leakage can occur. If this occurred when minimum stopping distance was required, it could result in a vehicle crash.

What Will Be Done

Your Chevrolet dealer will relocate the ground strap attachment, inspect the brake pipe for wear, and replace the brake pipe if necessary. This service will be performed for you at no charge .

How Long Will The Repair Take?

The length of time required to perform this service correction is approximately 20-40 minutes. Additional time may be required to schedule and process your vehicle. If you dealer has a large number of vehicles awaiting service, this additional time may be significant. Please ask your dealer if you wish to know how much additional time will be needed to schedule, process and repair your vehicle.

Contacting Your Dealer

Please contact your dealer as soon as possible to arrange a service date. Parts are available and instructions for making this correction have been sent to your dealer.

Your dealer is best equipped to obtain parts and provide services to correct your vehicle as promptly as possible. Should your dealer be unable to schedule a service date within a reasonable time, you should contact the appropriate Customer Assistance Center at the number listed below:

Division

Number

Deaf, Hearing Impaired, or Speech Impaired*

Chevrolet

1-800-222-1020

1-800-833-2438

* Utilizes Telecommunication Devices for the Deaf/Text Telephones (TDD/TTY)

If, after contacting the appropriate customer assistance center, you are still not satisfied that we have done our best to remedy this condition without charge and within a reasonable time, you may wish to write the Administrator, National Highway Traffic Safety Administration, 400 Seventh Street SW, Washington, DC 20590 or call 1-888-327-4236.

Customer Reply Card

The attached customer reply card identifies your vehicle. Presentation of this card to your dealer will assist in making the necessary correction in the shortest possible time. If you no longer own this vehicle, please let us know by completing the attached and mailing it in the postage paid envelope.

We are sorry to cause you this inconvenience; however, we have taken this action in the interest of your safety and continued satisfaction with our products.

Chevrolet Motor Division

General Motors Corporation

Enclosure