GM Service Manual Online
For 1990-2009 cars only

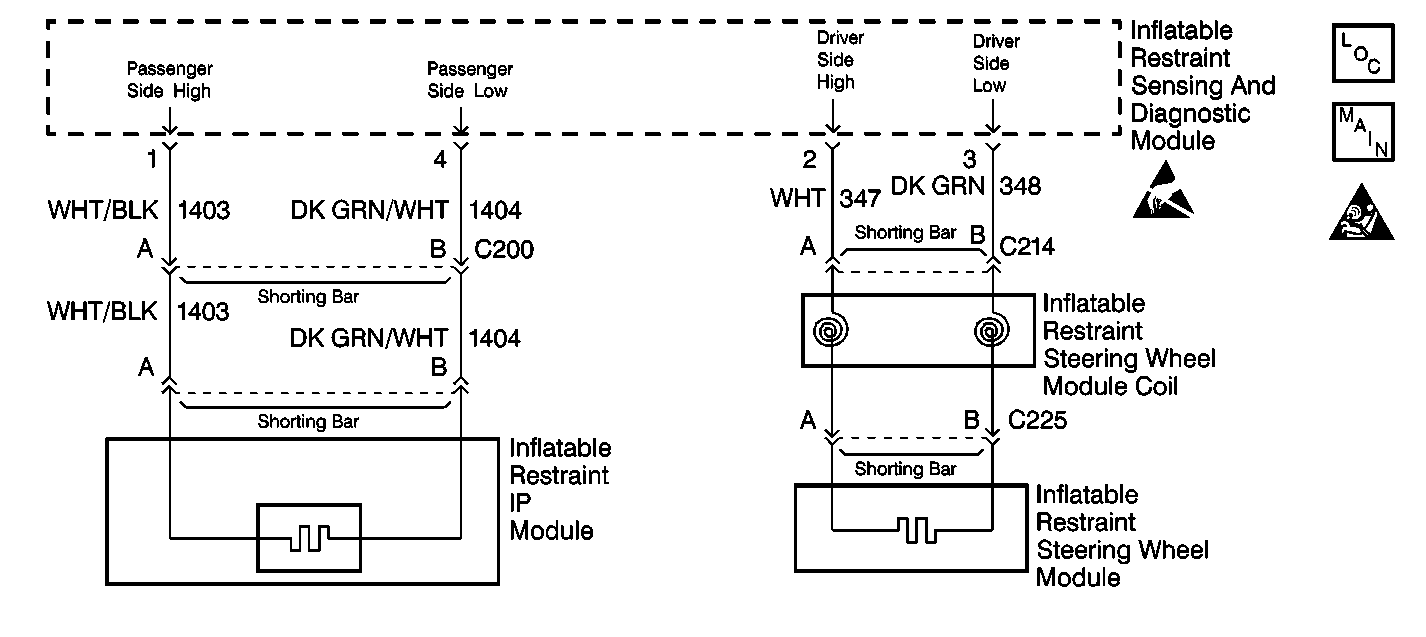
Object Number: 392380  Size: SF
SIR Components
SIR Schematics
SIR Caution
ESD Notice

Circuit Description

In the ON position, the ignition switch applies battery voltage to the AIR BAG warning lamp and to the IGNITION 1 input terminal 10. The inflatable restraint sensing and diagnostic module responds by flashing the AIR BAG warning lamp seven times. The inflatable restraint sensing and diagnostic module monitors the voltage levels at the PASSENGER AIR BAG Enable terminal 11 and PASSENGER AIR BAG DISABLE terminal 12 of the inflatable restraint sensing and diagnostic module to determine the position of the inflatable restraint IP module switch.

Conditions for Setting the DTC

    • The voltage detected at PASSENGER AIR BAG ENABLE terminal 11 and PASSENGER AIR BAG DISABLE terminal 12 are less than 1.0 volt when the AIR BAG ON lamp is commanded on.
    • The voltage detected at PASSENGER AIR BAG ENABLE terminal 11 and PASSENGER AIR BAG DISABLE terminal 12 are greater than 4.0 volts when the AIR BAG ON lamp is commanded OFF.
    • The voltage detected at PASSENGER AIR BAG ENABLE terminal 11 and PASSENGER AIR BAG DISABLE terminal 12 are greater than 1.0 volt when the AIR BAG OFF lamp is commanded ON.

Action Taken When the DTC Sets

    • The inflatable restraint Sensing and Diagnostic Module (SDM) attempts to illuminate the AIR BAG OFF lamp.
    • The inflatable restraint IP module switch is defaulted to the disabled state.
    • The SDM sets a diagnostic trouble code.
    • The SDM turns ON the AIR BAG warning lamp.

Conditions for Clearing the DTC

    • Current DTC: The voltage at PASSENGER AIR BAG ENABLE terminal 11 is greater than 4.0 volts for 500 milliseconds and the voltage at PASSENGER AIR BAG DISABLE terminal 12 is less than 1.0 volts for 500 milliseconds when the AIR BAG ON lamp is commanded ON.
    • History DTC:
       - You issue a scan tool CLEAR CODES command.
       - Once 250 malfunction free ignition cycles have occurred

Diagnostic Aids

Refer to AIR BAG Warning Lamp Comes On Steady and AIR BAG Warning Lamp Does Not Come On to diagnose warning lamp circuit malfunctions.

When measurements are requested in this table, use the J 39200 DMM with the correct terminal adapter from the J 35616 Connector Test Adapter Kit. When an inspection for proper connection is requested, refer to Testing for Electrical Intermittents in Wiring Systems. When a wire, connector or terminal repair is requested, use the J-38125 Terminal Repair Kit and refer to Wiring Repairs in Wiring Systems.

Test Description

The numbers below refer to the step numbers on the diagnostic table:

  1. This test determines if the AIR BAG ON lamp illuminates when the IP module switch is in the ON position.

  2. This test checks for a poor connection at the yellow 6-way IP module switch harness connector.

  3. This test determines whether the malfunction is in CKT 1050.

  4. This test determines whether the malfunction is in CKT 1139 between the fuse block and the IP module switch.

  5. This test determines if the state of terminal 11 of the SDM (Pass Air Bag Enable) is correct when the IP module switch is in the ON position.

  6. This test checks for proper contact or corrosion of the SDM harness connector.

  7. This test checks for an open circuit in CKT 371.

  8. This test checks for a short to ground in CKT 371.

  9. This test determines if the state of terminal 12 of the SDM (Pass Air Bag Disable) is correct when the IP module switch is in the ON position.

  10. This test checks for a short to voltage in CKT 353.

  11. This test checks for a short circuit between CKT 353 and 371.

  12. This test determines if the AIR BAG OFF lamp illuminates when the IP module switch is in the OFF position.

  13. This test checks for a short to voltage in CKT 353.

  14. This test checks for a short to voltage in CKT 371.

  15. This test checks for an open circuit in CKT 353.

  16. This test determines if the state of terminal 11 of the SDM (Pass Air Bag Enable) is correct when the IP module switch is in the OFF position.

  17. This test determines if the state of terminal 12 of the SDM (Pass Air Bag Disable) is correct when the IP module switch is in the OFF position.

  18. This test determines if the state of the internal SDM suppression lamp driver is correct when the IP module switch is in the OFF position.

  19. This test checks for a short to ground in CKT 353.

DTC B1054 Infl Rst IP Module Switch CKT Failure

Step

Action

Value(s)

Yes

No

1

Was the SIR Diagnostic System Check performed?

--

Go to Step 2

Go to SIR Diagnostic System Check

2

  1. Turn the ignition switch to the ON position.
  2. Turn the inflatable restraint IP module switch to the OFF position and than back to the ON position.

Does the AIR BAG ON lamp illuminate in the IP module switch?

--

Go to Step 13

Go to Step 3

3

  1. Turn the ignition switch to the OFF position.
  2. Remove the IP module switch from the instrument panel. Refer to Inflatable Restraint Instrument Panel Module Disable Switch Replacement
  3. Inspect the connection of the yellow 6-way IP module switch harness connector to the IP module switch.

Is the yellow 6-way IP module switch harness connector properly connected to the IP module switch?

--

Go to Step 5

Go to Step 4

4

Connect the yellow 6-way IP module switch harness connector securely to the IP module switch.

Is the yellow 6-way IP module switch harness connector securely connected to the IP module switch?

--

Go to SIR Diagnostic System Check

--

5

  1. Disconnect the yellow 6-way IP module switch harness connector from the IP module switch.
  2. Inspect the terminals of the yellow 6-way IP module switch harness connector.

Are the terminals damaged or corroded?

--

Go to Step 6

Go to Step 7

6

Repair the yellow 6-way IP module switch harness connector. Refer to Wiring Repair .

Is the repair complete?

--

Go to Step 52

--

7

Carefully inspect the IP module switch terminals for damage or corrosion.

Are the terminals damaged or corroded?

--

Go to Step 51

Go to Step 8

8

  1. Disconnect the inflatable restraint steering wheel yellow 2-way connector at the base of the steering column and IP module yellow 2-way connector located behind the glove box.
  2. Zero the J 39200 Digital Multimeter.
  3. Measure the resistance from the yellow 6-way IP module switch harness connector terminal F to ground (G203) or known good ground.

Is the resistance reading greater than the specified values?

5 ohms

Go to Step 9

Go to Step 10

9

Repair a high resistance or open circuit in CKT 1050 between the yellow 6-way IP module switch harness connector terminal F and ground (G203).

Is the repair complete?

--

Go to Step 52

--

10

  1. Turn the ignition switch to the ON position.
  2. Measure the voltage from the yellow 6-way IP module switch harness connector terminal B to terminal F (ground).

Is the voltage reading greater than the specified values?

1 V

Go to Step 12

Go to Step 11

11

  1. Turn the ignition switch to the OFF position.
  2. Repair a high resistance or open circuit condition in CKT 1139 between the yellow 6-way IP module switch harness connector terminal B and the IP Fuse Block.

Is the repair complete?

--

Go to Step 52

--

12

  1. Turn the ignition switch to the OFF position.
  2. Reconnect the IP module switch to the yellow 6-way IP module switch harness connector.

Has the IP module switch been reconnected?

--

Go to Step 13

--

13

  1. Connect a scan tool to the data link connector.
  2. Turn the ignition switch to the ON position.
  3. Request the SIR data list display.

Does Pass Air Bag IP module show the specified level?

High

Go to Step 21

Go to Step 14

14

  1. Turn the ignition switch to the OFF position.
  2. Disconnect the yellow 6-way IP module switch harness connector from the IP module switch.
  3. Disconnect the inflatable restraint steering wheel yellow 2-way connector at the base of the steering column and IP module yellow 2-way connector located behind the glove box.
  4. Disconnect the SDM harness connector. Refer to Inflatable Restraint Sensing and Diagnostic Module Replacement .
  5. Check for proper connection at terminals 11 and 12 on the harness side of the SDM harness connector.

Is the SDM harness connector damaged or corroded?

--

Go to Step 35

Go to Step 15

15

Check for proper connection at terminals 11 and 12 on the SDM.

Are the SDM terminals damaged or corroded?

--

Go to Step 38

Go to Step 16

16

  1. Zero the J 39200 Digital Multimeter.
  2. Measure the resistance from the yellow 6-way IP module switch harness connector terminal A to terminal 11 on the SDM harness connector.

Is the resistance reading greater than the specified values?

5 ohms

Go to Step 17

Go to Step 18

17

Repair a high resistance or open circuit condition in CKT 371.

Is the repair complete?

--

Go to Step 52

--

18

Measure the resistance from the yellow 6-way IP module switch harness connector terminal A to terminal F (ground).

Is the resistance reading less than the specified values?

OL

Go to Step 19

Go to Step 20

19

Repair a short to ground condition in CKT 371.

Is the repair complete?

--

Go to Step 52

--

20

  1. Turn the ignition switch to the OFF position.
  2. Reconnect the SIR components.

Have the SIR components been reconnected?

--

Go to Step 21

--

21

  1. Connect a scan tool to the DLC.
  2. Turn the ignition switch to the ON position.
  3. Request the SIR data list display.

Does Pass Air Bag Disable show the specified level?

Low

Go to Step 28

Go to Step 22

22

  1. Turn the ignition switch to the OFF position.
  2. Disconnect the yellow 6-way IP module switch harness connector from the IP module switch.
  3. Disconnect the inflatable restraint steering wheel yellow 2-way connector at the base of the steering column and IP module yellow 2-way connector located behind the glove box.
  4. Disconnect the SDM harness connector. Refer to Inflatable Restraint Sensing and Diagnostic Module Replacement .
  5. Check for proper connection at terminals 11 and 12 on the harness side of the SDM harness connector.

Is the SDM harness connector damaged or corroded?

--

Go to Step 35

Go to Step 23

23

Check for proper connection at terminals 11 and 12 on the SDM.

Are the SDM terminals damaged or corroded?

--

Go to Step 38

Go to Step 24

24

  1. Turn the ignition switch to the ON position.
  2. Measure the voltage from the yellow 6-way IP module switch harness connector terminal E to terminal F (ground).

Is the voltage reading greater than the specified values?

1 V

Go to Step 25

Go to Step 26

25

  1. Turn the ignition switch to the OFF position.
  2. Repair a short to B+ condition in CKT 353.

Is the repair complete?

--

Go to Step 52

--

26

  1. Turn the ignition switch to the OFF position.
  2. Measure the resistance from the yellow 6-way IP module switch harness connector terminal A to terminal E.

Is the resistance reading less than the specified values?

OL

Go to Step 27

Go to Step 51

27

Repair a short circuit between CKT 353 and CKT 371.

Is the repair complete?

--

Go to Step 52

--

28

  1. Turn the ignition switch to the OFF position.
  2. Turn the inflatable restraint IP module switch to the OFF position.
  3. Turn the ignition switch to the ON position.

Does the AIR BAG OFF lamp illuminate in the IP module switch?

--

Go to Step 46

Go to Step 29

29

  1. Turn the ignition switch to the OFF position.
  2. Remove the IP module switch from the instrument panel.
  3. Inspect the connection of the yellow 6-way IP module switch harness connector to the IP module switch.

Is the yellow 6-way IP module switch harness connector properly connected to the IP module switch?

--

Go to Step 31

Go to Step 30

30

Connect the yellow 6-way IP module switch harness connector securely to the IP module switch.

Is the yellow 6-way IP module switch harness connector securely connected to the IP module switch?

--

Go to SIR Diagnostic System Check

--

31

  1. Disconnect the yellow 6-way IP module switch harness connector from the IP module switch.
  2. Inspect the terminals of the yellow 6-way IP module switch harness connector.

Are the terminals damaged or corroded?

--

Go to Step 32

Go to Step 33

32

Repair the yellow 6-way IP module switch harness connector. Refer to Wiring Repair .

Is the repair complete?

--

Go to Step 52

--

33

Carefully inspect the IP module switch terminals for damage or corrosion.

Are the terminals damaged or corroded?

--

Go to Step 51

Go to Step 34

34

  1. Disconnect the inflatable restraint steering wheel yellow 2-way connector at the base of the steering column and IP module yellow 2-way connector located behind the glove box.
  2. Disconnect the SDM harness connector. Refer to Inflatable Restraint Sensing and Diagnostic Module Replacement .
  3. Check for proper connection at terminals 11 and 12 on the SDM harness connector.

Is the SDM harness connector damaged or corroded?

--

Go to Step 35

Go to Step 37

35

Replace the SDM harness connector. Refer to Wiring Repair .

Has the SDM harness connector been replaced?

--

Go to Step 36

36

Check for proper connection at terminals 11 and 12 on the SDM.

Are the SDM terminals damaged or corroded?

--

Go to Step 38

Go to Step 52

37

Check for proper connection at terminals 11 and 12 on the SDM.

Are the SDM terminals damaged or corroded?

--

Go to Step 38

Go to Step 39

38

Replace the SDM. Refer to Inflatable Restraint Sensing and Diagnostic Module Replacement .

Has the SDM been replaced?

--

Go to Step 52

--

39

  1. Turn the ignition switch to the ON position.
  2. Measure the voltage from the yellow 6-way IP module switch harness connector terminal E to terminal F (ground).

Is the voltage reading greater than the specified values?

1 V

Go to Step 40

Go to Step 41

40

  1. Turn the ignition switch to the OFF position.
  2. Repair a short to B+ condition in CKT 353.

Is the repair complete?

--

Go to Step 52

--

41

Measure the voltage from the yellow 6-way IP module switch harness connector terminal A to terminal F (ground).

Is the voltage reading greater than the specified values?

1 V

Go to Step 42

Go to Step 43

42

  1. Turn the ignition switch to the OFF position.
  2. Repair a short to B+ condition in CKT 371.

Is the repair complete?

--

Go to Step 52

--

43

  1. Turn the ignition switch to the OFF position.
  2. Measure the resistance from the yellow 6-way IP module switch harness connector terminal E to terminal 12 on the SDM harness connector.

Is the resistance reading greater than the specified values?

5 ohms

Go to Step 44

Go to Step 45

44

Repair a high resistance or open circuit condition in CKT 353

Is the repair complete?

--

Go to Step 52

--

45

  1. Turn the ignition switch to the OFF position.
  2. Reconnect the SIR system components.

Have the SIR system components been reconnected?

--

Go to Step 46

--

46

  1. Connect a scan tool to the data link connector.
  2. Turn the ignition switch to the ON position.
  3. Request the SIR data list display.

Does Pass Air Bag IP module show the specified level?

Low

Go to Step 47

Go to Sensing and Diagnostic Module Integrity Check

47

Does Pass Air Bag Disable show the specified level?

Low

Go to Step 48

Go to Sensing and Diagnostic Module Integrity Check

48

Does Suppression Lamp Driver show the specified level?

On

Go to Step 49

Go to Sensing and Diagnostic Module Integrity Check

49

  1. Turn the ignition switch to the OFF position.
  2. Disconnect the inflatable restraint steering wheel yellow 2-way connector at the base of the steering column and IP module yellow 2-way connector located behind the glove box.
  3. Disconnect the SDM harness connector. Refer to Inflatable Restraint Sensing and Diagnostic Module Replacement .
  4. Measure the resistance from the yellow 6-way IP module switch harness connector terminal E to terminal F (ground).

Is the resistance reading less then the specified values?

OL

Go to Step 50

Go to Step 51

50

Repair a short to ground condition in CKT 353.

Is the repair complete?

--

Go to Step 52

--

51

Replace the inflatable restraint IP module switch. Refer to Inflatable Restraint Instrument Panel Module Disable Switch Replacement .

Is the repair complete?

--

Go to Step 52

--

52

Reconnect all the SIR system components. Make sure all the SIR system components are properly mounted.

Have all the SIR components been reconnected and properly mounted?

--

Go to Step 53

--

53

Clear the SIR diagnostic trouble codes.

Have all the SIR diagnostic trouble codes been cleared?

--

Go to SIR Diagnostic System Check

--