GM Service Manual Online
For 1990-2009 cars only
Makes
🢒
Chevrolet
🢒
1999
🢒
S10 - Electric
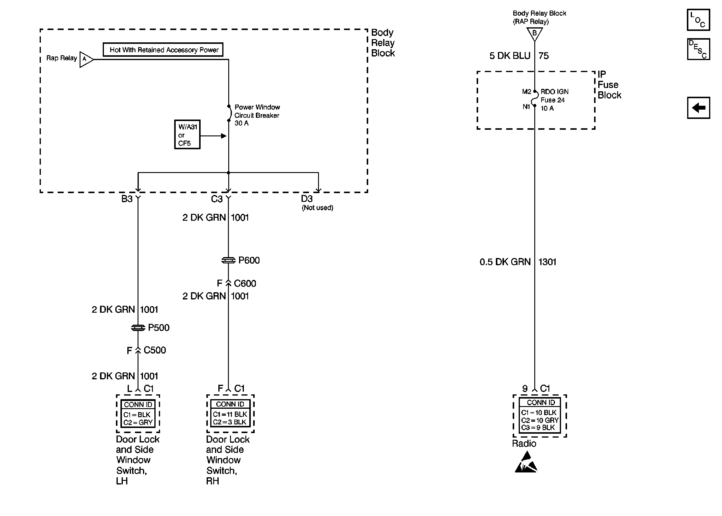
🢒 Cell 15: Radio and Door Lock and Side Window Switches
Cell 15: Radio and Door Lock and Side Window Switches
Cell 15: Radio and Door Lock and Side Window Switches
Cell 15: RAP Relay and Ignition Switch
Power Door Systems Connector End Views
Power Door Systems Connector End Views
Cell 15: RAP Relay and Ignition Switch
Retained Accessory Power (RAP) Components
Retained Accessory Power (RAP) Circuit Description
Cell 15: RAP Relay and Ignition Switch
Entertainment Connector End Views
Handling ESD Sensitive Parts Notice