| Table 1: | Engine Block - Front View |
| Table 2: | Engine Block - Rear View |
| Table 3: | Engine Block - Left Side View |
| Table 4: | Engine Block - Right Side View |
| Table 5: | Engine Block - Bottom View |
| Table 6: | Engine Block - Top View |
| Table 7: | Cylinder Head - Top View |
| Table 8: | Cylinder Head - End View |
| Table 9: | Cylinder Head - Exhaust Manifold Deck View |
| Table 10: | Cylinder Head - Intake Manifold Deck View |
Hole | Thread Size | Insert | Drill | Counterbore Tool | Tap | Driver | Drill Depth Maximum mm (in) | Tap Depth Maximum mm (in) |
|---|---|---|---|---|---|---|---|---|
1-6 | M8 x 1.25 | J 42385-210 | J 42385-206 | J 42385-207 | J 42385-208 | J 42385-209 | 22.5 (0.885) | 17.5 (0.688) |
7 | -- | -- | -- | -- | -- | -- | -- | -- |
8 | M10 x 1.5 | J 42385-215 | J 42385-211 | J 42385-212 | J 42385-213 | J 42385-214 | 32.5 (1.28) | 25.0 (0.984) |
9 | M8 x 1.25 | J 42385-210 | J 42385-206 | J 42385-207 | J 42385-208 | J 42385-209 | 22.5 (0.885) | 17.5 (0.688) |
10 | M10 x 1.5 | J 42385-215 | J 42385-211 | J 42385-212 | J 42385-213 | J 42385-214 | Thru | Thru |
11-13 | M8 x 1.25 | J 42385-210 | J 42385-206 | J 42385-207 | J 42385-208 | J 42385-209 | 22.5 (0.885) | 17.5 (0.688) |
14 | M8 x 1.25 | J 42385-210 | J 42385-206 | J 42385-207 | J 42385-208 | J 42385-209 | Thru | 18.0 (0.708) |
15 | M8 x 1.25 | J 42385-210 | J 42385-206 | J 42385-207 | J 42385-208 | J 42385-209 | 22.5 (0.885) | 17.5 (0.688) |
16 | M8 x 1.25 | J 42385-210 | J 42385-206 | J 42385-207 | J 42385-208 | J 42385-209 | Thru | 18.0 (0.708) |
17-27 | M8 x 1.25 | J 42385-210 | J 42385-206 | J 42385-207 | J 42385-208 | J 42385-209 | 22.5 (0.885) | 17.5 (0.688) |
Hole | Thread Size | Insert | Drill | Counterbore Tool | Tap | Driver | Drill Depth Maximum mm (in) | Tap Depth Maximum mm (in) |
|---|---|---|---|---|---|---|---|---|
1 | M10 x 1.5 | J 42385-215 | J 42385-211 | J 42385-212 | J 42385-213 | J 42385-214 | 27.0 (1.06) | 21.5 (0.846) |
2-4 | M8 x 1.25 | J 42385-210 | J 42385-206 | J 42385-207 | J 42385-208 | J 42385-209 | 22.5 (0.885) | 17.5 (0.688) |
5-6 | M10 x 1.5 | J 42385-215 | J 42385-211 | J 42385-212 | J 42385-213 | J 42385-214 | 27.0 (1.06) | 21.5 (0.846) |
7-13 | M8 x 1.25 | J 42385-210 | J 42385-206 | J 42385-207 | J 42385-208 | J 42385-209 | 22.5 (0.885) | 17.5 (0.688) |
14-16 | M10 x 1.5 | J 42385-215 | J 42385-211 | J 42385-212 | J 42385-213 | J 42385-214 | 27.0 (1.06) | 21.5 (0.846) |
17-18 | M8 x 1.25 | J 42385-210 | J 42385-206 | J 42385-207 | J 42385-208 | J 42385-209 | 22.5 (0.885) | 17.5 (0.688) |
Hole | Thread Size | Insert | Drill | Counterbore Tool | Tap | Driver | Drill Depth Maximum mm (in) | Tap Depth Maximum mm (in) | ||||
|---|---|---|---|---|---|---|---|---|---|---|---|---|
1 | M11 x 2.0 | J 42385-108 | J 42385-105 | -- | J 42385-106 | J 42385-107 | 69.0 (2.72) | 60.0 (2.36) | ||||
2 | M8 x 1.25 | J 42385-210 | J 42385-206 | J 42385-207 | J 42385-208 | J 42385-209 | 26.5 (1.04) | 19.0 (0.784) | ||||
3-4 | M11 x 2.0 | J 42385-108 | J 42385-105 | -- | J 42385-106 | J 42385-107 | 124.0 (4.88) | 115.0 (4.52) | ||||
5 | M6 x 1.0 | J 42385-205 | J 42385-201 | J 42385-202 | J 42385-203 | J 42385-204 | 22.5 (0.885) | 16.0 (0.629) | ||||
6 | M8 x 1.25 | J 42385-210 | J 42385-206 | J 42385-207 | J 42385-208 | J 42385-209 | 26.5 (1.04) | 19.0 (0.784) | ||||
7-8 | M11 x 2.0 | J 42385-108 | J 42385-105 | -- | J 42385-106 | J 42385-107 | 124.0 (4.88) | 115.0 (4.52) | ||||
9 | M8 x 1.25 | J 42385-210 | J 42385-206 | J 42385-207 | J 42385-208 | J 42385-209 | 26.5 (1.04) | 19.0 (0.784) | ||||
10-11 | M11 x 2.0 | J 42385-108 | J 42385-105 | -- | J 42385-106 | J 42385-107 | 124.0 (4.88) | 115.0 (4.52) | ||||
12 | M6 x 1.0 | J 42385-205 | J 42385-201 | J 42385-202 | J 42385-203 | J 42385-204 | 22.5 (0.885) | 16.0 (0.629) | ||||
13 | M8 x 1.25 | J 42385-210 | J 42385-206 | J 42385-207 | J 42385-208 | J 42385-209 | 26.5 (1.04) | 19.0 (0.784) | ||||
14 | M11 x 2.0 | J 42385-108 | J 42385-105 | -- | J 42385-106 | J 42385-107 | 69.0 (2.72) | 60.0 (2.36) | ||||
15 | M8 x 1.25 | J 42385-210 | J 42385-206 | J 42385-207 | J 42385-208 | J 42385-209 | 26.5 (1.04) | 19.0 (0.784) | ||||
16 | M11 x 2.0 | J 42385-108 | J 42385-105 | -- | J 42385-106 | J 42385-107 | 124.0 (4.88) | 115.0 (4.52) | ||||
17 | M16 x 1.5 | -- | -- | -- | -- | -- | -- | -- | ||||
18-23 | M10 x 1.5 | J 42385-215 | J 42385-211 | J 42385-212 | J 42385-213 | J 42385-214 | 29.0 (1.14) | 23.0 (0.905) | ||||
24-25 | M8 x 1.25 | J 42385-210 | J 42385-206 | J 42385-207 | J 42385-208 | J 42385-209 | 21.0 (0.826) | 16.0 (0.629) | ||||
26 | M16 x 1.5 | -- | -- | -- | -- | -- | -- | -- | ||||
27 | M28 x 1.25 | -- | -- | -- | -- | -- | -- | -- | ||||
28 | M10 x 1.5 | J 42385-215 | J 42385-211 | J 42385-212 | J 42385-213 | J 42385-214 | 27.0 (1.06) | 21.5 (0.846) | ||||
29 | M11 x 2.0 | J 42385-108 | J 42385-105 | -- | J 42385-106 | J 42385-107 | 124.0 (4.88) | 115.0 (4.52) | ||||
| ||||||||||||
Hole | Thread Size | Insert | Drill | Counterbore Tool | Tap | Driver | Drill Depth Maximum mm (in) | Tap Depth Maximum mm (in) | ||||
|---|---|---|---|---|---|---|---|---|---|---|---|---|
1 | M11 x 2.0 | J 42385-108 | J 42385-105 | -- | J 42385-106 | J 42385-107 | 124.0 (4.88) | 115.0 (4.52) | ||||
2 | M11 x 2.0 | J 42385-108 | J 42385-105 | -- | J 42385-106 | J 42385-107 | 69.0 (2.72) | 60.0 (2.36) | ||||
3 | M8 x 1.25 | J 42385-210 | J 42385-206 | J 42385-207 | J 42385-208 | J 42385-209 | 26.5 (1.04) | 19.0 (0.784) | ||||
4-5 | M11 x 2.0 | J 42385-108 | J 42385-105 | -- | J 42385-106 | J 42385-107 | 124.0 (4.88) | 115.0 (4.52) | ||||
6 | M6 x 1.0 | J 42385-205 | J 42385-201 | J 42385-202 | J 42385-203 | J 42385-204 | 22.5 (0.885) | 15.0 (0.590) | ||||
7 | M8 x 1.25 | J 42385-210 | J 42385-206 | J 42385-207 | J 42385-208 | J 42385-209 | 26.5 (1.04) | 19.0 (0.784) | ||||
8-9 | M11 x 2.0 | J 42385-108 | J 42385-105 | -- | J 42385-106 | J 42385-107 | 124.0 (4.88) | 115.0 (4.52) | ||||
10 | M8 x 1.25 | J 42385-210 | J 42385-206 | J 42385-207 | J 42385-208 | J 42385-209 | 26.5 (1.04) | 19.0 (0.784) | ||||
11-12 | M11 x 2.0 | J 42385-108 | J 42385-105 | -- | J 42385-106 | J 42385-107 | 124.0 (4.88) | 115.0 (4.52) | ||||
13 | M6 x 1.0 | J 42385-205 | J 42385-201 | J 42385-202 | J 42385-203 | J 42385-204 | 22.5 (0.885) | 15.0 (0.590) | ||||
14 | M8 x 1.25 | J 42385-210 | J 42385-206 | J 42385-207 | J 42385-208 | J 42385-209 | 26.5 (1.04) | 19.0 (0.784) | ||||
15 | M8 x 1.25 | J 42385-210 | J 42385-206 | J 42385-207 | J 42385-208 | J 42385-209 | 26.5 (1.04) | 19.0 (0.784) | ||||
16 | M11 x 2.0 | J 42385-108 | J 42385-105 | -- | J 42385-106 | J 42385-107 | 69.0 (2.72) | 60.0 (2.36) | ||||
17 | M11 x 2.0 | J 42385-108 | J 42385-105 | -- | J 42385-106 | J 42385-107 | 124.0 (4.88) | 115.0 (4.52) | ||||
18-21 | M10 x 1.5 | J 42385-215 | J 42385-211 | J 42385-212 | J 42385-213 | J 42385-214 | 27.0 (1.06) | 21.5 (0.846) | ||||
22-26 | M10 x 1.5 | J 42385-215 | J 42385-211 | J 42385-212 | J 42385-213 | J 42385-214 | 29.0 (1.14) | 23.0 (0.905) | ||||
27 | M16 x 1.5 | -- | -- | -- | -- | -- | -- | -- | ||||
28 | M8 x 1.25 | J 42385-210 | J 42385-206 | J 42385-207 | J 42385-208 | J 42385-209 | 22.5 (0.885) | 17.5 (0.688) | ||||
| ||||||||||||
Hole | Thread Size | Insert | Drill | Counterbore Tool | Tap | Driver | Drill Depth Maximum mm (in) | Tap Depth Maximum mm (in) | ||||||
|---|---|---|---|---|---|---|---|---|---|---|---|---|---|---|
1 | M10 x 2.0 | J 42385-104 | J 42385-101 | -- | J 42385-102 | J 42385-103 | 53.5 (2.10) | 44.0 (1.73) | ||||||
2 | M10 x 2.0 | J 42385-104 | J 42385-101 | -- | J 42385-102 | J 42385-103 | 31.0 (1.22) | 25.5 (1.0) | ||||||
3 | M8 x 1.25 | J 42385-210 | J 42385-206 | J 42385-207 | J 42385-208 | J 42385-209 | 22.5 (0.885) | 17.5 (0.688) | ||||||
4 | M28 x 1.25 | -- | -- | -- | -- | -- | -- | -- | ||||||
5 | M8 x 1.25 | J 42385-210 | J 42385-206 | J 42385-207 | J 42385-208 | J 42385-209 | 22.5 (0.885) | 17.5 (0.688) | ||||||
6 | M10 x 2.0 | J 42385-104 | J 42385-101 | -- | J 42385-102 | J 42385-103 | 31.0 (1.22) | 25.5 (1.0) | ||||||
7 | M10 x 2.0 | J 42385-104 | J 42385-101 | -- | J 42385-102 | J 42385-103 | 53.5 (2.10) | 44.0 (1.73) | ||||||
8 | M8 x 1.25 | J 42385-210 | J 42385-206 | J 42385-207 | J 42385-208 | J 42385-209 | 22.5 (0.885) | 17.5 (0.688) | ||||||
9 | M10 x 2.0 | J 42385-104 | J 42385-101 | -- | J 42385-102 | J 42385-103 | 31.0 (1.22) | 25.5 (1.0) | ||||||
10 | M10 x 2.0 | J 42385-104 | J 42385-101 | -- | J 42385-102 | J 42385-103 | 53.5 (2.10) | 44.0 (1.73) | ||||||
11 | M8 x 1.25 | J 42385-210 | J 42385-206 | J 42385-207 | J 42385-208 | J 42385-209 | 22.5 (0.885) | 17.5 (0.688) | ||||||
12 | M10 x 2.0 | J 42385-104 | J 42385-101 | -- | J 42385-102 | J 42385-103 | 53.5 (2.10) | 44.0 (1.73) | ||||||
13 | M8 x 1.25 | J 42385-210 | J 42385-206 | J 42385-207 | J 42385-208 | J 42385-209 | 22.5 (0.885) | 17.5 (0.688) | ||||||
14 | M10 x 2.0 | J 42385-104 | J 42385-101 | -- | J 42385-102 | J 42385-103 | 53.5 (2.10) | 44.0 (1.73) | ||||||
15 | M16 x 1.5 | -- | -- | -- | -- | -- | -- | -- | ||||||
16 | M8 x 1.25 | J 42385-210 | J 42385-206 | J 42385-207 | J 42385-208 | J 42385-209 | 22.5 (0.885) | 17.5 (0.688) | ||||||
17 | M10 x 2.0 | J 42385-104 | J 42385-101 | -- | J 42385-102 | J 42385-103 | 31.0 (1.22) | 25.5 (1.0) | ||||||
18-19 | M10 x 2.0 | J 42385-104 | J 42385-101 | -- | J 42385-102 | J 42385-103 | 53.5 (2.10) | 44.0 (1.73) | ||||||
20 | M10 x 2.0 | J 42385-104 | J 42385-101 | -- | J 42385-102 | J 42385-103 | 31.0 (1.22) | 25.5 (1.0) | ||||||
21-22 | M10 x 1.5 | J 42385-215 | J 42385-101 | -- | J 42385-213 | J 42385-214 | 42.5 (1.67) | 37.0 (1.45) | ||||||
23 | M8 x 1.25 | J 42385-210 | J 42385-206 | J 42385-207 | J 42385-208 | J 42385-209 | 22.5 (0.885) | 17.5 (0.688) | ||||||
24 | M16 x 1.5 | -- | -- | -- | -- | -- | -- | -- | ||||||
25 | M10 x 2.0 | J 42385-104 | J 42385-101 | -- | J 42385-102 | J 42385-103 | 53.5 (2.10) | 44.0 (1.73) | ||||||
26 | M10 x 2.0 | J 42385-104 | J 42385-101 | -- | J 42385-102 | J 42385-103 | 31.0 (1.22) | 25.5 (1.0) | ||||||
27 | M8 x 1.25 | J 42385-210 | J 42385-206 | J 42385-207 | J 42385-208 | J 42385-209 | 22.5 (0.885) | 17.5 (0.688) | ||||||
28 | M10 x 2.0 | J 42385-104 | J 42385-101 | -- | J 42385-102 | J 42385-103 | 31.0 (1.22) | 25.5 (1.0) | ||||||
29 | M10 x 2.0 | J 42385-104 | J 42385-101 | -- | J 42385-102 | J 42385-103 | 53.5 (2.10) | 44.0 (1.73) | ||||||
30 | M8 x 1.25 | J 42385-210 | J 42385-206 | J 42385-207 | J 42385-208 | J 42385-209 | 22.5 (0.885) | 17.5 (0.688) | ||||||
31 | M10 x 2.0 | J 42385-104 | J 42385-101 | -- | J 42385-102 | J 42385-103 | 31.0 (1.22) | 25.5 (1.0) | ||||||
32 | M8 x 1.25 | J 42385-210 | J 42385-206 | J 42385-207 | J 42385-208 | J 42385-209 | 22.5 (0.885) | 17.5 (0.688) | ||||||
33 | M10 x 2.0 | J 42385-104 | J 42385-101 | -- | J 42385-102 | J 42385-103 | 53.5 (2.10) | 44.0 (1.73) | ||||||
34 | M8 x 1.25 | J 42385-210 | J 42385-206 | J 42385-207 | J 42385-208 | J 42385-209 | 22.5 (0.885) | 17.5 (0.688) | ||||||
35 | M10 x 2.0 | J 42385-104 | J 42385-101 | -- | J 42385-102 | J 42385-103 | 31.0 (1.22) | 25.5 (1.0) | ||||||
36 | M10 x 2.0 | J 42385-104 | J 42385-101 | -- | J 42385-102 | J 42385-103 | 53.5 (2.10) | 44.0 (1.73) | ||||||
| ||||||||||||||
Hole | Thread Size | Insert | Drill | Counterbore Tool | Tap | Driver | Drill Depth Maximum mm (in) | Tap Depth Maximum mm (in) |
|---|---|---|---|---|---|---|---|---|
1-2 | M8 x 1.25 | J 42385-210 | J 42385-206 | J 42385-207 | J 42385-208 | J 42385-209 | 26.5 (1.04) | 19.0 (0.784) |
3-7 | M8 x 1.25 | J 42385-210 | J 42385-206 | J 42385-207 | J 42385-208 | J 42385-209 | 26.5 (1.04) | 19.0 (0.784) |
8 | M16 x 1.5 | -- | -- | -- | -- | -- | -- | -- |
9 | M8 x 1.25 | J 42385-210 | J 42385-206 | J 42385-207 | J 42385-208 | J 42385-209 | 26.5 (1.04) | 19.0 (0.784) |
10 | M10 x 1.5 | J 42385-216 | J 42385-211 | J 42385-212 | J 42385-213 | J 42385-214 | 22.5 (0.885) | 17.0 (0.669) |
11 | M8 x 1.25 | J 42385-210 | J 42385-206 | J 42385-207 | J 42385-208 | J 42385-209 | 26.5 (1.04) | 19.0 (0.784) |
12-13 | M8 x 1.25 | J 42385-210 | J 42385-206 | J 42385-207 | J 42385-208 | J 42385-209 | 26.5 (1.04) | 19.0 (0.784) |
14 | M10 x 1.5 | J 42385-216 | J 42385-211 | J 42385-212 | J 42385-213 | J 42385-214 | 22.5 (0.885) | 17.0 (0.669) |
15 | M8 x 1.25 | J 42385-210 | J 42385-206 | J 42385-207 | J 42385-208 | J 42385-209 | 26.5 (1.04) | 19.0 (0.784) |
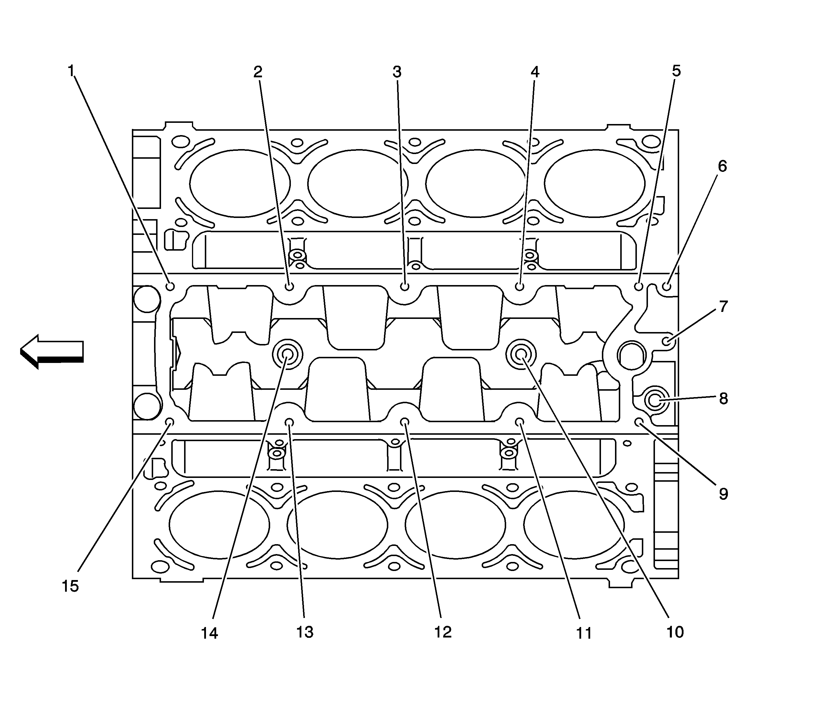
Hole | Thread Size | Insert | Drill | Counterbore Tool | Tap | Driver | Drill Depth Maximum mm (in) | Tap Depth Maximum mm (in) |
|---|---|---|---|---|---|---|---|---|
1-5 | M8 x 1.25 | J 42385-210 | J 42385-206 | J 42385-207 | J 42385-208 | J 42385-209 | 26.5 (1.04) | 19.0 (0.784) |
6-9 | M6 x 1.0 | J 42385-205 | J 42385-201 | J 42385-202 | J 42385-203 | J 42385-204 | 20.05 (0.789) | 16.05 (0.632) |
10-12 | M8 x 1.25 | J 42385-210 | J 42385-206 | J 42385-207 | J 42385-208 | J 42385-209 | 26.5 (1.04) | 19.0 (0.784) |
Hole | Thread Size | Insert | Drill | Counterbore Tool | Tap | Driver | Drill Depth Maximum mm (in) | Tap Depth Maximum mm (in) |
|---|---|---|---|---|---|---|---|---|
1 | M10 x 1.5 | J 42385-215 | J 42385-211 | J 42385-212 | J 42385-213 | J 42385-214 | 28.0 (1.10) | 20.0 (0.787) |
2 | M10 x 1.5 | J 42385-215 | J 42385-211 | J 42385-212 | J 42385-213 | J 42385-214 | 28.0 (1.10) | 20.0 (0.787) |
3-4 | M10 x 1.5 | J 42385-215 | J 42385-211 | J 42385-212 | J 42385-213 | J 42385-214 | 28.0 (1.10) | 20.0 (0.787) |
Hole | Thread Size | Insert | Drill | Counterbore Tool | Tap | Driver | Drill Depth Maximum mm (in) | Tap Depth Maximum mm (in) |
|---|---|---|---|---|---|---|---|---|
1-2 | M10 x 1.5 | J 42385-215 | J 42385-211 | J 42385-212 | J 42385-213 | J 42385-214 | 28.0 (1.10) | 20.0 (0.787) |
3 | M8 x 1.25 | J 42385-210 | J 42385-206 | J 42385-207 | J 42385-208 | J 42385-209 | 21.0 (0.826) | 16.0 (0.629) |
4 | M14 x 1.25 | -- | -- | -- | -- | -- | -- | -- |
5 | M8 x 1.25 | J 42385-210 | J 42385-206 | J 42385-207 | J 42385-208 | J 42385-209 | 21.0 (0.826) | 16.0 (0.629) |
6 | M14 x 1.25 | -- | -- | -- | -- | -- | -- | -- |
7-8 | M8 x 1.25 | J 42385-210 | J 42385-206 | J 42385-207 | J 42385-208 | J 42385-209 | 21.0 (0.826) | 16.0 (0.629) |
9 | M14 x 1.25 | -- | -- | -- | -- | -- | -- | -- |
10 | M8 x 1.25 | J 42385-210 | J 42385-206 | J 42385-207 | J 42385-208 | J 42385-209 | 21.0 (0.826) | 16.0 (0.629) |
11 | M14 x 1.25 | -- | -- | -- | -- | -- | -- | -- |
12 | M8 x 1.25 | J 42385-210 | J 42385-206 | J 42385-207 | J 42385-208 | J 42385-209 | 21.0 (0.826) | 16.0 (0.629) |
13 | M12 x 1.5 | -- | -- | -- | -- | -- | -- | -- |
14-15 | M10 x 1.5 | J 42385-215 | J 42385-211 | J 42385-212 | J 42385-213 | J 42385-214 | 28.0 (1.10) | 20.0 (0.787) |
Hole 5 | Thread Size | Insert | Drill | Counterbore Tool | Tap | Driver | Drill Depth Maximum mm (in) | Tap Depth Maximum mm (in) |
|---|---|---|---|---|---|---|---|---|
1-2 | M6 x 1.0 | J 42385-205 | J 42385-201 | J 42385-202 | J 42385-203 | J 42385-204 | Thru | Thru |
3-4 | M6 x 1.0 | J 42385-205 | J 42385-201 | J 42385-202 | J 42385-203 | J 42385-204 | 22.5 (0.885) | 15.0 (0.688) |
5-7 | M6 x 1.0 | J 42385-205 | J 42385-201 | J 42385-202 | J 42385-203 | J 42385-204 | Thru | Thru |