GM Service Manual Online
For 1990-2009 cars only
   • 
Object Number: 303713  Size: SH
  • Vehicles involved in accidents involving the following conditions may also have a damaged or misaligned steering column:
  •    - Frame damage
       - Major body or sheet metal damage
       - Where the steering column has been impacted
       - Where supplemental inflatable restraint systems deployed
       • 
  • Inspect the capsules on the steering column bracket assembly. All capsules must be securely seated in the bracket slots and inspected for any loose conditions when pushed or pulled by hand.
  •    • 
  • Observe how the bracket is attached to the jacket assembly.
  •    - If the capsules are not securely seated and the bracket is bolted to the jacket assembly, replace only the bracket.
       - If the capsules are not securely seated and the bracket is welded to the jacket assembly, replace only the jacket assembly.
       • 
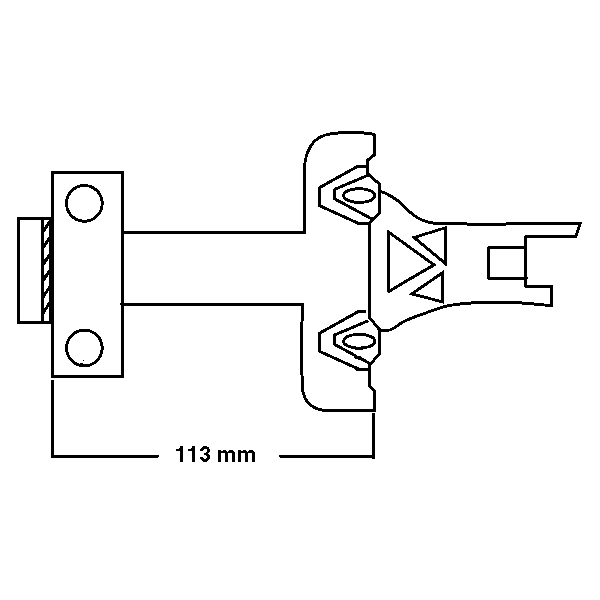
    Object Number: 516129  Size: SH
  • Inspect for jacket assembly collapse by measuring the distance from the lower edge of the upper jacket to a defined point on the lower jacket. Replace the jacket assembly if the measured dimensions are not within specifications.
  •    • 
    Object Number: 516133  Size: SH
  • Inspect for tab (1) breakage on the bearing and adapter assembly.
  •    • 
    Object Number: 303724  Size: SH
  • Visually inspect the steering shaft for sheared injected plastic (1). If the steering shaft shows sheared plastic, replace the steering shaft.
  •    • 
  • Any frame damage that could cause a bent steering shaft must have the steering shaft runout checked. Using a dial indicator at the lower end of the steering shaft, rotate the steering wheel. The runout must not exceed 1.60 mm (0.06 in).