GM Service Manual Online
For 1990-2009 cars only

Tools Required

J 39400-A Halogen Leak Detector

Removal Procedure

    Important: The condenser and receiver dehydrator are integrated and cannot be serviced separately.

  1. Recover the refrigerant from the A/C system. Refer to Refrigerant Recovery and Recharging .
  2. Remove the upper radiator support. Refer to Radiator Support Replacement in Engine Cooling.

  3. Object Number: 1489541  Size: SH
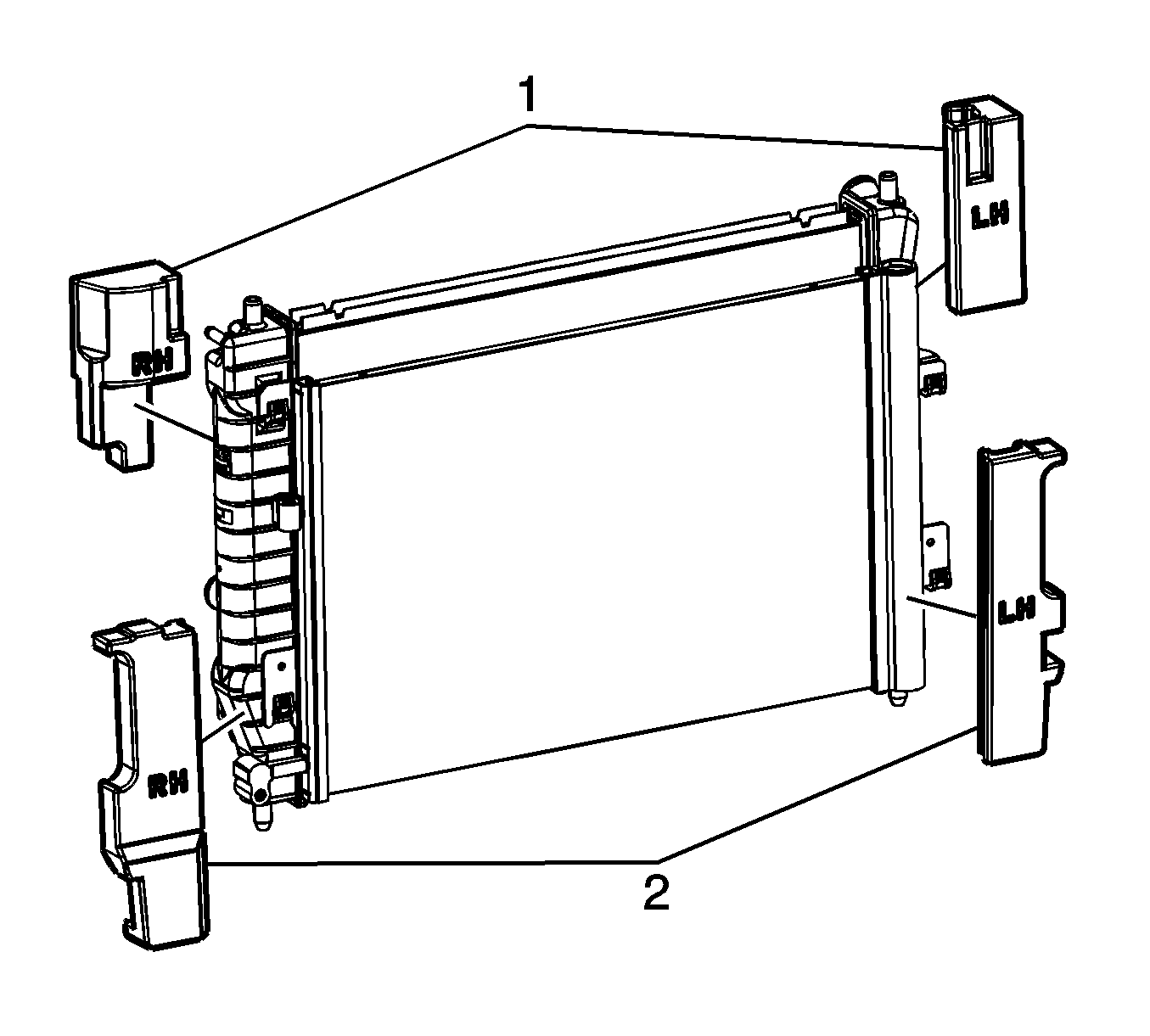
  4. Remove the upper radiator seals (1).

  5. Object Number: 1489472  Size: SH
  6. Remove the A/C compressor hose assembly to A/C condenser fitting bolt (1).
  7. Important: Cap or tape the open A/C components immediately to prevent system contamination.

  8. Disconnect the A/C compressor hose assembly from the A/C condenser fitting.
  9. Remove and discard the seal washer.
  10. Cap or tape the A/C compressor hose assembly.
  11. Raise and support the vehicle. Refer to Lifting and Jacking the Vehicle in General Information.

  12. Object Number: 1237791  Size: SH
  13. Remove the bolt from the liquid line at the A/C condenser (1).
  14. Disconnect the liquid line (2) from the A/C condenser (3).
  15. Remove and discard the seal washer.
  16. Cap or tape the front evaporator inlet line.

  17. Object Number: 1489541  Size: SH
  18. Remove the lower radiator seals (2).
  19. Lower the vehicle.

  20. Object Number: 1247577  Size: SH
  21. Raise the A/C condenser along the radiator to release the A/C condenser tabs from the radiator slots.
  22. Remove the A/C condenser from the vehicle.

Installation Procedure

  1. If replacing the condenser, add the specified amount of PAG oil directly to the condenser. Refer to Refrigerant System Capacities .

  2. Object Number: 1247577  Size: SH
  3. Position the A/C condenser into the vehicle.
  4. Lower the A/C condenser to secure the A/C condenser tabs into the radiator slots.
  5. Raise and support the vehicle. Refer to Lifting and Jacking the Vehicle .

  6. Object Number: 1489541  Size: SH
  7. Install the lower radiator seals (2).
  8. Remove the cap or tape from the front evaporator inlet line.
  9. Install a new seal washer onto the liquid line. Refer to Sealing Washer Replacement .

  10. Object Number: 1237791  Size: SH
  11. Connect the liquid line to the A/C condenser.
  12. Notice: Use the correct fastener in the correct location. Replacement fasteners must be the correct part number for that application. Fasteners requiring replacement or fasteners requiring the use of thread locking compound or sealant are identified in the service procedure. Do not use paints, lubricants, or corrosion inhibitors on fasteners or fastener joint surfaces unless specified. These coatings affect fastener torque and joint clamping force and may damage the fastener. Use the correct tightening sequence and specifications when installing fasteners in order to avoid damage to parts and systems.

  13. Install the front evaporator inlet line bolt.
  14. Tighten
    Tighten the bolt to 16 N·m (12 lb ft).

  15. Lower the vehicle.
  16. Remove the cap or tape from the A/C compressor hose assembly.

  17. Object Number: 1489472  Size: SH
  18. Install a new seal washer to the A/C compressor hose assembly. Refer to Sealing Washer Replacement .
  19. Connect the A/C compressor hose assembly to the A/C condenser.
  20. Install the A/C compressor hose assembly to A/C condenser bolt (1).
  21. Tighten
    Tighten the bolt to 16 N·m (12 lb ft).

  22. Evacuate and recharge the A/C system. Refer to Refrigerant Recovery and Recharging .
  23. Leak test the fittings of the component using J 39400-A .

  24. Object Number: 1489541  Size: SH
  25. Install the upper radiator seals (1).
  26. Install the upper radiator support. Refer to Radiator Support Replacement in Engine Cooling.