GM Service Manual Online
For 1990-2009 cars only

Removal Procedure

  1. Remove the HVAC module assembly. Refer to HVAC Module Assembly Replacement .
  2. Important: Some screws are hidden under the foam insulation.

  3. Remove the screws to separate the HVAC module assembly halves.

  4. Object Number: 888407  Size: SH
  5. Separate the HVAC module assembly (1, 4).

  6. Object Number: 888401  Size: SH
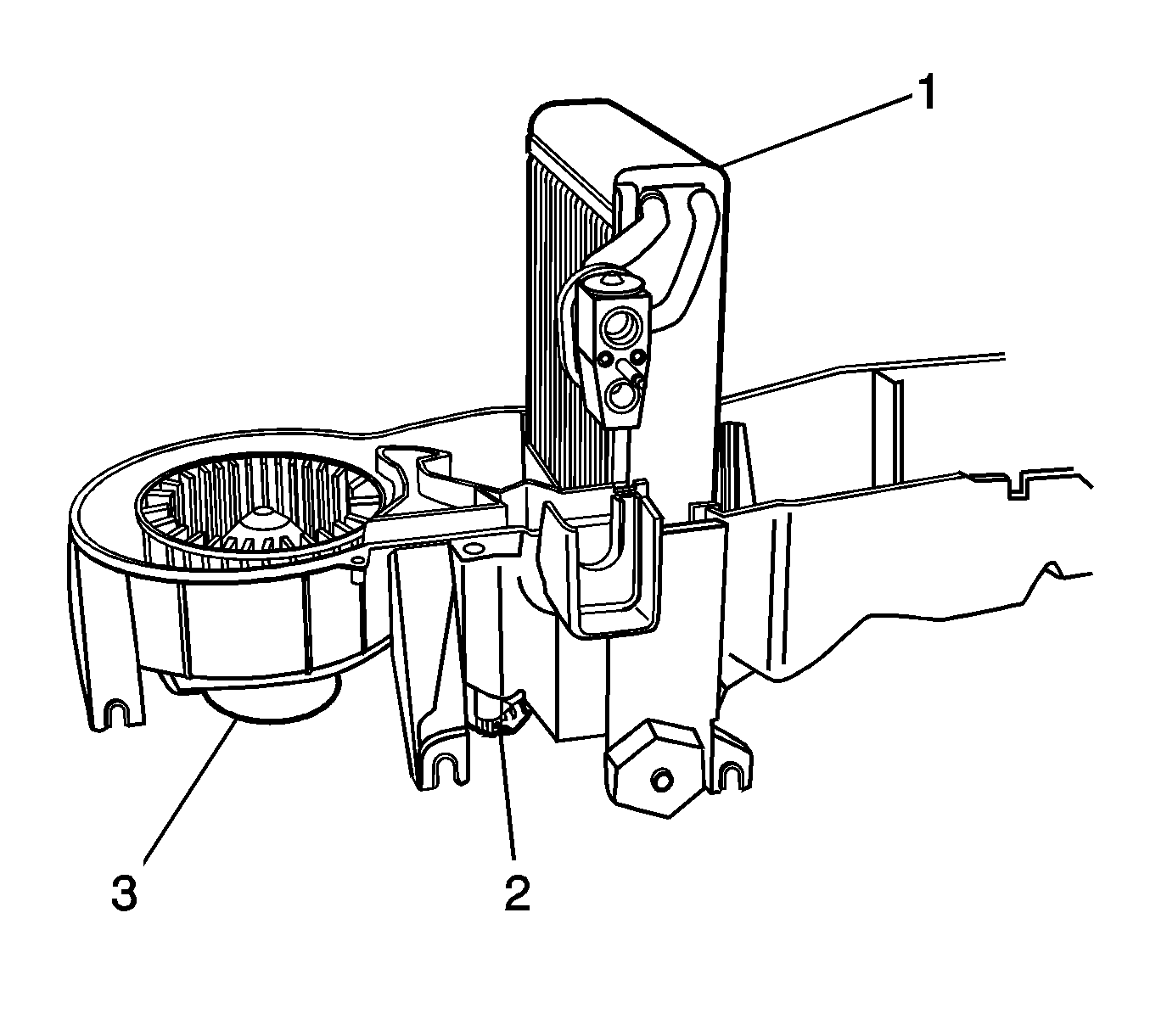
  7. Remove the evaporator core (1) from the HVAC module assembly (2).

Installation Procedure


    Object Number: 888401  Size: SH

    Important: If replacing the evaporator core, add the refrigerant oil to the evaporator core. Refer to Refrigerant System Capacities for system capacity information.

  1. Install the evaporator core (1) to the HVAC module assembly (2).

  2. Object Number: 888407  Size: SH
  3. Assemble the HVAC module assembly (1, 4).
  4. Notice: Refer to Fastener Notice in the Preface section.

  5. Install the screws to join the HVAC module assembly halves.
  6. Tighten
    Tighten the screws to 1.9 N·m (17 lb in).

  7. Install the HVAC module assembly. Refer to HVAC Module Assembly Replacement .