GM Service Manual Online
For 1990-2009 cars only
Figure 1:

Inflatable Restraint Steering Wheel and I/P Module


Object Number: 1364111  Size: LF
(1)Inflatable Restraint Steering Wheel Module
(2)Inflatable Restraint I/P Module
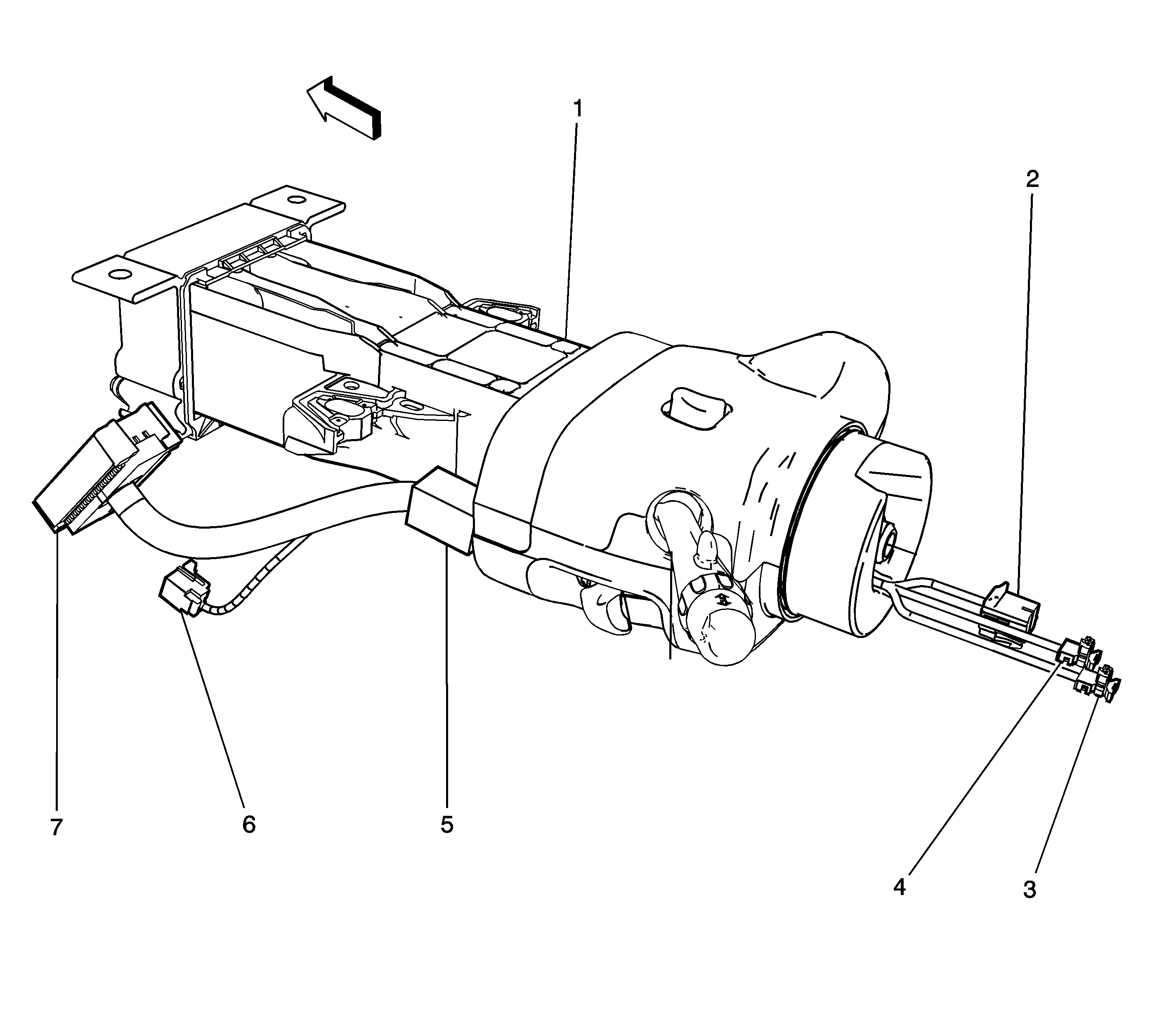
Figure 2:

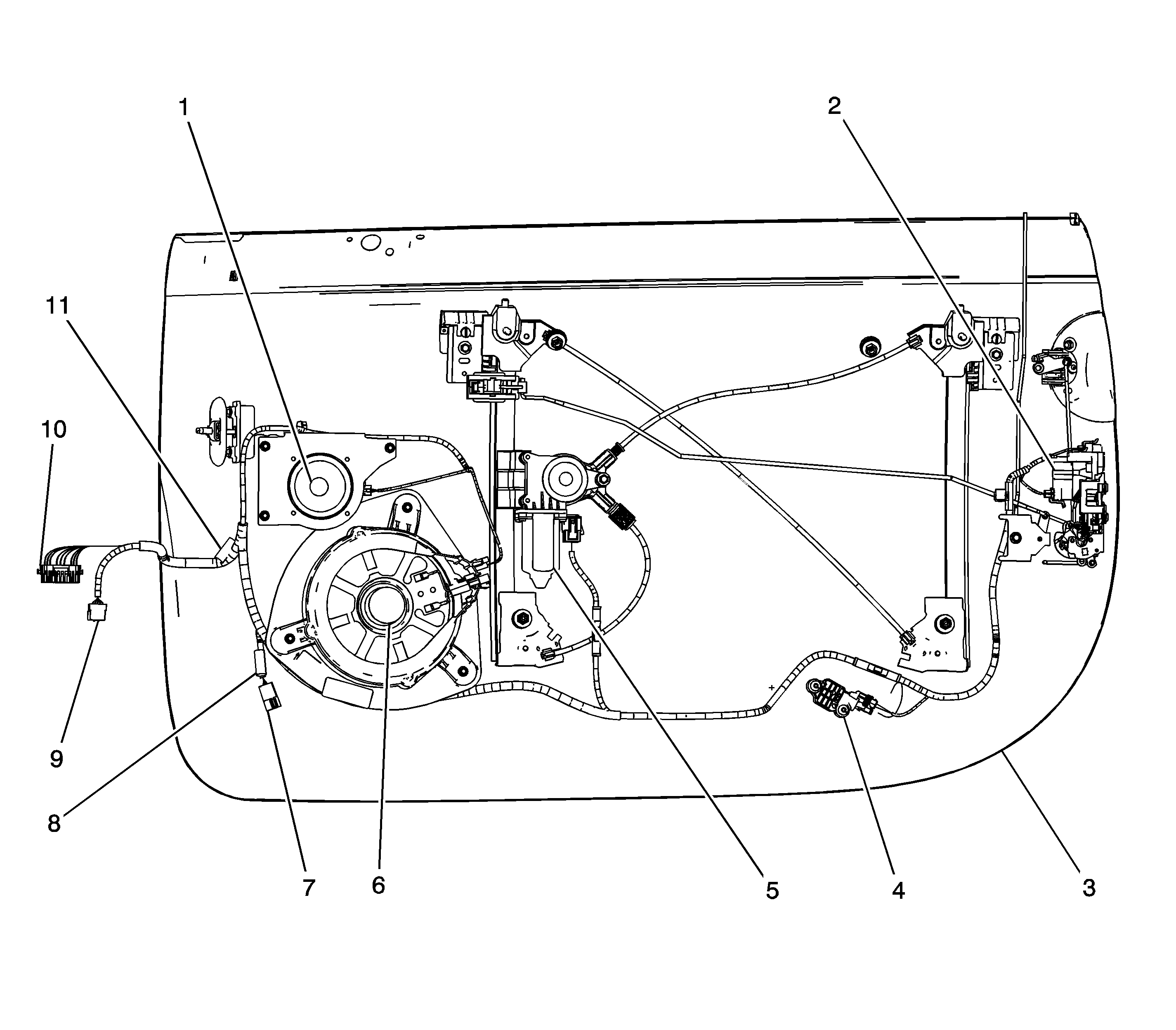
Steering Colunm


Object Number: 1393031  Size: LF
(1)Steering Column
(2)C277
(3)Inflatable Restraint Steering Wheel Module C2
(4)Inflatable Restraint Steering Wheel Module C1
(5)Steering Column Fuse Holder
(6)C275
(7)C201
Figure 3:

SDM and Sensors


Object Number: 1364113  Size: LF
(1)Inflatable Restraint Sensing and Diagnostic Module (SDM)
(2)Inflatable Restraint Sensing and Diagnostic Module (SDM) Connector
(3)I/P Harness
(4)Seat Belt Pretensioner - Left Connector
(5)Inflatable Restraint Side Impact Module - Left Connector
Figure 4:

Disable Switch and Front Sensors


Object Number: 1364162  Size: LF
(1)Electronic Frontal Sensor (EFS) - Right
(2)Inflatable Restraint I/P Module Disable Switch
(3) Electronic Frontal Sensor (EFS) - Left
Figure 5:

Driver Seat UP Level Component View


Object Number: 1273003  Size: LF
(1)Inflatable Restraint Side Impact Module - Left
(2)C300
(3)S325
(4)S324
(5)S315
(6)S313
(7)S314
(8)Seat Adjuster Switch - Driver Connector C1
(9)Seat Adjuster Switch - Driver Connector C2
(10)Seat Adjuster Switch - Driver
(11)Lumbar Motor - Driver Connector
Figure 6:

Driver Seat Base Level Component Views


Object Number: 1272997  Size: LF
(1)Lumbar Motor - Driver Connector
(2)C300
(3)Seat Belt Switch - Driver Connector
(4)Inflatable Restraint Seat Position Sensor (SPS) - Left Connector
(5)C313
(6)Seat Adjuster Switch - Driver Connector C1,C2
(7)Seat Adjuster Switch - Driver
Figure 7:

Passenger Seat Components Views


Object Number: 1273010  Size: LF
(1)Seat Adjuster Switch - Passenger Connector C2
(2)Seat Adjuster Switch - Passenger Connector C1
(3)Heated Seat Switch - Passenger Connector
(4)C314
(5)Inflatable Restraint Seat Position Sensor (SPS) - Right Connector
(6)Seat Belt Switch - Passenger Connector
(7)Heated Seat Element - Passenger Connector
(8)Inflatable Restraint Side Impact Module - Right
(9)Seat Adjuster Switch - Passenger
Figure 8:

Driver Door Components (Premium Radio)


Object Number: 1238390  Size: LF
(1)Outside Rearview Mirror Switch
(2)Speaker - LF Door Midrange
(3)S501
(4)C500
(5)C501
(6)S500
(7)Outside Rearview Mirror - Driver
(8)Speaker - LF Door
(9)S502
(10)Window Motor - Driver
(11)Inflatable Restraint Side Impact Sensor (SIS) - Left
(12)Door Latch Assembly - Driver
Figure 9:

Passenger Door Components (Premium Radio)


Object Number: 1238392  Size: LF
(1)Speaker - RF Door Midrange
(2)Door Latch Assembly - Passenger
(3)Passenger Door
(4)Inflatable Restraint Side Impact Sensor (SIS) - Right
(5)Window Motor - Passenger
(6)S602
(7)Speaker - RF Door
(8)Outside Rearview Mirror - Passenger
(9)S600
(10)C601
(11)C600
(12)S601
Figure 10:

Body Harness Routing/Components Views


Object Number: 1236084  Size: LF
(1)C303
(2)C600
(3)C601
(4)G301
(5)Seat Belt Pretensioner - RF
(6)Inflatable Restraint Side Impact Module - Right
(7)C306
(8)S303
(9)C308
(10)Roof/Door Module
(11)Roof/Door Module
(12)Relay Block - Rear
(13)D300
(14)Speaker - LR
(15)Audio Amplifier C3
(16)Audio Amplifier C1
(17)Splice Pack SP300
(18)Audio Amplifier C2
(19)S307
(20)Speaker - RR
(21)C309
(22)C202
(23)C204
(24)C200
(25)Fuse Block - Rear C2
(26)S306
(27)Fuse Block - Rear C3
(28)S301
(29)S302
(30)G302