Removal Procedure
- Open the instrument panel (I/P)
compartment door.
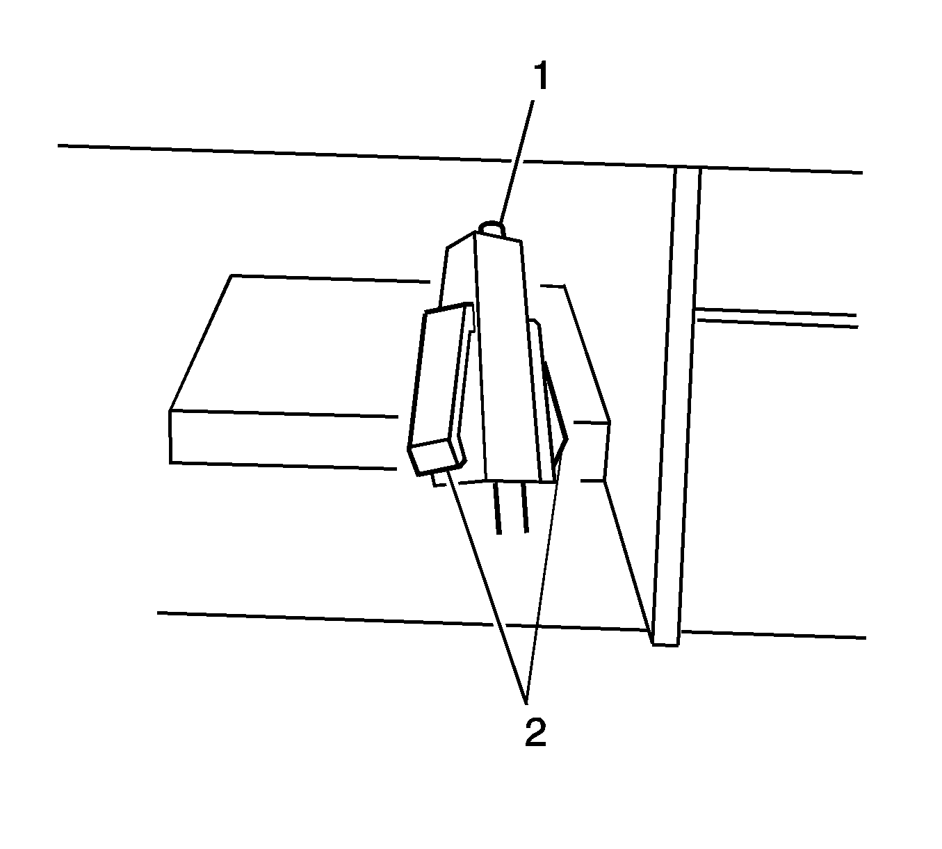
- Compress the tabs (2) on the switch in order in release it from
the I/P.
- Remove the bulb (1).
- Disconnect the electrical connector.
Installation Procedure
- Install the bulb (1).
- Connect the electrical connector.
- Slide the tabs (2) on the switch into the mounting hole in the
I/P in order to secure the switch in to place.