GM Service Manual Online
For 1990-2009 cars only

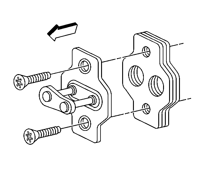
Removal Procedure


    Object Number: 63814  Size: SH
  1. Remove the screws attaching the door striker.
  2. Remove the shims and the door striker.

Installation Procedure


    Object Number: 63814  Size: SH
  1. Install the shim striker.
  2. Install the screws to the striker.
  3. Close the door to align the door striker.
  4. Notice: Refer to Fastener Notice in the Preface section.

  5. Open the door and tighten the screws.
  6. Tighten
    Tighten the door striker screws to 24 N·m (18 lb ft).