GM Service Manual Online
For 1990-2009 cars only

Removal Procedure

  1. Open the rear compartment lid.
  2. Lower the endgate.
  3. Remove the rear compartment endgate liner.
  4. Remove the endgate. Refer to Endgate Replacement .
  5. Remove the endgate hinge. Refer to Endgate Hinge Replacement .
  6. Remove the trailer hitch, if equipped. Refer to Trailer Hitch Replacement in Frame and Underbody.

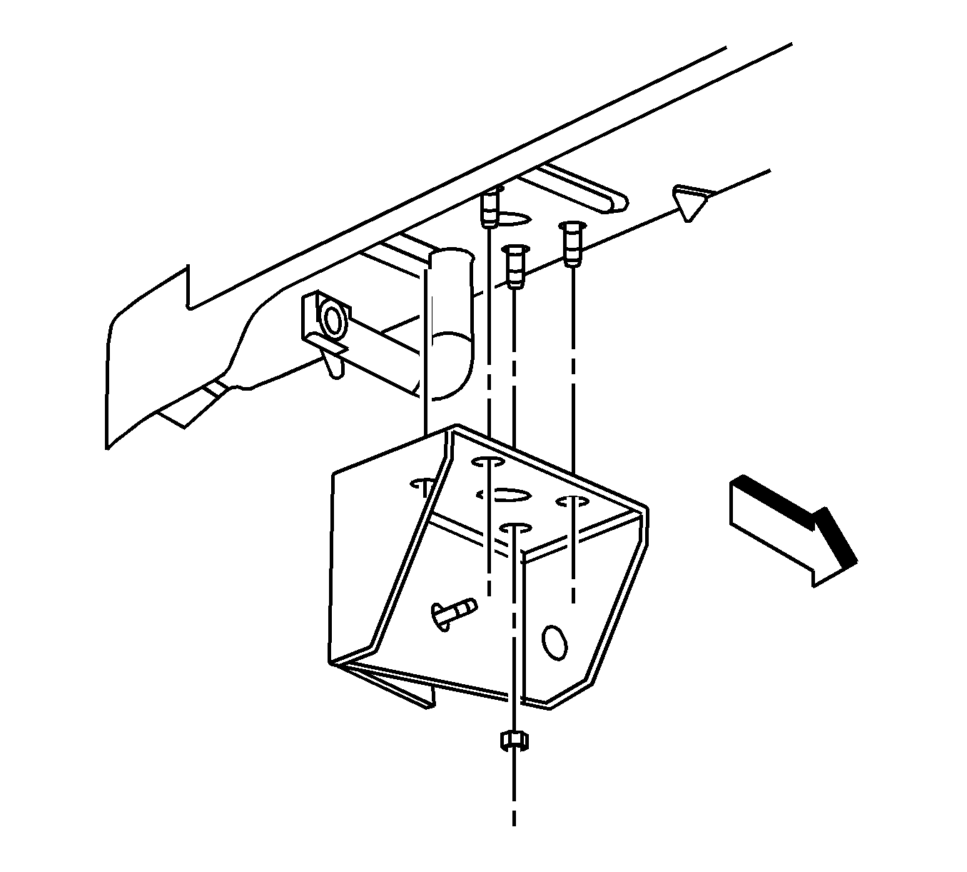
  7. Object Number: 1273207  Size: SH
  8. Remove the rear compartment endgate hinge mounting bracket fasteners.

  9. Object Number: 1273205  Size: SH
  10. Remove the rear compartment endgate hinge mounting bracket from the vehicle.

Installation Procedure


    Object Number: 1273205  Size: SH
  1. Install the rear compartment endgate hinge mounting bracket onto the vehicle.
  2. Notice: Refer to Fastener Notice in the Preface section.


    Object Number: 1273207  Size: SH
  3. Install the rear compartment endgate hinge mounting bracket fasteners.
  4. Tighten
    Tighten the bracket fasteners to 10 N·m (88 lb in).

  5. Install the endgate hinge. Refer to Endgate Hinge Replacement .
  6. Install the trailer hitch, if previously removed. Refer to Trailer Hitch Replacement in Frame and Underbody.
  7. Install the endgate. Refer to Endgate Replacement .
  8. Install the rear compartment endgate liner. Refer to Rear Compartment Endgate Liner Replacement .
  9. Close the endgate.
  10. Close the rear compartment lid.