GM Service Manual Online
For 1990-2009 cars only

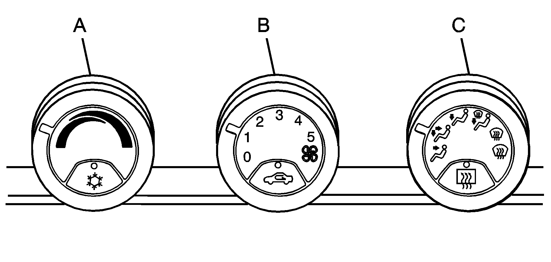
Object Number: 949383  Size: B2
  1. Temperature Knob

  2. Fan Knob

  3. Mode Knob

With this system you can control the heating, cooling, and ventilation for your vehicle.

Temperature Knob

The left knob on the control panel is used to adjust the temperature of the air in the vehicle. Turn the knob clockwise or counterclockwise to increase or decrease the temperature.

(Air Conditioning): Press this button located on the temperature knob to turn the air-conditioning system on or off. An indicator light on the button will come on to let you know the air conditioning is activated. When the system is on, this setting cools and dehumidifies the air entering your vehicle and directs it through the floor ducts as well as the instrument panel outlets.

The air conditioning system removes moisture from the air, so you may sometimes notice a small amount of water dripping underneath your vehicle while idling or after turning off the engine. This is normal.

The air conditioning will not function if the fan is turned off.

Fan Knob

The center knob on the control panel is used to control the fan speed. Turn the knob clockwise or counterclockwise to increase or decrease the fan speed.

(Recirculation): This mode keeps outside air from coming in the vehicle. It can be used to prevent outside air and odors from entering your vehicle or help heat or cool the air inside your vehicle more quickly. Press this button on the fan knob to turn the recirculation mode on or off. An indicator light on the button will come on to let you know the recirculation mode is activated. Recirculation is only available in the bi-level and vent modes. If you push the recirculation button while the system is in any other mode, the light on the button will flash to indicate that recirculation is not available.

Mode Knob

The right knob on the control panel is used to direct the airflow inside your vehicle. Turn the knob to select one of the following modes:

(Vent): Select this mode to direct air to the instrument panel outlets.

(Bi-Level): Select this mode to direct approximately half of the air to the instrument panel outlets, and the remaining air to the floor outlets and the defroster and side window outlets. Cooler air is directed to the upper outlets and warmer air to the floor outlets.

(Floor): Select this mode to direct air to the floor outlets. Recirculation does not work in this mode.

Defogging and Defrosting

Fog on the inside of windows is a result of high humidity (moisture) condensing on the cool window glass. This can be minimized if the climate control system is used properly. There are two modes to clear fog or frost from your windshield and side windows. Use the defog mode to clear the windows of fog or moisture and warm the passengers. Use the defrost mode to remove fog or frost from the windshield more quickly. For best results, clear all snow and ice from the windshield before defrosting.

(Floor/Defog): This mode directs half of the air to the windshield and the side window outlets and the other half to the floor outlets. When you select this mode, the system runs the air-conditioning compressor unless the outside temperature is at or below freezing. Recirculation is not available in this mode.

(Defrost): This mode directs most of the air to the windshield, with some air directed to the side window outlets and the floor outlets. When you select this mode, the system runs the air-conditioning compressor unless the outside temperature is at or below freezing. Recirculation is not available in this mode.

(Maximum Defrost): This mode directs most of the air to the windshield, with some air directed to the side window outlets and the floor outlets. The rear window defogger and heated outside mirrors will turn on, and the fan speed will be at the highest setting (5). The temperature will be at the hottest setting also. Recirculation is not available in this mode. If this mode was selected when you turn your vehicle off, the warmest temperature and highest fan speed will be restored when the vehicle is started, regardless of the temperature and fan setting.

Do not drive the vehicle until all the windows are clear.

Rear Window Defogger

The rear window defogger uses a warming grid to remove fog from the rear window.

The rear window defogger will only work when the ignition is on.

(Rear): Press this button on the mode knob to turn the rear window defogger on or off. An indicator light on the button will come on to let you know that the rear window defogger is activated. When the rear defogger button is pressed, the outside heated mirrors will warm to help clear any fog or frost from the surface of the mirrors.

Notice: Do not use a razor blade or sharp object to clear the inside rear window. Do not adhere anything to the defogger grid lines in the rear glass. These actions may damage the rear defogger. Repairs would not be covered by your warranty.