GM Service Manual Online
For 1990-2009 cars only
Connector 1: Electronic Frontal Sensor (EFS) - Left
Connector 2: Electronic Frontal Sensor (EFS) - Right
Connector 3: Inflatable Restraint I/P Module
Connector 4: Inflatable Restraint I/P Module Disable Switch
Connector 5: Inflatable Restraint Passenger Air Bag ON/OFF Indicator
Connector 6: Inflatable Restraint Seat Position Sensor (SPS) - Left
Connector 7: Inflatable Restraint Seat Position Sensor (SPS) - Right
Connector 8: Inflatable Restraint Sensing and Diagnostic Module (SDM)
Connector 9: Inflatable Restraint Side Impact Module - Left
Connector 10: Inflatable Restraint Side Impact Module - Right
Connector 11: Inflatable Restraint Side Impact Sensor (SIS) - Left
Connector 12: Inflatable Restraint Side Impact Sensor (SIS) - Right
Connector 13: Inflatable Restraint Steering Wheel Module - C1
Connector 14: Inflatable Restraint Steering Wheel Module - C2
Connector 15: Seat Belt Pretensioner - Left
Connector 16: Seat Belt Pretensioner - Right

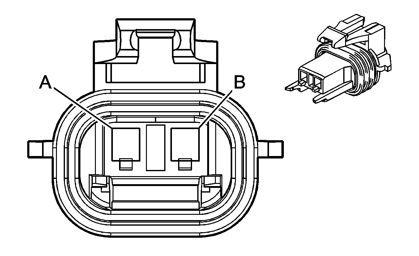
Electronic Frontal Sensor (EFS) - Left


Object Number: 1282936  Size: CH

Connector Part Information

  • OEM: 15356724
  • Service: 15306418
  • Description: 2-Way F GT 150 Series (YE)

Electronic Frontal Sensor (EFS) - Left

Pin

Wire Color

Circuit No.

Function

A

YE

354

Discriminating Sensor - Signal

B

GY

349

Discriminating Sensor - Left - Signal

Electronic Frontal Sensor (EFS) - Right


Object Number: 1282936  Size: CH

Connector Part Information

  • OEM: 15356724
  • Service: 15306418
  • Description: 2-Way F GT 150 Series (YE)

Electronic Frontal Sensor (EFS) - Right

Pin

Wire Color

Circuit No.

Function

A

D-GN

1409

Discriminating Sensor - Right - Signal

B

YE

1834

Forward Discriminating Sensor Signal

Inflatable Restraint I/P Module


Object Number: 684931  Size: CH

Connector Part Information

  • OEM: 15336476
  • Service: 15306363
  • Description: 4-Way M Metri-Pack 280 Series (YE)

Inflatable Restraint I/P Module

Pin

Wire Color

Circuit No.

Function

A1

YE

3025

I/P Module Stage 1 - High Control

A2

OG

3024

I/P Module Stage 1 - Low Control

B1

GY

3027

I/P Module Stage 2 - High Control

B2

PU

3026

I/P Module Stage 2 - Low Control

Inflatable Restraint I/P Module Disable Switch


Object Number: 362753  Size: CH

Connector Part Information

  • OEM: 15305286
  • Service: 15306014
  • Description: 6-Way F Metri-Pack 150 Series (YE)

Inflatable Restraint I/P Module Disable Switch

Pin

Wire Color

Circuit No.

Function

A

TN/BK

371

I/P Module Disable Switch - Signal

B

YE

1139

Ignition 1 Voltage

C

BN

2309

Front Park Lamps Supply Voltage

D

--

--

Not Used

E

L-BU

1803

I/P Module Suppression Indicator - Supply

F

BK/WH

751

Ground

Inflatable Restraint Passenger Air Bag ON/OFF Indicator


Object Number: 1538776  Size: CH

Connector Part Information

  • OEM: 15398877
  • Service: See Catalog
  • Description: 5-Way F HCM (WH)

Inflatable Restraint Passenger Air Bag ON/OFF Indicator

Pin

Wire Color

Circuit No.

Function

1-2

--

--

Not Used

3

PK

353

I/P Module Suppression Indicator Control

5

L-BU

1803

I/P Module Suppression Indicator - Supply

Inflatable Restraint Seat Position Sensor (SPS) - Left


Object Number: 280768  Size: CH

Connector Part Information

  • OEM: 12052832
  • Service: 12101825
  • Description: 2-Way F Metri-Pack 150 Series (BK)

Inflatable Restraint Seat Position Sensor (SPS) - Left

Pin

Wire Color

Circuit No.

Function

A

L-GN

932

Seat Position Sensor - Left - Signal

B

D-GN

933

Seat Position Switch - Low Reference

Inflatable Restraint Seat Position Sensor (SPS) - Right


Object Number: 280768  Size: CH

Connector Part Information

  • OEM: 12052832
  • Service: 12101825
  • Description: 2-Way F Metri-Pack 150 Series (BK)

Inflatable Restraint Seat Position Sensor (SPS) - Right

Pin

Wire Color

Circuit No.

Function

A

D-GN

934

Seat Position Sensor - Right - Signal

B

L-GN

933

Seat Position Switch - Low Reference

Inflatable Restraint Sensing and Diagnostic Module (SDM)


Object Number: 1283879  Size: CH

Connector Part Information

  • OEM: 15453751
  • Service: 88986456
  • Description: 42-Way F Micro-Pack 100W Series (YE-Body/RD-TPA)

Inflatable Restraint Sensing and Diagnostic Module (SDM)

Pin

Wire Color

Circuit No.

Function

1

YE

1139

Ignition 1 Voltage

2

TN/BK

371

I/P Module Disable Switch - Signal

3

BK/WH

238

Seat Belt Switch - Left

4

PK

353

I/P Module Suppression Indicator Control

5

GY

349

Discriminating Sensor - Left - Signal

6

YE

1834

Forward Discriminating Sensor Signal

7

YE

2161

Side Impact Sensor - Left - Voltage

8

TN

2163

Side Impact Sensor - Right - Voltage

9

YE

3025

I/P Module - Stage 1 - High Control

10

OG

3024

I/P Module - Stage 1 - Low Control

11

D-BU

1363

Seat Position Switch - Low Reference

12

BN

3020

Steering Wheel Module - Stage 1 - Low Control

13

TN

3021

Steering Wheel Module - Stage 1 - High Control

14

GY

2103

Side Impact Module - Right - High Control

15

D-BU

2104

Side Impact Module - Right - Low Control

16

BN

2106

Side Impact Module - Left - Low Control

17

D-GN

2105

Side Impact Module - Left - High Control

18-21

--

--

Not Used

22

D-BU

1128

Class 2 Serial Data

23

D-BU

1128

Class 2 Serial Data

24

L-GN

5055

Seat Position Sensor - Left - Signal

25

L-BU

5056

Seat Position Sensor - Right - Signal

26

YE

354

Discriminating Sensor - Signal

27

D-GN

1409

Discriminating Sensor - Right - Signal

28

WH

2162

Side Impact Sensor - Left - Signal

29

D-GN

2164

Side Impact Sensor - Right - Signal

30

GY

3027

I/P Module - Stage 2 - High Control

31

PU

3026

I/P Module - Stage 2 - Low Control

32

BK/WH

751

Ground

33

PK

3022

Steering Wheel Module - Stage 2 - Low Control

34

WH

3023

Steering Wheel Module - Stage 2 - High Control

35

L-GN

2116

Seat Belt Pretensioner - Right - High Control

36

OG

2117

Seat Belt Pretensioner - Right - Low Control

37

OG/BK

2119

Seat Belt Pretensioner - Left - Low Control

38

BK/WH

2118

Seat Belt Pretensioner - Left - High Control

39-42

--

--

Not Used

Inflatable Restraint Side Impact Module - Left


Object Number: 130685  Size: CH

Connector Part Information

  • OEM: 12110288
  • Service: See Catalog
  • Description: 2-Way F Metri-Pack 280 Series (YE)

Inflatable Restraint Side Impact Module - Left

Pin

Wire Color

Circuit No.

Function

A

D-GN

2105

Side Impact Module - Left - High Control

B

BN

2106

Side Impact Module - Left - Low Control

Inflatable Restraint Side Impact Module - Right


Object Number: 130685  Size: CH

Connector Part Information

  • OEM: 12110288
  • Service: See Catalog
  • Description: 2-Way M Metri-Pack 280 Series (YE)

Inflatable Restraint Side Impact Module - Right

Pin

Wire Color

Circuit No.

Function

A

GY

2103

Side Impact Module - Right - High Control

B

D-BU

2104

Side Impact Module - Right - Low Control

Inflatable Restraint Side Impact Sensor (SIS) - Left


Object Number: 744055  Size: CH

Connector Part Information

  • OEM: 15356725
  • Service: 88986455
  • Description: 2-Way F GT 150 Series Sealed 4.0 (YE)

Inflatable Restraint Side Impact Sensor (SIS) - Left

Pin

Wire Color

Circuit No.

Function

A

WH

2162

Side Impact Sensor - Left - Signal

B

YE

2161

Side Impact Sensor - Left - Voltage

Inflatable Restraint Side Impact Sensor (SIS) - Right


Object Number: 744055  Size: CH

Connector Part Information

  • OEM: 15356725
  • Service: 88986455
  • Description: 2-Way F GT 150 Series Sealed 4.0 (YE)

Inflatable Restraint Side Impact Sensor (SIS) - Right

Pin

Wire Color

Circuit No.

Function

A

D-GN

2164

Side Impact Sensor - Right - Signal

B

TN

2163

Side Impact Sensor - Right - Voltage

Inflatable Restraint Steering Wheel Module - C1


Object Number: 966373  Size: CH

Connector Part Information

  • OEM: 54560208
  • Service: See Catalog
  • Description: 2-Way F ABX-3 Code B (YE-Body/WH-TPA)

Inflatable Restraint Steering Wheel Module - C1

Pin

Wire Color

Circuit No.

Function

A

TN

3021

Steering Wheel Module - Stage 1 - High Control

B

BN

3020

Steering Wheel Module - Stage 1 - Low Control

Inflatable Restraint Steering Wheel Module - C2


Object Number: 966368  Size: CH

Connector Part Information

  • OEM: 54550271
  • Service: See Catalog
  • Description: 2-Way F ABX-3 Code G (YE-Body/PK-TPA)

Inflatable Restraint Steering Wheel Module - C2

Pin

Wire Color

Circuit No.

Function

A

WH

3023

Steering Wheel Module - Stage 2 - High Control

B

PK

3022

Steering Wheel Module - Stage 2 - Low Control

Seat Belt Pretensioner - Left


Object Number: 1333959  Size: CH

Connector Part Information

  • OEM: 12191468
  • Service: 15305950
  • Description: 2-Way F Metri-Pack 150 Series Sealed (YE)

Seat Belt Pretensioner - Left

Pin

Wire Color

Circuit No.

Function

A

OG/BK

2119

Seat Belt Pretensioner - Left - Low Control

B

BK/WH

2118

Seat Belt Pretensioner - Left - High Control

Seat Belt Pretensioner - Right


Object Number: 1333959  Size: CH

Connector Part Information

  • OEM: 12191468
  • Service: 15305950
  • Description: 2-Way F Metri-Pack 150 Series Sealed (YE)

Seat Belt Pretensioner - Right

Pin

Wire Color

Circuit No.

Function

A

L-GN

2116

Pretensioner Seat Belt - Right - High Control

B

OG

2117

Pretensioner Seat Belt - Right - Low Control