GM Service Manual Online
For 1990-2009 cars only

Object Number: 1540776  Size: MF
Master Electrical Component List
Automatic Transmission Controls Schematics
OBD II Symbol Description Notice
Control Module References

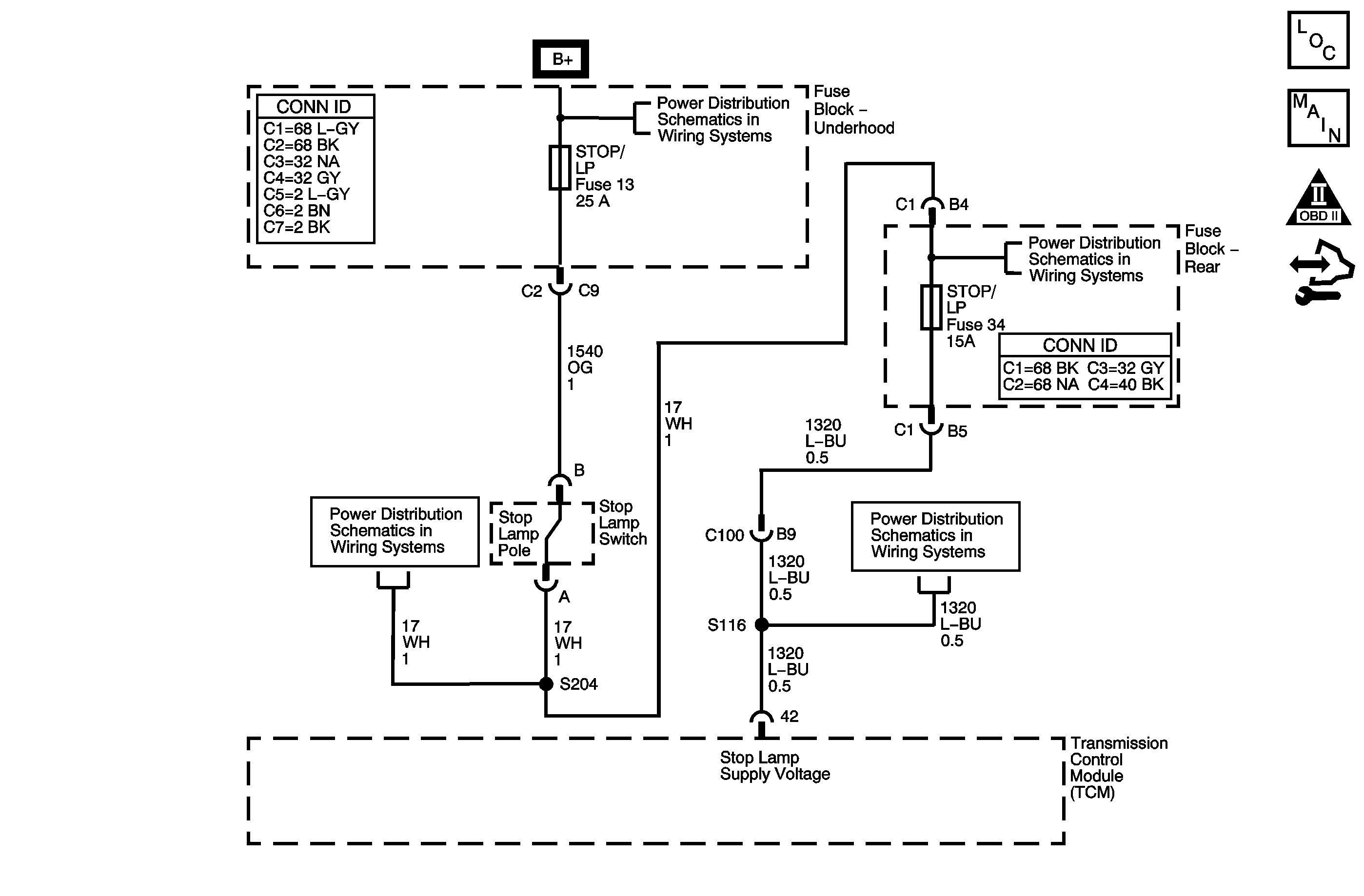
Circuit Description

The stop lamp switch indicates the brake pedal status to the transmission control module (TCM). The brake switch is a normally-closed switch that supplies battery voltage on the stop lamp supply voltage circuit to the TCM. Applying the brake opens the stop lamp switch, interrupting voltage to the TCM. When the brake is released, the TCM receives a constant voltage signal input. If the TCM receives a zero voltage signal input at the stop lamp supply voltage circuit, and the torque converter clutch (TCC) is engaged, the TCM de-energizes the TCC solenoid valve. The TCM disregards the brake switch input for TCC scheduling if there is a brake switch circuit fault.

When the TCM detects an open brake switch circuit, 0-volts, low input, during accelerations, then DTC P0719 sets. DTC P0719 is a type C DTC.

DTC Descriptor

This diagnostic procedure supports the following DTC:

DTC P0719 Brake Switch Circuit Low Voltage

Conditions for Running the DTC

    • No OSS DTCs P0722 or P0723.
    • Brake Switch DTC P0724 has not passed.
    • The TCM detects the brake switch is applied for 900 seconds.
    • The vehicle speed is less than 8 km/h (5 mph) for greater than 6 seconds, then greater than 40 km/h (25 mph) for 7 seconds.
    • Continuously 8 times once the previous criteria have been met.

Conditions for Setting the DTC

The TCM detects an open or short to ground on the stop lamp switch signal circuit when the circuit should be high, B+.

Action Taken When the DTC Sets

    • The TCM does not request the engine control module (ECM) to illuminate the malfunction indicator lamp (MIL).
    • The TCM records the operating conditions when the Conditions for Setting the DTC are met. The TCM records this information as a Failure Record.
    • The TCM stores DTC P0719 in TCM history.

Conditions for Clearing the DTC

    • The TCM clears the DTC from TCM history if the vehicle completes 40 warm-up cycles without a non-emission related diagnostic fault occurring.
    • A scan tool can clear the DTC.

Diagnostic Aids

    • Inspect the brake switch for proper mounting and operation.
    • Inspect for ABS DTCs. A faulty ABS condition may contribute to setting DTC P0719.

Test Description

The numbers below refer to the step numbers on the diagnostic table.

  1. This step isolates the brake switch as a source for setting the DTC.

DTC P0719

Step

Action

Yes

No

1

Did you perform the Diagnostic System Check - Vehicle?

Go to Step 2

Go to Diagnostic System Check - Vehicle

2

  1. Install a scan tool.
  2. Turn ON the ignition, with the engine OFF.
  3. Important: Before clearing the DTC, use the scan tool in order to record the Failure Records. Using the Clear Info function erases the Failure Records from the transmission control module (TCM).

  4. Record the DTC Failure Records.
  5. Clear the DTC.
  6. Select TCC Brake Switch on the scan tool.
  7. Caution: Refer to SIR Caution in the Preface section.

  8. Disconnect the brake switch connector from the brake switch.
  9. Connect a test lamp from the ignition voltage supply circuit of the brake switch connector to ground.

Does the test lamp illuminate?

Go to Step 3

Go to Step 4

3

Connect a fused jumper wire between the ignition voltage supply and signal circuits of the stop lamp switch connector.

Did the TCC Brake Switch status on the scan tool change from Open to Closed?

Go to Step 7

Go to Step 9

4

Inspect the ignition voltage supply fuse for an open.

Refer to Circuit Protection - Fuses .

Is the fuse open?

Go to Step 5

Go to Step 8

5

Important: The condition that affects this circuit may exist in other connecting branches of the circuit. Refer to Power Distribution Schematics for complete circuit distribution.

Test the ignition voltage circuit of the brake switch for a short to ground.

Refer to Testing for Short to Ground and Wiring Repairs .

Did you find and correct the condition?

Go to Step 11

Go to Step 6

6

Important: The condition that affects this circuit may exist in other connecting branches of the circuit. Refer to Power Distribution Schematics for complete circuit distribution.

Test the signal circuit of the brake switch for a short to ground.

Refer to Testing for Short to Ground and Wiring Repairs .

Did you find and correct the condition?

Go to Step 11

Go to Step 10

7

Replace the brake switch.

Refer to Stop Lamp Switch Replacement .

Did you complete the replacement?

Go to Step 11

--

8

Important: The condition that affects this circuit may exist in other connecting branches of the circuit. Refer to Power Distribution Schematics for complete circuit distribution.

Test the ignition voltage circuit of the brake switch for an open.

Refer to Testing for Continuity and Wiring Repairs .

Did you find and correct the condition?

Go to Step 11

--

9

Important: The condition that affects this circuit may exist in other connecting branches of the circuit. Refer to Power Distribution Schematics for complete circuit distribution.

Test the signal circuit of the brake switch for an open high resistance or short to ground.

Refer to Testing for Continuity and Wiring Repairs .

Did you find and correct the condition?

Go to Step 11

Go to Step 10

10

Replace the TCM.

Refer to Control Module References for replacement, setup, and programming.

Did you complete the replacement?

Go to Step 11

--

11

Perform the following procedure in order to verify the repair:

  1. Select DTC.
  2. Select Clear Info.
  3. Turn ON the ignition, with the engine OFF.
  4. Apply and release the brake pedal.
  5. Verify that the scan tool TCC Brake Switch status indicates Closed, 12 volts, for 2 seconds.
  6. Select Specific DTC.
  7. Enter DTC P0719.

Has the test run and passed?

Go to Step 12

Go to Step 2

12

With the scan tool, observe the stored information, capture info, and DTC Info.

Does the scan tool display any DTCs that you have not diagnosed?

Go to Diagnostic Trouble Code (DTC) List - Vehicle

System OK