GM Service Manual Online
For 1990-2009 cars only

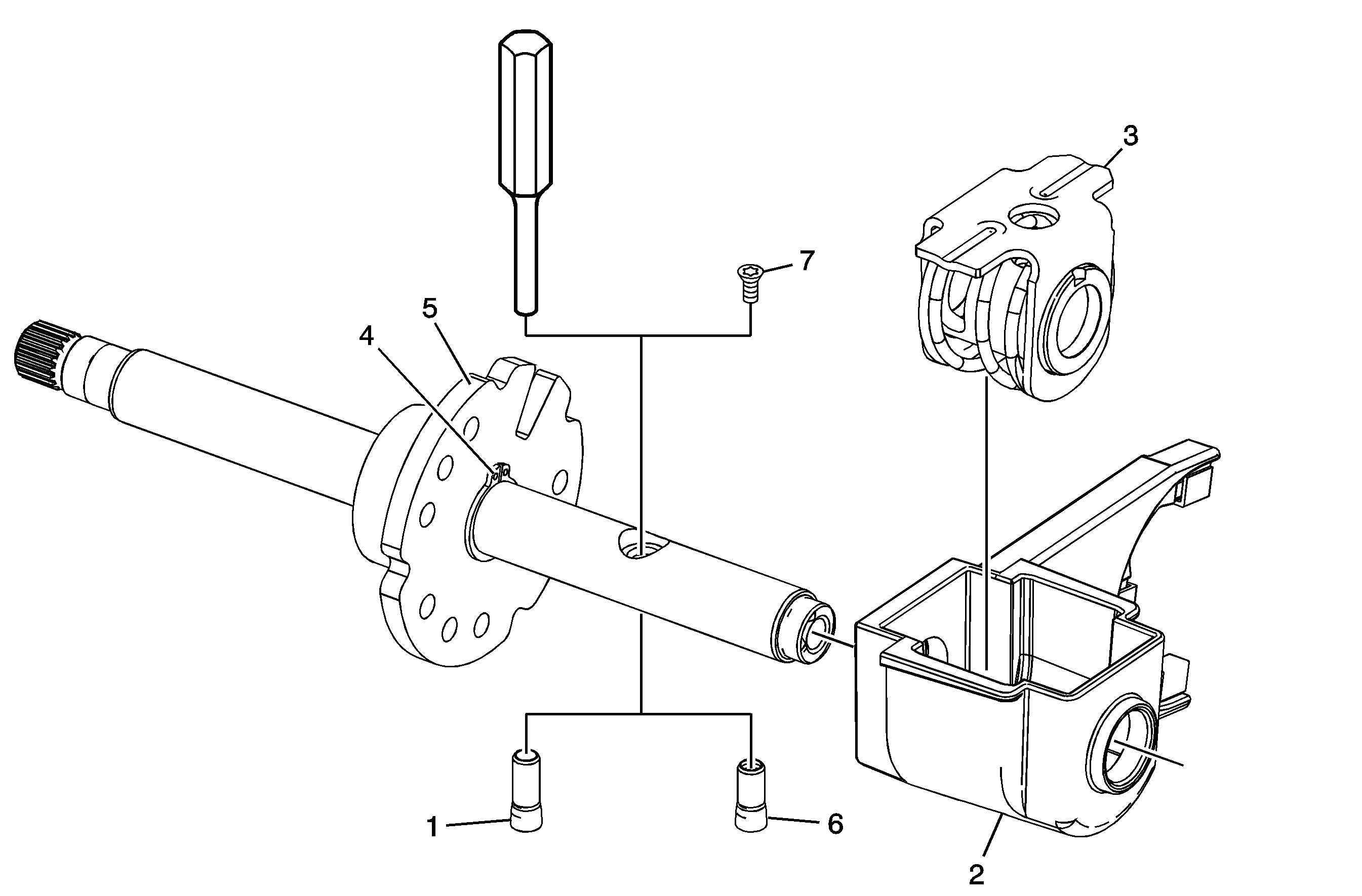
Object Number: 1846041  Size: MF

Callout

Component Name

1

Transfer Case High/Low Shift Fork Pin

Tip
Drive the pin out using a drift punch and a hammer.

2

Transfer Case High/Low Shift Fork

Tip
Inspect for wear or damage in the spring seat locations. The component must be replaced if damage is found.

3

Transfer Case High/Low Shift Fork Spring Assembly

Tip
The component must be replaced if the following conditions exist:

    • The cam lobes are worn or rough.
    • The spring is broken.

4

Transfer Case Two/Four Wheel Drive Actuator Cam Retaining Ring

5

Transfer Case Two/Four Wheel Drive Actuator Cam

6

Transfer Case High/Low Shift Fork - Service - Pin

Tip

    • Apply a small amount of threadlock GM P/N 12345493 (Canadian P/N 10953488) or equivalent to the shaft of the pin before installation.
    • Press the pin into the control actuator shaft using a brass drift until it bottoms.

7

Transfer Case Shift Fork Shaft Guide Screw

Tip
Apply threadlock GM P/N 12345493 (Canadian P/N 10953488) or equivalent to the screw threads.

Tighten
5 N·m (44 lb in)