GM Service Manual Online
For 1990-2009 cars only

Trailer Hitch Replacement Light Duty

Removal Procedure


    Object Number: 1987436  Size: SH
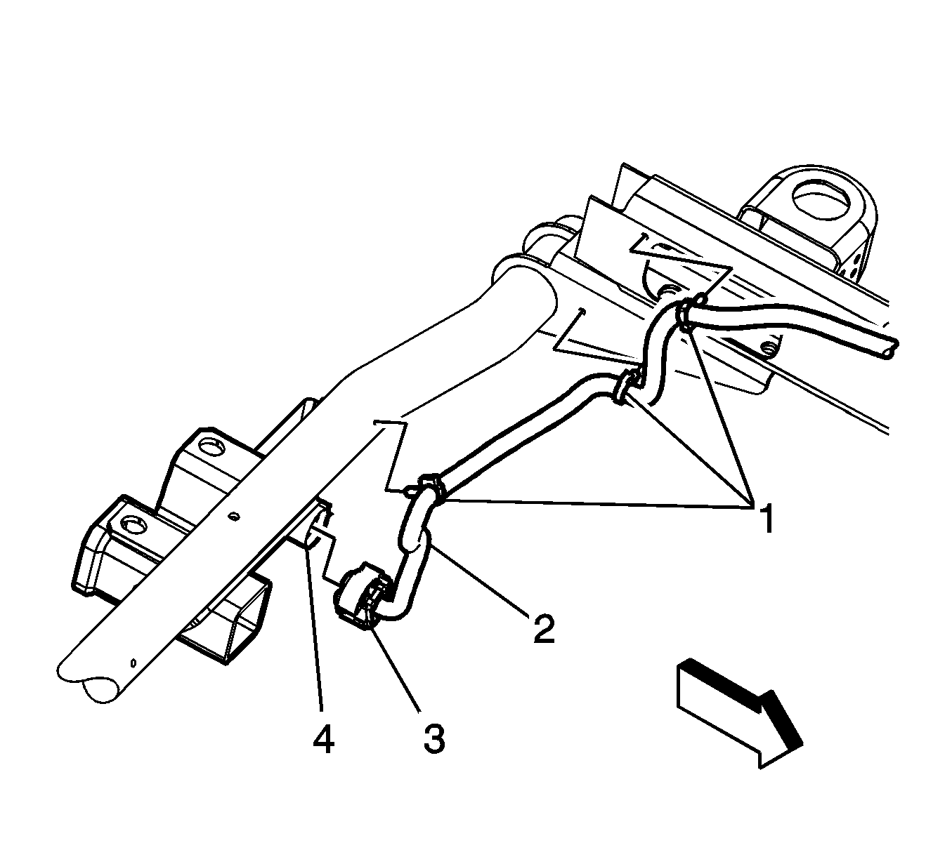
  1. Disconnect the trailer wiring harness connector (3) from the trailer wiring recepticle (4).
  2. Remove the retainers (1) securing the trailer wiring harness (2) to the hitch platform.

  3. Object Number: 1987435  Size: SH
  4. Remove the hitch platform bolts (5) from the bumper weld nuts (4).
  5. Remove the nuts (7) and bolts (1) securing the hitch platform to the frame rails.
  6. Remove the hitch platform bolts (6) from the frame weld nuts (2).
  7. Remove the hitch platform from the vehicle.

Installation Procedure


    Object Number: 1987435  Size: SH
  1. Position the hitch platform to the vehicle.
  2. Notice: Refer to Fastener Notice in the Preface section.

  3. Install the hitch platform bolts (6) to the frame weld nuts (2).
  4. Tighten
    Tighten the bolts to 100 N·m (74 lb ft).

  5. Install the bolts (1) and nuts (7) securing the hitch platform to the frame rails.
  6. Tighten
    Tighten the nuts to 113 N·m (83 lb ft).

  7. Install the hitch platform bolts (5) to the bumper weld nuts (4).
  8. Tighten
    Tighten the bolts to 100 N·m (74 lb ft).


    Object Number: 1987436  Size: SH
  9. Install the retainers (1) securing the trailer wiring harness (2) to the hitch platform.
  10. Connect the trailer wiring harness connector (3) to the trailer wiring recepticle (4).

Trailer Hitch Replacement Heavy Duty

Removal Procedure


    Object Number: 1987431  Size: SH
  1. Remove the hitch platform bolts (5) from the bumper weld nuts (4).
  2. Remove the nuts (7) and bolts (1) securing the hitch platform to the frame rails.
  3. Remove the hitch platform bolts (6) from the frame weld nuts (2).
  4. Remove the hitch platform from the vehicle.

Installation Procedure


    Object Number: 1987431  Size: SH
  1. Position the hitch platform to the vehicle.
  2. Notice: Refer to Fastener Notice in the Preface section.

  3. Install the hitch platform bolts (6) to the frame weld nuts (2).
  4. Tighten
    Tighten the bolts to 100 N·m (74 lb ft).

  5. Install the bolts (1) and nuts (7) securing the hitch platform to the frame rails.
  6. Tighten
    Tighten the nuts to 113 N·m (83 lb ft).

  7. Install the hitch platform bolts (5) to the bumper weld nuts (4).
  8. Tighten
    Tighten the bolts to 100 N·m (74 lb ft).