GM Service Manual Online
For 1990-2009 cars only
Figure 1:

Front of Roof Components (U01)


Object Number: 1858049  Size: LF
(1)Roof Marker Lamp - Right
(2)Roof Marker Lamp - Middle
(3)Roof Marker Lamp - Left
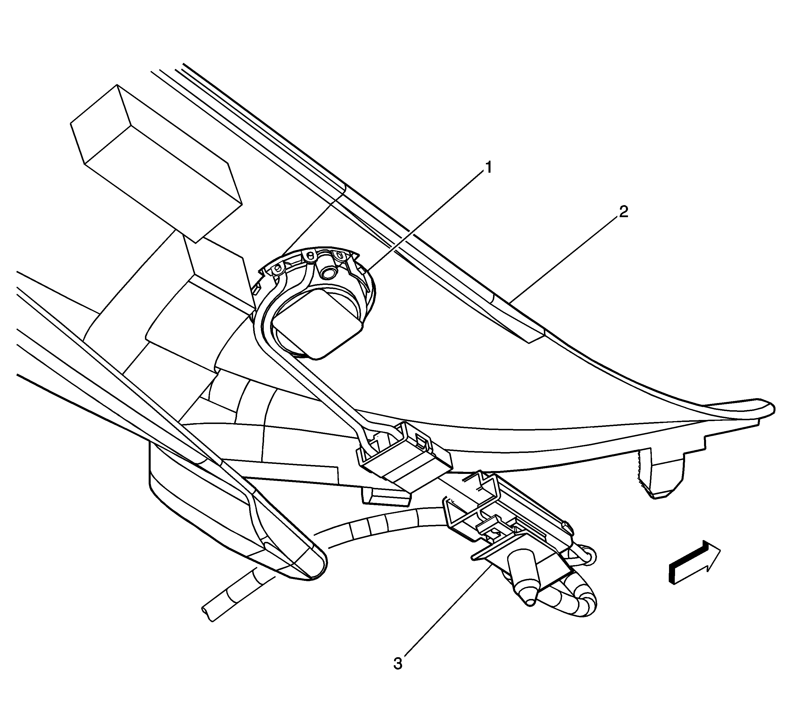
(4)Windshield
Figure 2:

Front of Roof Components (UE1)


Object Number: 1739414  Size: LF
(1)Windshield
(2)Cellular, Navigation, and Digital Radio Antenna
Figure 3:

Top of Roof Components (CF5)


Object Number: 1860649  Size: LF
(1)Sunroof Control Module
(2)Left Outer Frame Panel
Figure 4:

Overhead Console Components


Object Number: 1890108  Size: LF
(1)X304 (except MEX)
(2)Inflatable Restraint Passenger Air Bag On/Off Indicator (AL0/C99 except MEX)
(3)Cellular Telephone Microphone (UE1/U3U/UVB)
(4)Roof Beacon Switch (5X7/5Y0/TRW)
(5)Sliding Rear Window Switch (A48)
(6)Dome/Reading Lamps - Front
(7)J322 (TRW/UG1/A48)
(8)J323
(9)X313 (CF5/TRW/5X7/5Y0)
(10)Blunt Cut - Roof Mounted Beacon Provision (TRW)
(11)Roof Beacon Relay (TRW)
Figure 5:

Overhead Console and Headliner Components (U42/5Y0)


Object Number: 1934348  Size: LF
(1)Roof Beacon Switch (5Y0)
(2)Video Display (U42)
(3)Infared Transmitter (U42)
(4)Blunt Cut - Emergency Vehicle Provision (5Y0)
(5)Emergency Vehicle Roof Lamp Relay (5Y0)
Figure 6:

Front Headliner Components - 1 of 2


Object Number: 1860657  Size: LF
(1)Sunroof
(2)Sunshade - Right
(3)Windshield Outside Moisture Sensor (CE1)
(4)Inside Rearview Mirror (ISRVM) Window Anchor
Figure 7:

Front Headliner Components - 2 of 2


Object Number: 1855919  Size: LF
(1)Inside Air Temperature Sensor (CJ2)
(2)Cellular Telephone Microphone (UE1/U3U/UVB)
(3)Dome/Reading Lamps - Rear (Extended Cab/Crew Cab)
(4)Sunroof Switch (CF5)
(5)Sunshade - Right (DH6)
(6)Garage Door Opener (UG1)
(7)Onstar Button Assembly (UE1)
(8)Inside Rearview Mirror (ISRVM)
(9)Dome/Reading Lamps - Front
(10)Windshield
(11)Sunshade - Left (DH6)
Figure 8:

Left A-Pillar Components (UQ3/UQA)


Object Number: 851254  Size: LF
(1)Left A-Pillar Trim Panel
(2)Speaker - Left Front Tweeter (except MEX)
(3)Speaker - Left Front Tweeter Connector (except MEX)
Figure 9:

Right A-Pillar Components (UQ3/UQA)


Object Number: 1970093  Size: LF
(1)Speaker - Right Front Tweeter (except MEX)
(2)Right A-Pillar Trim
(3)Speaker - Left Front Tweeter Connector (except MEX)
Figure 10:

Top of the Headliner Components (Regular Cab)


Object Number: 2178124  Size: LF
(1)Electronic Compass Module (YE9)
Figure 11:

Top of the Headliner Components (Extended Cab)


Object Number: 2178136  Size: LF
(1)Dome/Reading Lamps - Rear
(2)Electronic Compass Module (YE9)
(3)Inside Air Temperature Sensor (CJ2)
Figure 12:

Top of the Headliner Components (Crew Cab)


Object Number: 2178182  Size: LF
(1)Dome/Reading Lamp - Rear
(2)Electronic Compass Module (YE9 with CF5)
(3)Electronic Compass Module (YE9 except CF5)
(4)Inside Air Temperature Sensor (CJ2)
Figure 13:

Below the Left of the I/P Components - 1 of 2


Object Number: 1860661  Size: LF
(1)Park Brake Release
(2)Park Brake Switch
(3)Dash Panel
(4)Park Brake Lever
Figure 14:

Below the Left of the I/P Components - 2 of 2


Object Number: 1739407  Size: LF
(1)Electronic Adjustable Pedal (EAP) Assembly (JF4)
(2)Stop Lamp Switch
(3)Accelerator Pedal Position (APP) Sensor
Figure 15:

Passenger Compartment Components - 1 of 2 (Regular Cab)


Object Number: 1855921  Size: LF
(1)Rear Window
(2)Speaker - Left Rear
(3)Driver Door Trim
(4)Speaker - Left Front
(5)Speaker - Center I/P (UQA with Y91)
(6)Speaker - Subwoofer (UQA)
(7)Speaker - Right Front
(8)Speaker - Right Rear
Figure 16:

Passenger Compartment Components - 2 of 2 (Regular Cab)


Object Number: 1855932  Size: LF
(1)Inflatable Restraint Roof Rail Module - Driver (ASF)
(2)Inflatable Restraint Roof Rail Module - Passenger (ASF)
(3)Floor Panel
Figure 17:

Left Side of the Passenger Compartment Components (Extended/Crew Cab)


Object Number: 2164235  Size: LF
(1)Inflatable Restraint Roof Rail Module - Driver (ASF
(2)Rear Window Defogger Grid (C49)
(3)Seat Belt Pretensioner - Driver
Figure 18:

Right side of the Passenger Compartment Components (Extended/Crew Cab)


Object Number: 2166027  Size: LF
(1)Inflatable Restraint Roof Rail Module - Passenger (ASF)
(2)Data Link Resistor 2 (HP2)
(3)Seat Belt Pretensioner - Passenger
Figure 19:

Driver Seat Components - 1 of 2


Object Number: 1913810  Size: LF
(1)Seat Recline Motor - Driver (AN3)
(2)Seat Lumbar Vertical Motor Position Sensor - Driver (AN3)
(3)Seat Lumbar Vertical Motor - Driver (AN3)
(4)X324 (AN3)
(5)Seat Lumbar Horizontal Motor - Driver (AN3)
(6)Seat Lumbar Horizontal Motor Position Sensor - Driver (AN3)
(7)Seat Recline Position Sensor - Driver (AN3)
(8)Seat Lumbar Switch - Driver (AN3)
(9)Seat Adjuster Switch - Driver (AG1)
(10)Memory Seat Module (MSM) (AN3)
(11)Inflatable Restraint Seat Position Sensor - Driver (10 Series except MEX)
(12)Seat Adjuster Motor Assembly - Driver (AG1)
(13)Seat Belt Buckle - Driver
Figure 20:

Driver Seat Components - 2 of 2


Object Number: 1859595  Size: LF
(1)Heated Seat Element - Driver Back (AN3)
(2)Heated Seat Element - Driver Cushion (AN3)
Figure 21:

Center Seat Components (AZ3)


Object Number: 1934344  Size: LF
(1)Accessory Power Outlet - Center Seat
Figure 22:

Passenger Seat Components - 1 of 2


Object Number: 1913813  Size: LF
(1)Seat Frame
(2)X325 (AN3)
(3)Seat Lumbar Vertical Motor - Passenger (AN3)
(4)Seat Adjuster Switch - Passenger (AG2)
(5)Seat Lumbar Switch - Passenger (AN3)
(6)Seat Belt Buckle - Passenger (10 Series)
(7)Inflatable Restraint Passenger Presence System (PPS) Module (AL0)
(8)Seat Adjuster Motor Assembly - Passenger (AG2)
(9)Inflatable Restraint Passenger Presence System (PPS) Sensor (AL0)
(10)Seat Recline Motor - Passenger (AN3)
(11)Seat Lumbar Horizontal Motor - Passenger (AN3)
Figure 23:

Passenger Seat Components - 2 of 2


Object Number: 1859596  Size: LF
(1)Heated Seat Element - Passenger Back (AN3)
(2)Heated Seat Element - Passenger Cushion (AN3)
Figure 24:

Under the Front Seats Components


Object Number: 1860645  Size: LF
(1)Yaw and Lateral Accelerometer Sensor (JL4/HP2)
(2)Inflatable Restraint Sensing and Diagnostic Module (SDM)
(3)Inflatable Restraint Vehicle Rollover Sensor (ASF)
(4)Shifter Housing
(5)Rear HVAC Outlet Duct
(6)Rear Object Sensor Control Module (UD7)
Figure 25:

Under the Rear Seat Components (HP2)


Object Number: 2160942  Size: LF
(1)Drive Motor Battery High Voltage Manual Disconnect Lever
(2)Rear Seat - Folded
(3)Drive Motor Generator Battery (HP2)
Figure 26:

Rear of the Passenger Compartment Components


Object Number: 2060324  Size: LF
(1)Information Center Telltale Assembly (UD7)
(2)Sliding Rear Window Open Relay (A48)
(3)Sliding Rear Window Close Relay (A48)
(4)Remote Control Door Lock Receiver (RCDLR) (AP3/AP8)
(5)Sliding Rear Window Motor (A48)
Figure 27:

Above the Rear Window Components


Object Number: 1855920  Size: LF
(1)Rear Window
(2)Center High Mounted Stop Lamp (CHMSL)