GM Service Manual Online
For 1990-2009 cars only

Caution: Storing a jack, a tire, or other equipment in the passenger compartment of the vehicle could cause injury. In a sudden stop or collision, loose equipment could strike someone. Store all these in the proper place.

Notice: Storing an aluminum wheel with a flat tire under your vehicle for an extended period of time or with the valve stem pointing up can damage the wheel. Always stow the wheel with the valve stem pointing down and have the wheel/tire repaired as soon as possible.

Store the tire under the rear of the vehicle in the spare tire carrier.


    Object Number: 1826567  Size: B4
  1. Flat or Spare Tire (Valve Stem Pointed Down)

  2. Hoist Assembly

  3. Hoist Cable

  4. Tire/Wheel Retainer

  5. Hoist Shaft

  6. Hoist End of Extension Tool

  7. Hoist Shaft Access Hole

  8. Wheel Wrench

  9. Jack Handle Extensions

  10. Spare Tire Lock (If Equipped)

  1. Put the tire on the ground at the rear of the vehicle with the valve stem pointed down, and to the rear.

  2. Object Number: 1907332  Size: B2

    Separate the tire/wheel retainer (D) from the guide pin. Pull the pin through the center of the wheel. Tilt the retainer down and through the center wheel opening.

    Make sure the retainer is fully seated across the underside of the wheel.


    Object Number: 805764  Size: B2
  3. Attach the wheel wrench (H) and extensions (I) together, as shown.

  4. Object Number: 805774  Size: A3

    Insert the hoist end (F) through the hole (G) in the rear bumper and onto the hoist shaft.

    Do not use the chiseled end of the wheel wrench.

  5. Raise the tire part way upward. Make sure the retainer is seated in the wheel opening.
  6. Raise the tire fully against the underside of the vehicle by turning the wheel wrench clockwise until you hear two clicks or feel it skip twice. You cannot overtighten the cable.

  7. Object Number: 809200  Size: B4
  8. Make sure the tire is stored securely. Push, pull (A), and then try to turn (B) the tire. If the tire moves, use the wheel wrench to tighten the cable.
  9. Reinstall the spare tire lock, if the vehicle has one.

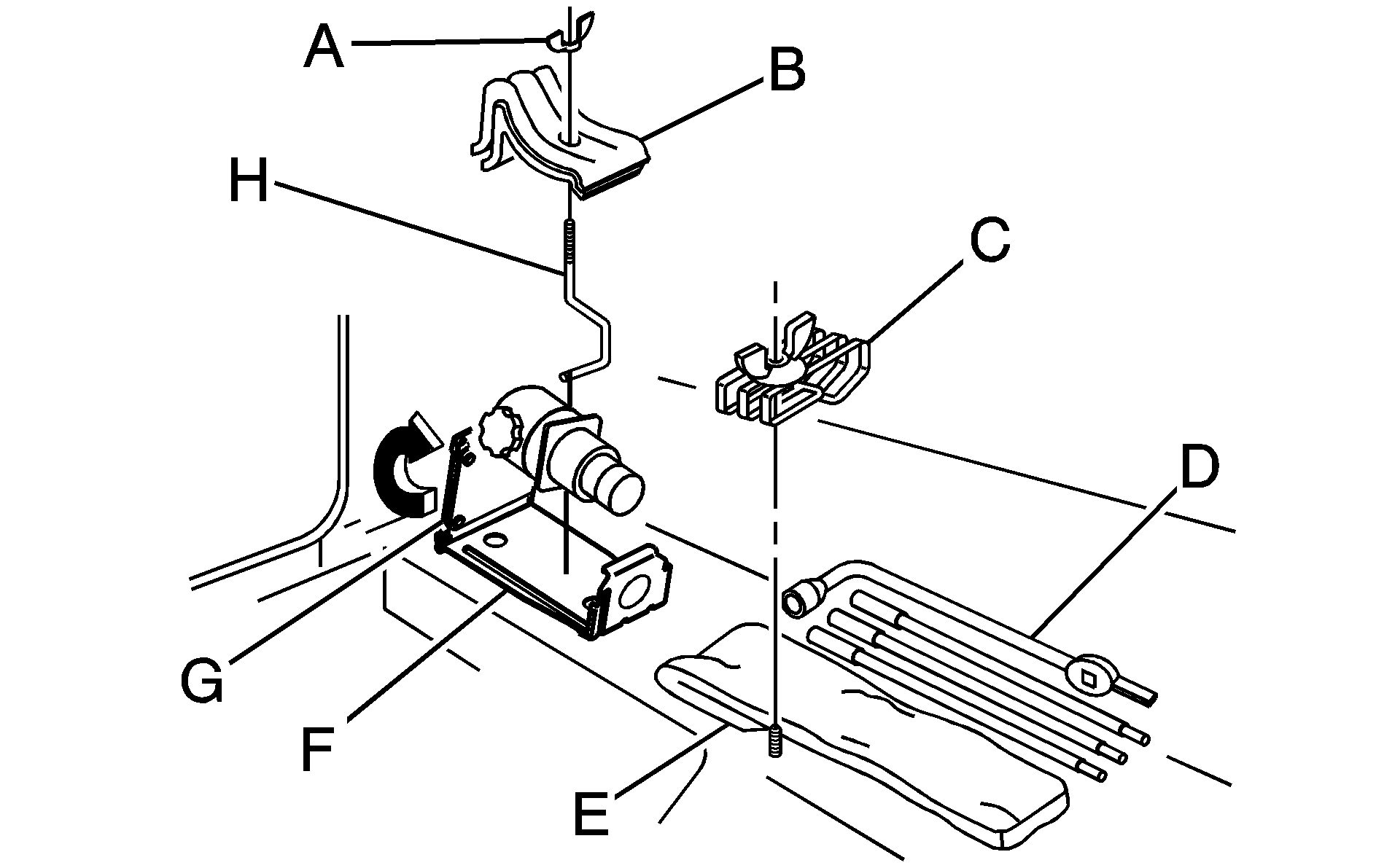
To store the jack and jack tools:


Object Number: 854554  Size: B3
  1. Wing Nut Retaining Wheel Blocks

  2. Wheel Blocks

  3. Wing Nut Retaining Tool Kit

  4. Wheel Wrench and Extensions

  5. Tool Bag

  6. Jack Mounting Bracket

  7. Jack

  8. Bolt Retaining Wheel Blocks

  1. Put the tools (D) in the tool bag (E) and place them in the retaining bracket (C).
  2. Tighten down the wing nut (C).
  3. Assemble the wheel blocks (B) and jack (G) together with the wing nut (A) and retaining bolt (H).
  4. Position the jack (G) in the mounting bracket (F). Position the holes in the base of the jack (G) onto the pin in the mounting bracket (F).
  5. Return them to their original location in the vehicle. For more information, refer to Removing the Spare Tire and Tools for more information.